
Esgang 1-D-27 is een adres in Oosterwolde, dat zich bevindt binnen de gemeentegrenzen van Oosterwolde en de grenzen van de provincie Friesland. Het perceel waarop het adres gelegen is heeft een oppervlakte van 2144 m². Het verblijfsobject is met 25 m² relatief klein. Het object is klein ten opzichte van de andere adressen in de straat. Het grootste verblijfsobject is 2334 m² groot en het kleinste is 19 m². Het pand waarin Esgang 1-D-27 ligt is gebouwd in het jaar 2022. Panden die gebouwd zijn na het jaar 1984 noemen we hier relatief nieuw. Het bouwjaar is oud vergeleken met dat van de andere panden in de straat. Het oudste bouwjaar is er 2011 en de nieuwste is 2025. De volgende gebruiksdoelen zijn geregistreerd voor dit adres: 'industriefunctie'.
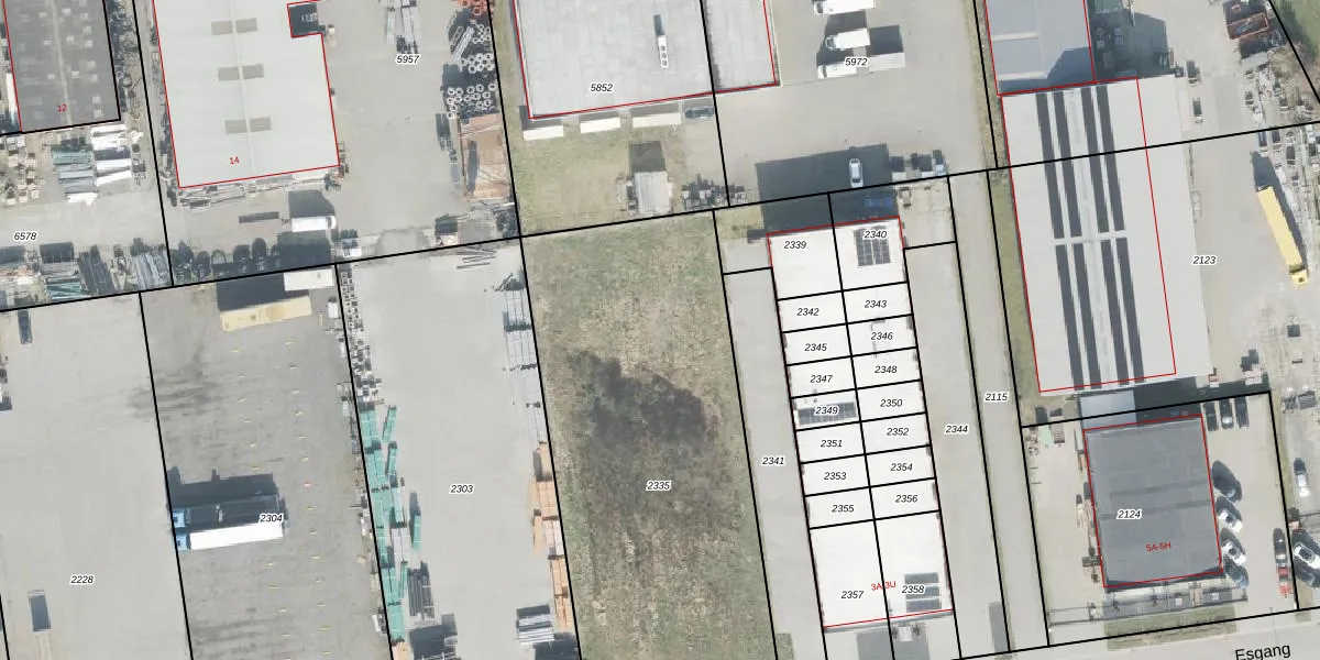
Het perceel waarop het adres ligt is OTW02-D-2335. De afkorting 'OTW02' staat voor kadastrale gemeente Oosterwolde. Het perceel is 2144 m² groot. Dat is kleiner dan de gemiddelde perceeloppervlakte in Oosterwolde, dat op 7587,42 m² ligt. Het kleinste perceel in de kadastrale gemeente is 0 m² groot. De grootste perceeloppervlakte is 93,2 ha. Er zijn 42 adressen aanwezig op het perceel. De huidige grenzen van het perceel zijn digitaal in de Basisregistratie Kadaster (BRK) geregistreerd op 31-08-2021.
Er is geen energielabel geregistreerd voor het adres. Het hoogste energielabel in de straat is A+; het laagste is G. Het gemiddelde energielabel is er A+. Het adres Esgang 1-D-27 heeft als status: 'verblijfsobject gevormd'. Het pand waarin dit adres ligt heeft als status: 'bouwvergunning verleend'.
Esgang 1-D-27 is een adres gelegen in de gemeente Ooststellingwerf, provincie Friesland. Dit adres is geregistreerd in de Basisregistratie Adressen en Gebouwen (BAG) met als unieke identificatie 0085010000054407.
Het pand op Esgang 1-D-27 is gebouwd in 2022, wat betekent dat het 4 jaar oud is. Dit is een vrij nieuw pand. Het pand is dus waarschijnlijk goed geïsoleerd, geluidsdicht en voldoet aan de huidige bouwstandaarden. Op korte termijn zijn er waarschijnlijk weinig onderhoudskosten.
De woning op Esgang 1-D-27 heeft een gebruiksoppervlakte van 25 m². Dit is relatief klein vergeleken met de gemiddelde Nederlandse woning, die een oppervlakte heeft van ongeveer 119 m². De gebruiksoppervlakte is de maat die wordt gebruikt in de BAG-registratie, de landelijke registratie van de Nederlandse overheid.
Esgang 1-D-27 heeft als functie: industrie. Deze gebruiksfunctie(s) zijn vastgelegd in de BAG-registratie en geven aan waarvoor het adres officieel mag worden gebruikt.
Esgang 1-D-27 is gelegen op kadastraal perceel OTW02D2335. Deze kadastrale aanduiding is uniek en wordt gebruikt door het Kadaster om eigendomsrechten en andere zakelijke rechten vast te leggen. Het perceel maakt onderdeel uit van de kadastrale gemeente Oosterwolde.
Het perceel waarop Esgang 1-D-27 staat heeft een oppervlakte van 2144 m². Dit is een zeer groot perceel. De perceeloppervlakte wordt geregistreerd door het Kadaster. Gedetailleerde informatie over de maten van dit perceel kunt u vinden in het rapport Kadastrale kaart met maatvoering van Esgang 1-D-27.
De eigenaar van Esgang 1-D-27 is op te vragen op deze pagina.
De informatie over dit adres is afkomstig uit officiële overheidsregistraties, voornamelijk de Basisregistratie Adressen en Gebouwen (BAG) en de Basisregistratie Kadaster (BRK). Deze gegevens worden beheerd door respectievelijk gemeenten en het Kadaster, en worden regelmatig bijgewerkt. Energielabelgegevens komen uit de database van de Rijksdienst voor Ondernemend Nederland (RVO).
