
Venekoterweg 54 is gelegen in de plaats Oosterwolde, de gemeente Ooststellingwerf en de provincie Friesland. Het perceel waarop het verblijfsobject staat is 5050 m² groot. De oppervlakte van het adres is 150 m², wat zich rond het Nederlandse gemiddelde van 119 m² bevindt. Het adres is klein vergeleken met andere objecten in de straat. Het grootste object in de straat heeft een oppervlakte van 6051 m², het kleinste is 2 m² groot. Het pand waarin Venekoterweg 54 ligt is gebouwd in het jaar 1999. Panden die gebouwd zijn na het jaar 1984 noemen we hier relatief nieuw. In de straat komt het nieuwste gebouw uit het jaar 2023 en het oudste uit 1965. Het bouwjaar van dit object is relatief oud. Het verblijfsobject heeft de volgende gebruiksdoelen: 'kantoorfunctie'.
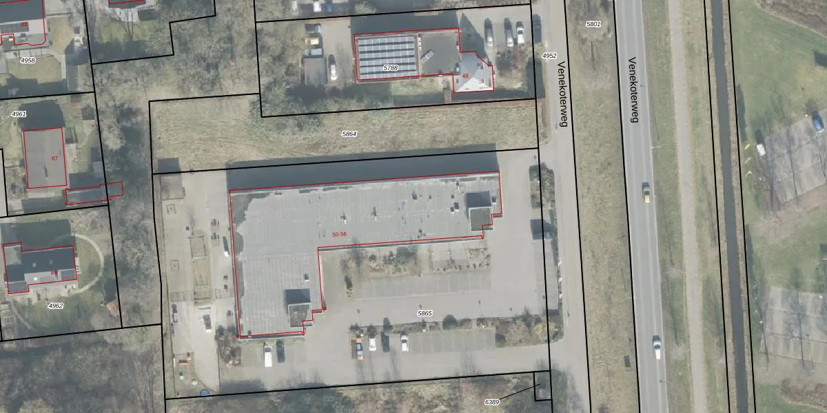
Het adres ligt op het perceel OTW02-C-5865, dat zich in de kadastrale gemeente Oosterwolde bevindt. Het perceel is kleiner dan gemiddeld in Oosterwolde. Het perceel is 5050 m² groot, terwijl het gemiddelde ligt op 7587,42 m². Het kleinste perceel in de kadastrale gemeente is 0 m² groot. De grootste perceeloppervlakte is 93,2 ha. Op het perceel zijn 4 adressen aanwezig. De laatste wijziging in het de Basisregistratie Kadaster (BRK) was op 19-05-2010.
Er is geen energielabel geregistreerd voor het adres. Het hoogste energielabel in de straat is A+++; het laagste is G. Het gemiddelde energielabel is er A. Het adres Venekoterweg 54 heeft als status: 'verblijfsobject in gebruik'. Het pand waarin dit adres ligt heeft als status: 'pand in gebruik'.
Venekoterweg 54 is een adres gelegen in de gemeente Ooststellingwerf, provincie Friesland. Dit adres is geregistreerd in de Basisregistratie Adressen en Gebouwen (BAG) met als unieke identificatie 0085010000051492.
Het pand op Venekoterweg 54 is gebouwd in 1999, wat betekent dat het 27 jaar oud is. Dit is een pand van middelbare leeftijd. Het pand is van gemiddelde leeftijd en zal waarschijnlijk verouderde elementen bevatten.
De woning op Venekoterweg 54 heeft een gebruiksoppervlakte van 150 m². Dit is ruim vergeleken met de gemiddelde Nederlandse woning, die een oppervlakte heeft van ongeveer 119 m². De gebruiksoppervlakte is de maat die wordt gebruikt in de BAG-registratie, de landelijke registratie van de Nederlandse overheid.
Venekoterweg 54 heeft als functie: kantoor. Deze gebruiksfunctie(s) zijn vastgelegd in de BAG-registratie en geven aan waarvoor het adres officieel mag worden gebruikt.
Venekoterweg 54 is gelegen op kadastraal perceel OTW02C5865. Deze kadastrale aanduiding is uniek en wordt gebruikt door het Kadaster om eigendomsrechten en andere zakelijke rechten vast te leggen. Het perceel maakt onderdeel uit van de kadastrale gemeente Oosterwolde.
Het perceel waarop Venekoterweg 54 staat heeft een oppervlakte van 5050 m². Dit is een zeer groot perceel. De perceeloppervlakte wordt geregistreerd door het Kadaster. Gedetailleerde informatie over de maten van dit perceel kunt u vinden in het rapport Kadastrale kaart met maatvoering van Venekoterweg 54.
De eigenaar van Venekoterweg 54 is op te vragen op deze pagina.
De informatie over dit adres is afkomstig uit officiële overheidsregistraties, voornamelijk de Basisregistratie Adressen en Gebouwen (BAG) en de Basisregistratie Kadaster (BRK). Deze gegevens worden beheerd door respectievelijk gemeenten en het Kadaster, en worden regelmatig bijgewerkt. Energielabelgegevens komen uit de database van de Rijksdienst voor Ondernemend Nederland (RVO).
