
Het adres Heveringseweg 13 bevindt zich in de plaats Oostvoorne, in de gemeente Oostvoorne en de provincie Zuid-Holland. Het verblijfsobject is 140 m² groot en bevindt zich op een perceel met een oppervlakte van 1229 m². Gemiddeld hebben adressen in Nederland een oppervlakte van 119 m². Het adres is klein vergeleken met andere objecten in de straat. Het grootste object in de straat heeft een oppervlakte van 438 m², het kleinste is 16 m² groot. In Nederland komt het grootste deel van de gebouwen uit de periode 1965-1984. Ook het bouwjaar van Heveringseweg 13 is afkomstig uit die periode: het betreft namelijk een pand uit 1965. Vergeleken met de andere panden in de straat is dit gebouw nieuw. Het vroegste bouwjaar is er 1702 en het laatste is 2024. Voor het verblijfsobject gelden deze gebruiksdoelen: 'woonfunctie'.
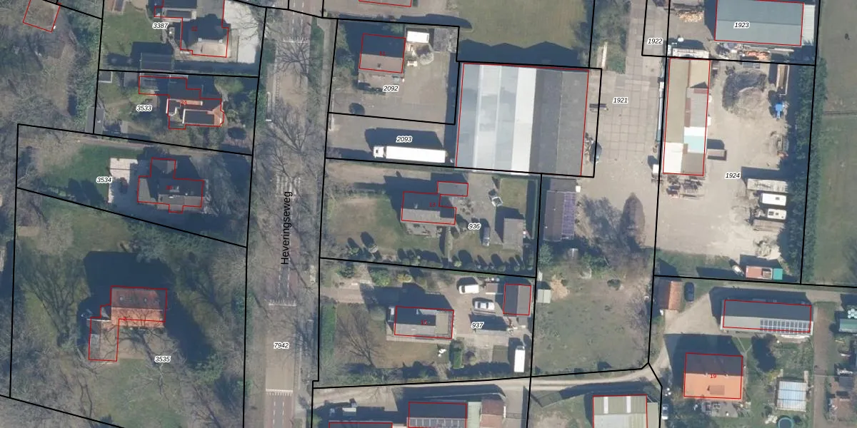
Het adres ligt op het perceel WVN00-C-936, dat zich in de kadastrale gemeente Westvoorne bevindt. De gemiddelde perceelgrootte in Westvoorne is 2,0 ha. Dit perceel is kleiner: de perceeloppervlakte bedraagt 1229 m². Het grootste perceel in de kadastrale gemeente is 18,03 km². Het kleinste perceel heeft een oppervlakte van 1 m². Dit is het enige adres dat aanwezig is op het perceel. In de Basisregistratie Kadaster (BRK) werden de grenzen van het perceel geregistreerd op 14-06-2002.
Het adres ligt in een gebouw van het type 'vrijstaande woning'. Bij de laatste meting is voor het adres het energielabel D geregistreerd. Het hoogste energielabel in de straat is A; het laagste is G. Het gemiddelde energielabel is er C. Het adres Heveringseweg 13 heeft als status: 'verblijfsobject in gebruik'. Het pand waarin dit adres ligt heeft als status: 'pand in gebruik'.
Heveringseweg 13 is een adres gelegen in de gemeente Voorne aan Zee, provincie Zuid-Holland. Dit adres is geregistreerd in de Basisregistratie Adressen en Gebouwen (BAG) met als unieke identificatie 0614010000001737.
Het pand op Heveringseweg 13 is gebouwd in 1965, wat betekent dat het 61 jaar oud is. Dit is een ouder pand. Het pand heeft mogelijk aanzienlijke renovaties nodig om aan de huidige standaarden te voldoen.
De woning op Heveringseweg 13 heeft een gebruiksoppervlakte van 140 m². Dit is gemiddeld vergeleken met de gemiddelde Nederlandse woning, die een oppervlakte heeft van ongeveer 119 m². De gebruiksoppervlakte is de maat die wordt gebruikt in de BAG-registratie, de landelijke registratie van de Nederlandse overheid.
Heveringseweg 13 heeft als functie: wonen. Deze gebruiksfunctie(s) zijn vastgelegd in de BAG-registratie en geven aan waarvoor het adres officieel mag worden gebruikt.
Heveringseweg 13 is gelegen op kadastraal perceel WVN00C936. Deze kadastrale aanduiding is uniek en wordt gebruikt door het Kadaster om eigendomsrechten en andere zakelijke rechten vast te leggen. Het perceel maakt onderdeel uit van de kadastrale gemeente Westvoorne.
Het perceel waarop Heveringseweg 13 staat heeft een oppervlakte van 1229 m². Dit is een zeer groot perceel. De perceeloppervlakte wordt geregistreerd door het Kadaster. Gedetailleerde informatie over de maten van dit perceel kunt u vinden in het rapport Kadastrale kaart met maatvoering van Heveringseweg 13.
De eigenaar van Heveringseweg 13 is op te vragen op deze pagina.
De informatie over dit adres is afkomstig uit officiële overheidsregistraties, voornamelijk de Basisregistratie Adressen en Gebouwen (BAG) en de Basisregistratie Kadaster (BRK). Deze gegevens worden beheerd door respectievelijk gemeenten en het Kadaster, en worden regelmatig bijgewerkt. Energielabelgegevens komen uit de database van de Rijksdienst voor Ondernemend Nederland (RVO).
