
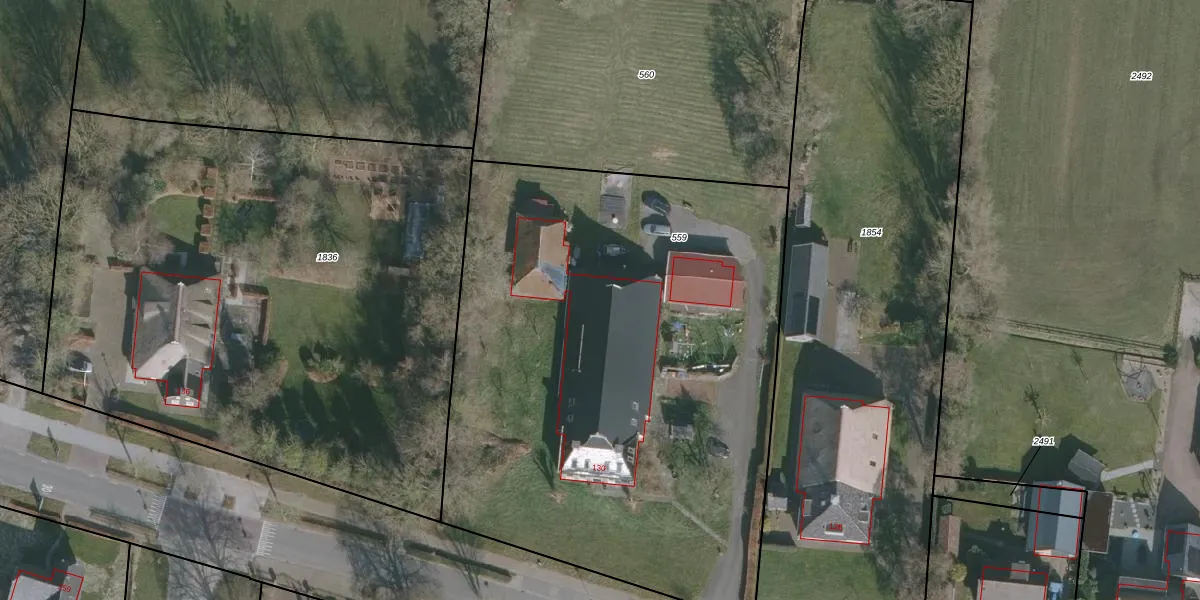
Kommisjewei 130 is een adres in Opeinde, dat zich bevindt binnen de gemeentegrenzen van Opeinde en de grenzen van de provincie Friesland. De oppervlakte bedraagt 664 m², waarmee het adres groter dan gemiddeld is. De grootte van het perceel waarop het adres ligt is 3490 m². Vergeleken met de andere verblijfsobjecten in de straat is dit object groot. De oppervlakte van het grootste object in de straat is 1008 m², die van het kleinste bedraagt 14 m². In Nederland komt het grootste deel van de gebouwen uit de periode 1965-1984. Ook het bouwjaar van Kommisjewei 130 is afkomstig uit die periode: het betreft namelijk een pand uit 1965. Veel andere gebouwen in de straat zijn ouder dan dit pand. Het oudste pand komt uit het jaar 1786 en het nieuwste uit 2025. Voor het verblijfsobject gelden deze gebruiksdoelen: 'woonfunctie'.
Deze woning is voor het laatst verkocht op 1 juli 2001. Meer informatie over deze transactie? Bestel het Woningtransactierapport om de verkoopprijs en andere informatie te zien.
Het adres is gelegen op perceel 559 in de sectie F en de kadastrale gemeente Oudega. De kadastrale aanduiding is aldus ODG00-F-559. De gemiddelde perceelgrootte in Oudega is 8641,36 m². Dit perceel is kleiner: de perceeloppervlakte bedraagt 3490 m². Het grootste perceel in de kadastrale gemeente is 74,2 ha. Het kleinste perceel heeft een oppervlakte van 0 m². Er zijn geen andere adressen aanwezig op het perceel. De huidige grenzen van het perceel zijn digitaal in de Basisregistratie Kadaster (BRK) geregistreerd op 15-01-1998.
Het adres ligt in een gebouw van het type 'vrijstaande woning'. Bij de laatste meting is voor het adres het energielabel B geregistreerd. Het hoogste energielabel in de straat is A++; het laagste is G. Het gemiddelde energielabel is er D. Het adres Kommisjewei 130 heeft als status: 'verblijfsobject in gebruik'. Het pand waarin dit adres ligt heeft als status: 'pand in gebruik'.
Kommisjewei 130 is een adres gelegen in de gemeente Smallingerland, provincie Friesland. Dit adres is geregistreerd in de Basisregistratie Adressen en Gebouwen (BAG) met als unieke identificatie 0090010000659390.
Het pand op Kommisjewei 130 is gebouwd in 1965, wat betekent dat het 61 jaar oud is. Dit is een ouder pand. Het pand heeft mogelijk aanzienlijke renovaties nodig om aan de huidige standaarden te voldoen.
De woning op Kommisjewei 130 heeft een gebruiksoppervlakte van 664 m². Dit is ruim vergeleken met de gemiddelde Nederlandse woning, die een oppervlakte heeft van ongeveer 119 m². De gebruiksoppervlakte is de maat die wordt gebruikt in de BAG-registratie, de landelijke registratie van de Nederlandse overheid.
Kommisjewei 130 heeft als functie: wonen. Deze gebruiksfunctie(s) zijn vastgelegd in de BAG-registratie en geven aan waarvoor het adres officieel mag worden gebruikt.
Kommisjewei 130 is gelegen op kadastraal perceel ODG00F559. Deze kadastrale aanduiding is uniek en wordt gebruikt door het Kadaster om eigendomsrechten en andere zakelijke rechten vast te leggen. Het perceel maakt onderdeel uit van de kadastrale gemeente Oudega.
Het perceel waarop Kommisjewei 130 staat heeft een oppervlakte van 3490 m². Dit is een zeer groot perceel. De perceeloppervlakte wordt geregistreerd door het Kadaster. Gedetailleerde informatie over de maten van dit perceel kunt u vinden in het rapport Kadastrale kaart met maatvoering van Kommisjewei 130.
De eigenaar van Kommisjewei 130 is op te vragen op deze pagina.
De informatie over dit adres is afkomstig uit officiële overheidsregistraties, voornamelijk de Basisregistratie Adressen en Gebouwen (BAG) en de Basisregistratie Kadaster (BRK). Deze gegevens worden beheerd door respectievelijk gemeenten en het Kadaster, en worden regelmatig bijgewerkt. Energielabelgegevens komen uit de database van de Rijksdienst voor Ondernemend Nederland (RVO).
