
Provincialeweg 101-A is een adres in Opende, dat zich bevindt binnen de gemeentegrenzen van Opende en de grenzen van de provincie Groningen. De oppervlakte bedraagt 489 m², waarmee het adres groter dan gemiddeld is. De grootte van het perceel waarop het adres ligt is 7247 m². Vergeleken met de andere verblijfsobjecten in de straat is dit object groot. De oppervlakte van het grootste object in de straat is 1807 m², die van het kleinste bedraagt 7 m². De meeste Nederlandse gebouwen zijn gebouwd in de periode 1965-1984. Zo ook het pand waarin Provincialeweg 101-A ligt, dat gebouwd is in 1970. Veel andere gebouwen in de straat zijn ouder dan dit pand. Het oudste pand komt uit het jaar 1748 en het nieuwste uit 2025. Voor het verblijfsobject gelden deze gebruiksdoelen: 'industriefunctie'.
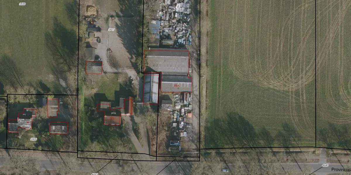
Het adres is gelegen op perceel 1828 in de sectie G en de kadastrale gemeente Grootegast. De kadastrale aanduiding is aldus GTG00-G-1828. De gemiddelde perceelgrootte in Grootegast is 8104,98 m². Dit perceel is kleiner: de perceeloppervlakte bedraagt 7247 m². De grootste perceeloppervlakte in de kadastrale gemeente is 44,9 ha. De kleinste oppervlakte bedraagt 0 m². Er zijn geen andere adressen aanwezig op het perceel. De huidige grenzen van het perceel zijn digitaal in de Basisregistratie Kadaster (BRK) geregistreerd op 14-11-1997.
Er is geen energielabel geregistreerd voor het adres. Het hoogste energielabel in de straat is A++++; het laagste is G. Het gemiddelde energielabel is er C. Het adres Provincialeweg 101-A heeft als status: 'verblijfsobject in gebruik'. Het pand waarin dit adres ligt heeft als status: 'pand in gebruik'.
Provincialeweg 101-A is een adres gelegen in de gemeente Westerkwartier, provincie Groningen. Dit adres is geregistreerd in de Basisregistratie Adressen en Gebouwen (BAG) met als unieke identificatie 0015010001005962.
Het pand op Provincialeweg 101-A is gebouwd in 1970, wat betekent dat het 56 jaar oud is. Dit is een ouder pand. Het pand heeft mogelijk aanzienlijke renovaties nodig om aan de huidige standaarden te voldoen.
De woning op Provincialeweg 101-A heeft een gebruiksoppervlakte van 489 m². Dit is ruim vergeleken met de gemiddelde Nederlandse woning, die een oppervlakte heeft van ongeveer 119 m². De gebruiksoppervlakte is de maat die wordt gebruikt in de BAG-registratie, de landelijke registratie van de Nederlandse overheid.
Provincialeweg 101-A heeft als functie: industrie. Deze gebruiksfunctie(s) zijn vastgelegd in de BAG-registratie en geven aan waarvoor het adres officieel mag worden gebruikt.
Provincialeweg 101-A is gelegen op kadastraal perceel GTG00G1828. Deze kadastrale aanduiding is uniek en wordt gebruikt door het Kadaster om eigendomsrechten en andere zakelijke rechten vast te leggen. Het perceel maakt onderdeel uit van de kadastrale gemeente Grootegast.
Het perceel waarop Provincialeweg 101-A staat heeft een oppervlakte van 7247 m². Dit is een zeer groot perceel. De perceeloppervlakte wordt geregistreerd door het Kadaster. Gedetailleerde informatie over de maten van dit perceel kunt u vinden in het rapport Kadastrale kaart met maatvoering van Provincialeweg 101-A.
De eigenaar van Provincialeweg 101-A is op te vragen op deze pagina.
De informatie over dit adres is afkomstig uit officiële overheidsregistraties, voornamelijk de Basisregistratie Adressen en Gebouwen (BAG) en de Basisregistratie Kadaster (BRK). Deze gegevens worden beheerd door respectievelijk gemeenten en het Kadaster, en worden regelmatig bijgewerkt. Energielabelgegevens komen uit de database van de Rijksdienst voor Ondernemend Nederland (RVO).
