
Het adres Provincialeweg 113-B bevindt zich in de plaats Opende, in de gemeente Opende en de provincie Groningen. Het verblijfsobject is vergeleken met het Nederlandse gemiddelde aan de kleine kant: de oppervlakte is 62 m². Het perceel waarop het adres zich bevindt heeft een oppervlakte van 1073 m². Het object is klein ten opzichte van de andere adressen in de straat. Het grootste verblijfsobject is 1807 m² groot en het kleinste is 7 m². Het gebouw waarin Provincialeweg 113-B ligt komt uit het jaar 1880. Objecten die gebouwd zijn vóór 1965 classificeren we hier als oud. Het nieuwste gebouw in de straat komt uit 2025 en het oudste uit 1748. Dit object is relatief oud. Voor het verblijfsobject gelden deze gebruiksdoelen: 'woonfunctie'.
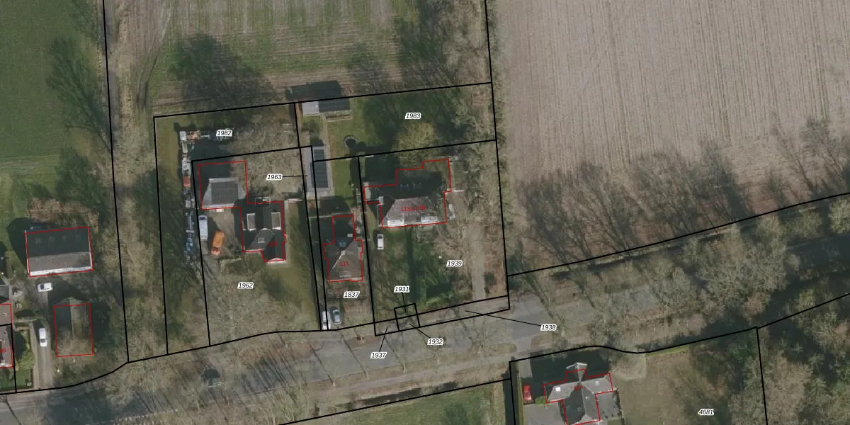
Het perceel waarop het adres ligt is GTG00-G-1939. De afkorting 'GTG00' staat voor kadastrale gemeente Grootegast. De gemiddelde perceelgrootte in Grootegast is 8106,96 m². Dit perceel is kleiner: de perceeloppervlakte bedraagt 1073 m². Het kleinste perceel in de kadastrale gemeente is 0 m² groot. De grootste perceeloppervlakte is 44,9 ha. Op het perceel liggen in totaal 3 adressen. In de Basisregistratie Kadaster (BRK) werden de grenzen van het perceel geregistreerd op 03-10-2006.
Het adres ligt in een gebouw van het type 'twee-onder-een-kap / rijwoning hoek met het subtype rijwoning'. Bij de laatste meting is voor het adres het energielabel B geregistreerd. Het hoogste energielabel in de straat is A++++; het laagste is G. Het gemiddelde energielabel is er C. Het adres Provincialeweg 113-B heeft als status: 'verblijfsobject in gebruik'. Het pand waarin dit adres ligt heeft als status: 'pand in gebruik'.
Provincialeweg 113-B is een adres gelegen in de gemeente Westerkwartier, provincie Groningen. Dit adres is geregistreerd in de Basisregistratie Adressen en Gebouwen (BAG) met als unieke identificatie 0015010001003385.
Het pand op Provincialeweg 113-B is gebouwd in 1880, wat betekent dat het 146 jaar oud is. Dit is een ouder pand. Het pand heeft mogelijk aanzienlijke renovaties nodig om aan de huidige standaarden te voldoen.
De woning op Provincialeweg 113-B heeft een gebruiksoppervlakte van 62 m². Dit is relatief klein vergeleken met de gemiddelde Nederlandse woning, die een oppervlakte heeft van ongeveer 119 m². De gebruiksoppervlakte is de maat die wordt gebruikt in de BAG-registratie, de landelijke registratie van de Nederlandse overheid.
Provincialeweg 113-B heeft als functie: wonen. Deze gebruiksfunctie(s) zijn vastgelegd in de BAG-registratie en geven aan waarvoor het adres officieel mag worden gebruikt.
Provincialeweg 113-B is gelegen op kadastraal perceel GTG00G1939. Deze kadastrale aanduiding is uniek en wordt gebruikt door het Kadaster om eigendomsrechten en andere zakelijke rechten vast te leggen. Het perceel maakt onderdeel uit van de kadastrale gemeente Grootegast.
Het perceel waarop Provincialeweg 113-B staat heeft een oppervlakte van 1073 m². Dit is een zeer groot perceel. De perceeloppervlakte wordt geregistreerd door het Kadaster. Gedetailleerde informatie over de maten van dit perceel kunt u vinden in het rapport Kadastrale kaart met maatvoering van Provincialeweg 113-B.
De eigenaar van Provincialeweg 113-B is op te vragen op deze pagina.
De informatie over dit adres is afkomstig uit officiële overheidsregistraties, voornamelijk de Basisregistratie Adressen en Gebouwen (BAG) en de Basisregistratie Kadaster (BRK). Deze gegevens worden beheerd door respectievelijk gemeenten en het Kadaster, en worden regelmatig bijgewerkt. Energielabelgegevens komen uit de database van de Rijksdienst voor Ondernemend Nederland (RVO).
