
Brabantstraat 44-B is een adres in Oss, dat zich bevindt binnen de gemeentegrenzen van Oss en de grenzen van de provincie Noord-Brabant. Het verblijfsobject is vergeleken met het Nederlandse gemiddelde aan de kleine kant: de oppervlakte is 94 m². Het perceel waarop het adres zich bevindt heeft een oppervlakte van 3317 m². De oppervlakte van dit adres is groot vergeleken met de oppervlaktes van andere adressen in de straat. De kleinste oppervlakte bedraagt er 8 m², de grootste 208 m². Brabantstraat 44-B ligt in een gebouw uit het jaar 1996. Daarmee behoort het tot de groep panden van na 1984, die we als relatief nieuw bestempelen. Dit object is relatief nieuw in de straat. Het nieuwste gebouw komt er uit het jaar 2024 en het oudste uit het jaar 1961. Voor het verblijfsobject gelden deze gebruiksdoelen: 'woonfunctie'.
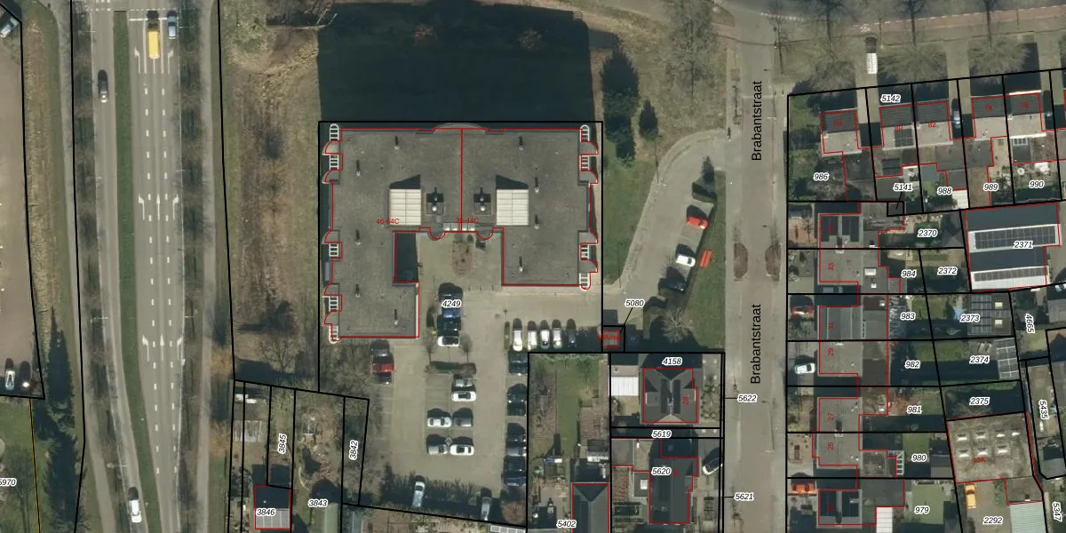
Het adres ligt op het perceel OSS00-K-4249, dat zich in de kadastrale gemeente Oss bevindt. Het perceel is met 3317 m² relatief groot. Het gemiddelde ligt in de kadastrale gemeente Oss op 2393,72 m². Het grootste perceel in de kadastrale gemeente is 36,1 ha. Het kleinste perceel heeft een oppervlakte van 0 m². Op het perceel liggen in totaal 51 adressen. De huidige grenzen van het perceel zijn digitaal in de Basisregistratie Kadaster (BRK) geregistreerd op 01-09-2011.
Het adres ligt in een gebouw van het type 'flatwoning (overig) met het subtype hoekmidden'. Bij de laatste meting is voor het adres het energielabel A geregistreerd. Het hoogste energielabel in de straat is A+++; het laagste is G. Het gemiddelde energielabel is er A. Het adres Brabantstraat 44-B heeft als status: 'verblijfsobject in gebruik'. Het pand waarin dit adres ligt heeft als status: 'pand in gebruik'.
Brabantstraat 44-B is een adres gelegen in de gemeente Oss, provincie Noord-Brabant. Dit adres is geregistreerd in de Basisregistratie Adressen en Gebouwen (BAG) met als unieke identificatie 0828010001544542.
Het pand op Brabantstraat 44-B is gebouwd in 1996, wat betekent dat het 30 jaar oud is. Dit is een pand van middelbare leeftijd. Het pand is van gemiddelde leeftijd en zal waarschijnlijk verouderde elementen bevatten.
De woning op Brabantstraat 44-B heeft een gebruiksoppervlakte van 94 m². Dit is onder het gemiddelde vergeleken met de gemiddelde Nederlandse woning, die een oppervlakte heeft van ongeveer 119 m². De gebruiksoppervlakte is de maat die wordt gebruikt in de BAG-registratie, de landelijke registratie van de Nederlandse overheid.
Brabantstraat 44-B heeft als functie: wonen. Deze gebruiksfunctie(s) zijn vastgelegd in de BAG-registratie en geven aan waarvoor het adres officieel mag worden gebruikt.
Brabantstraat 44-B is gelegen op kadastraal perceel OSS00K4249. Deze kadastrale aanduiding is uniek en wordt gebruikt door het Kadaster om eigendomsrechten en andere zakelijke rechten vast te leggen. Het perceel maakt onderdeel uit van de kadastrale gemeente Oss.
Het perceel waarop Brabantstraat 44-B staat heeft een oppervlakte van 3317 m². Dit is een zeer groot perceel. De perceeloppervlakte wordt geregistreerd door het Kadaster. Gedetailleerde informatie over de maten van dit perceel kunt u vinden in het rapport Kadastrale kaart met maatvoering van Brabantstraat 44-B.
De eigenaar van Brabantstraat 44-B is op te vragen op deze pagina.
De informatie over dit adres is afkomstig uit officiële overheidsregistraties, voornamelijk de Basisregistratie Adressen en Gebouwen (BAG) en de Basisregistratie Kadaster (BRK). Deze gegevens worden beheerd door respectievelijk gemeenten en het Kadaster, en worden regelmatig bijgewerkt. Energielabelgegevens komen uit de database van de Rijksdienst voor Ondernemend Nederland (RVO).
