
Het adres Frankenweg 6-A bevindt zich in de plaats Oss, in de gemeente Oss en de provincie Noord-Brabant. Het verblijfsobject is vergeleken met het Nederlandse gemiddelde aan de kleine kant: de oppervlakte is 30 m². Het perceel waarop het adres zich bevindt heeft een oppervlakte van 1220 m². Dit is het kleinste object van de straat. De gemiddelde oppervlakte van verblijfsobjecten is er 1068 m². De grootste oppervlakte in de straat is 3581 m². Het adres Frankenweg 6-A ligt in een relatief oud pand uit het jaar 1920. Panden van vóór het jaar 1965 hebben we hier geclassificeerd als oud. Gemiddeld zijn de gebouwen in de straat gebouwd in 1991. Dit is het oudste pand in de straat. Het meest recente komt uit het jaar 2007. De volgende gebruiksdoelen zijn geregistreerd voor dit adres: 'woonfunctie'.
Deze woning is voor het laatst verkocht op 1 november 2024. Meer informatie over deze transactie? Bestel het Woningtransactierapport om de verkoopprijs en andere informatie te zien.
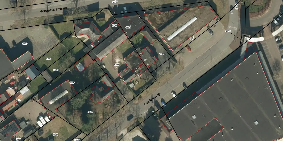
Het adres is gelegen op perceel 6237 in de sectie B en de kadastrale gemeente Oss. De kadastrale aanduiding is aldus OSS00-B-6237. Het perceel is 1220 m² groot. Dat is kleiner dan de gemiddelde perceeloppervlakte in Oss, dat op 2394,22 m² ligt. De grootste perceeloppervlakte in de kadastrale gemeente is 36,1 ha. De kleinste oppervlakte bedraagt 0 m². Op het perceel liggen in totaal 2 adressen. In de Basisregistratie Kadaster (BRK) werden de grenzen van het perceel geregistreerd op 17-11-2015.
Het adres ligt in een gebouw van het type 'twee-onder-één-kap'. Bij de laatste meting is voor het adres het energielabel G geregistreerd. Het hoogste energielabel in de straat is A+++; het laagste is G. Het gemiddelde energielabel is er A. Het adres Frankenweg 6-A heeft als status: 'verblijfsobject in gebruik'. Het pand waarin dit adres ligt heeft als status: 'pand in gebruik'.
Frankenweg 6-A is een adres gelegen in de gemeente Oss, provincie Noord-Brabant. Dit adres is geregistreerd in de Basisregistratie Adressen en Gebouwen (BAG) met als unieke identificatie 0828010001563814.
Het pand op Frankenweg 6-A is gebouwd in 1920, wat betekent dat het 106 jaar oud is. Dit is een ouder pand. Het pand heeft mogelijk aanzienlijke renovaties nodig om aan de huidige standaarden te voldoen.
De woning op Frankenweg 6-A heeft een gebruiksoppervlakte van 30 m². Dit is relatief klein vergeleken met de gemiddelde Nederlandse woning, die een oppervlakte heeft van ongeveer 119 m². De gebruiksoppervlakte is de maat die wordt gebruikt in de BAG-registratie, de landelijke registratie van de Nederlandse overheid.
Frankenweg 6-A heeft als functie: wonen. Deze gebruiksfunctie(s) zijn vastgelegd in de BAG-registratie en geven aan waarvoor het adres officieel mag worden gebruikt.
Frankenweg 6-A is gelegen op kadastraal perceel OSS00B6237. Deze kadastrale aanduiding is uniek en wordt gebruikt door het Kadaster om eigendomsrechten en andere zakelijke rechten vast te leggen. Het perceel maakt onderdeel uit van de kadastrale gemeente Oss.
Het perceel waarop Frankenweg 6-A staat heeft een oppervlakte van 1220 m². Dit is een zeer groot perceel. De perceeloppervlakte wordt geregistreerd door het Kadaster. Gedetailleerde informatie over de maten van dit perceel kunt u vinden in het rapport Kadastrale kaart met maatvoering van Frankenweg 6-A.
De eigenaar van Frankenweg 6-A is op te vragen op deze pagina.
De informatie over dit adres is afkomstig uit officiële overheidsregistraties, voornamelijk de Basisregistratie Adressen en Gebouwen (BAG) en de Basisregistratie Kadaster (BRK). Deze gegevens worden beheerd door respectievelijk gemeenten en het Kadaster, en worden regelmatig bijgewerkt. Energielabelgegevens komen uit de database van de Rijksdienst voor Ondernemend Nederland (RVO).
