
Binnenweg 23 is een adres in Ossendrecht, dat zich bevindt binnen de gemeentegrenzen van Ossendrecht en de grenzen van de provincie Noord-Brabant. Het verblijfsobject is 144 m² groot en bevindt zich op een perceel met een oppervlakte van 6240 m². Gemiddeld hebben adressen in Nederland een oppervlakte van 119 m². Het object is klein ten opzichte van de andere adressen in de straat. Het grootste verblijfsobject is 203 m² groot en het kleinste is 121 m². Het gebouw waarin Binnenweg 23 ligt komt uit het jaar 1901. Objecten die gebouwd zijn vóór 1965 classificeren we hier als oud. Het gemiddelde bouwjaar in de straat is 1901 en dat van het oudste pand is 1901. Dit is het nieuwste object in de straat. De volgende gebruiksdoelen zijn geregistreerd voor dit adres: 'woonfunctie'.
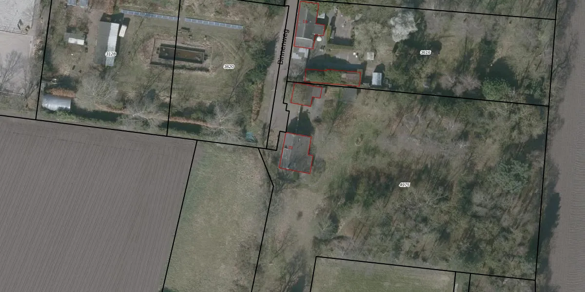
Het perceel waarop het adres ligt is OSD00-D-4975. De afkorting 'OSD00' staat voor kadastrale gemeente Ossendrecht. De oppervlakte van het perceel is 6240 m². Dat is groter dan gemiddeld in Ossendrecht, waar de gemiddelde perceeloppervlakte op 5979,56 m² ligt. Het kleinste perceel in de kadastrale gemeente is 0 m² groot. De grootste perceeloppervlakte is 1,07 km². Dit is het enige adres dat aanwezig is op het perceel. De huidige grenzen van het perceel zijn digitaal in de Basisregistratie Kadaster (BRK) geregistreerd op 15-10-2020.
Er is geen energielabel geregistreerd voor het adres. Het hoogste energielabel in de straat is D; het laagste is G. Het gemiddelde energielabel is er D. Het adres Binnenweg 23 heeft als status: 'verblijfsobject in gebruik'. Het pand waarin dit adres ligt heeft als status: 'pand in gebruik'.
Binnenweg 23 is een adres gelegen in de gemeente Woensdrecht, provincie Noord-Brabant. Dit adres is geregistreerd in de Basisregistratie Adressen en Gebouwen (BAG) met als unieke identificatie 0873010000436796.
Het pand op Binnenweg 23 is gebouwd in 1901, wat betekent dat het 125 jaar oud is. Dit is een ouder pand. Het pand heeft mogelijk aanzienlijke renovaties nodig om aan de huidige standaarden te voldoen.
De woning op Binnenweg 23 heeft een gebruiksoppervlakte van 144 m². Dit is gemiddeld vergeleken met de gemiddelde Nederlandse woning, die een oppervlakte heeft van ongeveer 119 m². De gebruiksoppervlakte is de maat die wordt gebruikt in de BAG-registratie, de landelijke registratie van de Nederlandse overheid.
Binnenweg 23 heeft als functie: wonen. Deze gebruiksfunctie(s) zijn vastgelegd in de BAG-registratie en geven aan waarvoor het adres officieel mag worden gebruikt.
Binnenweg 23 is gelegen op kadastraal perceel OSD00D4975. Deze kadastrale aanduiding is uniek en wordt gebruikt door het Kadaster om eigendomsrechten en andere zakelijke rechten vast te leggen. Het perceel maakt onderdeel uit van de kadastrale gemeente Ossendrecht.
Het perceel waarop Binnenweg 23 staat heeft een oppervlakte van 6240 m². Dit is een zeer groot perceel. De perceeloppervlakte wordt geregistreerd door het Kadaster. Gedetailleerde informatie over de maten van dit perceel kunt u vinden in het rapport Kadastrale kaart met maatvoering van Binnenweg 23.
De eigenaar van Binnenweg 23 is op te vragen op deze pagina.
De informatie over dit adres is afkomstig uit officiële overheidsregistraties, voornamelijk de Basisregistratie Adressen en Gebouwen (BAG) en de Basisregistratie Kadaster (BRK). Deze gegevens worden beheerd door respectievelijk gemeenten en het Kadaster, en worden regelmatig bijgewerkt. Energielabelgegevens komen uit de database van de Rijksdienst voor Ondernemend Nederland (RVO).
