
Het adres Klein Brembrood 19 bevindt zich in de plaats Ossendrecht, in de gemeente Ossendrecht en de provincie Noord-Brabant. Het verblijfsobject is 143 m² groot en bevindt zich op een perceel met een oppervlakte van 3035 m². Gemiddeld hebben adressen in Nederland een oppervlakte van 119 m². Het object is klein ten opzichte van de andere adressen in de straat. Het grootste verblijfsobject is 407 m² groot en het kleinste is 45 m². Het gebouw waarin Klein Brembrood 19 ligt komt uit het jaar 1901. Objecten die gebouwd zijn vóór 1965 classificeren we hier als oud. Het bouwjaar is oud vergeleken met dat van de andere panden in de straat. Het oudste bouwjaar is er 1900 en de nieuwste is 2020. De volgende gebruiksdoelen zijn geregistreerd voor dit adres: 'woonfunctie'.
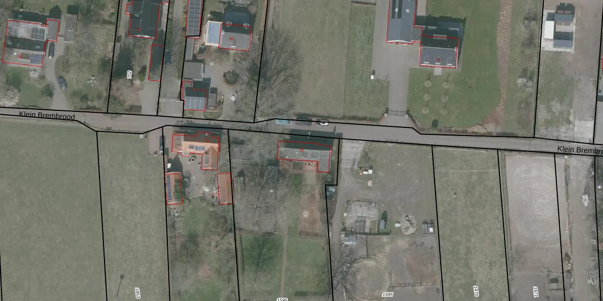
Het perceel waarop het adres ligt is OSD00-B-1596. De afkorting 'OSD00' staat voor kadastrale gemeente Ossendrecht. Het perceel is 3035 m² groot. Dat is kleiner dan de gemiddelde perceeloppervlakte in Ossendrecht, dat op 5979,56 m² ligt. Het kleinste perceel in de kadastrale gemeente is 0 m² groot. De grootste perceeloppervlakte is 1,07 km². Dit is het enige adres dat aanwezig is op het perceel. In de Basisregistratie Kadaster (BRK) werden de grenzen van het perceel geregistreerd op 03-10-2006.
Er is geen energielabel geregistreerd voor het adres. Het hoogste energielabel in de straat is A+; het laagste is G. Het gemiddelde energielabel is er B. Het adres Klein Brembrood 19 heeft als status: 'verblijfsobject in gebruik'. Het pand waarin dit adres ligt heeft als status: 'pand in gebruik'.
Klein Brembrood 19 is een adres gelegen in de gemeente Woensdrecht, provincie Noord-Brabant. Dit adres is geregistreerd in de Basisregistratie Adressen en Gebouwen (BAG) met als unieke identificatie 0873010000439702.
Het pand op Klein Brembrood 19 is gebouwd in 1901, wat betekent dat het 125 jaar oud is. Dit is een ouder pand. Het pand heeft mogelijk aanzienlijke renovaties nodig om aan de huidige standaarden te voldoen.
De woning op Klein Brembrood 19 heeft een gebruiksoppervlakte van 143 m². Dit is gemiddeld vergeleken met de gemiddelde Nederlandse woning, die een oppervlakte heeft van ongeveer 119 m². De gebruiksoppervlakte is de maat die wordt gebruikt in de BAG-registratie, de landelijke registratie van de Nederlandse overheid.
Klein Brembrood 19 heeft als functie: wonen. Deze gebruiksfunctie(s) zijn vastgelegd in de BAG-registratie en geven aan waarvoor het adres officieel mag worden gebruikt.
Klein Brembrood 19 is gelegen op kadastraal perceel OSD00B1596. Deze kadastrale aanduiding is uniek en wordt gebruikt door het Kadaster om eigendomsrechten en andere zakelijke rechten vast te leggen. Het perceel maakt onderdeel uit van de kadastrale gemeente Ossendrecht.
Het perceel waarop Klein Brembrood 19 staat heeft een oppervlakte van 3035 m². Dit is een zeer groot perceel. De perceeloppervlakte wordt geregistreerd door het Kadaster. Gedetailleerde informatie over de maten van dit perceel kunt u vinden in het rapport Kadastrale kaart met maatvoering van Klein Brembrood 19.
De eigenaar van Klein Brembrood 19 is op te vragen op deze pagina.
De informatie over dit adres is afkomstig uit officiële overheidsregistraties, voornamelijk de Basisregistratie Adressen en Gebouwen (BAG) en de Basisregistratie Kadaster (BRK). Deze gegevens worden beheerd door respectievelijk gemeenten en het Kadaster, en worden regelmatig bijgewerkt. Energielabelgegevens komen uit de database van de Rijksdienst voor Ondernemend Nederland (RVO).
