
Trambaan 39 is gelegen in de plaats Ossendrecht, de gemeente Woensdrecht en de provincie Noord-Brabant. De oppervlakte van het verblijfsobject is met 165 m² aan de grote kant. Het perceel heeft een oppervlakte van 2190 m². De oppervlakte van het adres is klein vergeleken met de andere objecten in de straat. De oppervlakte van het kleinste object in de straat bedraagt 5 m², terwijl het grootste object 541 m² groot is. Het gebouw waarin Trambaan 39 ligt komt uit het jaar 1901. Objecten die gebouwd zijn vóór 1965 classificeren we hier als oud. Gemiddeld zijn de gebouwen in de straat gebouwd in 1968. Dit is het oudste pand in de straat. Het meest recente komt uit het jaar 2022. Voor het verblijfsobject gelden deze gebruiksdoelen: 'woonfunctie'.
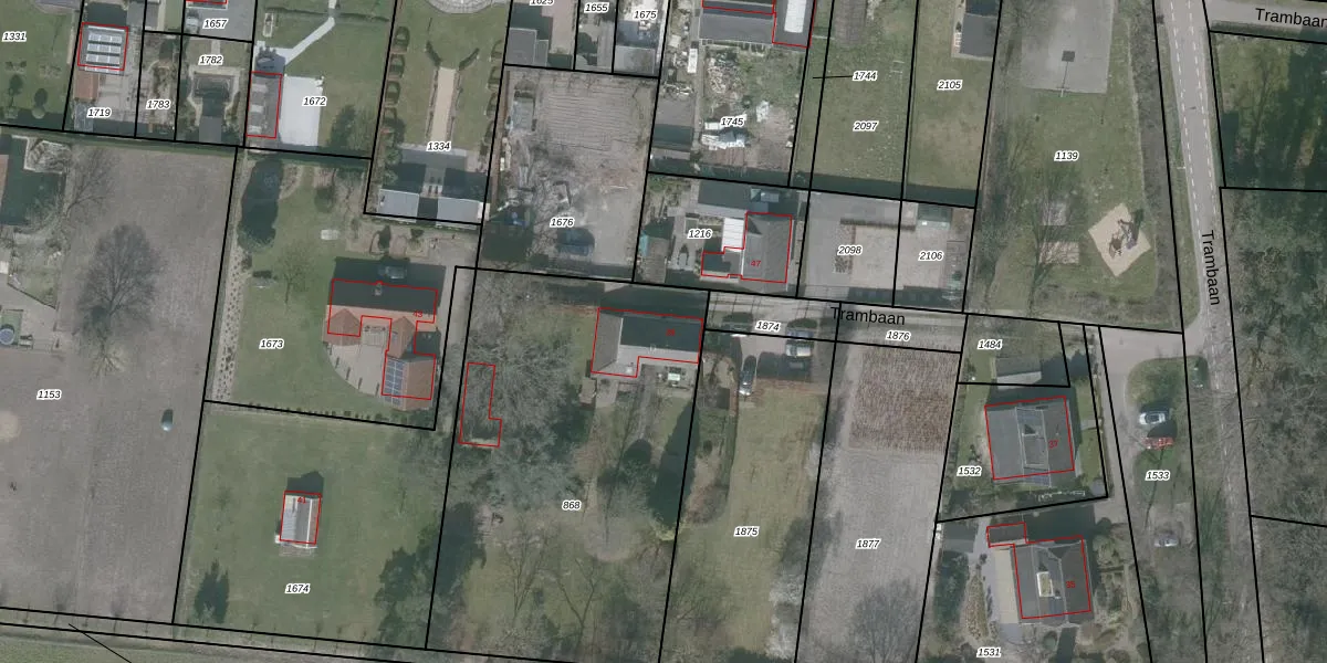
Het adres is gelegen op perceel 868 in de sectie B en de kadastrale gemeente Ossendrecht. De kadastrale aanduiding is aldus OSD00-B-868. De gemiddelde perceelgrootte in Ossendrecht is 5980,77 m². Dit perceel is kleiner: de perceeloppervlakte bedraagt 2190 m². Het kleinste perceel in de kadastrale gemeente is 0 m² groot. De grootste perceeloppervlakte is 1,07 km². Op het perceel bevinden zich geen andere adressen. De laatste wijziging in het de Basisregistratie Kadaster (BRK) was op 11-01-2024.
Er is geen energielabel geregistreerd voor het adres. Het hoogste energielabel in de straat is A+++; het laagste is G. Het gemiddelde energielabel is er C. Het adres Trambaan 39 heeft als status: 'verblijfsobject in gebruik'. Het pand waarin dit adres ligt heeft als status: 'pand in gebruik'.
Trambaan 39 is een adres gelegen in de gemeente Woensdrecht, provincie Noord-Brabant. Dit adres is geregistreerd in de Basisregistratie Adressen en Gebouwen (BAG) met als unieke identificatie 0873010000441394.
Het pand op Trambaan 39 is gebouwd in 1901, wat betekent dat het 125 jaar oud is. Dit is een ouder pand. Het pand heeft mogelijk aanzienlijke renovaties nodig om aan de huidige standaarden te voldoen.
De woning op Trambaan 39 heeft een gebruiksoppervlakte van 165 m². Dit is ruim vergeleken met de gemiddelde Nederlandse woning, die een oppervlakte heeft van ongeveer 119 m². De gebruiksoppervlakte is de maat die wordt gebruikt in de BAG-registratie, de landelijke registratie van de Nederlandse overheid.
Trambaan 39 heeft als functie: wonen. Deze gebruiksfunctie(s) zijn vastgelegd in de BAG-registratie en geven aan waarvoor het adres officieel mag worden gebruikt.
Trambaan 39 is gelegen op kadastraal perceel OSD00B868. Deze kadastrale aanduiding is uniek en wordt gebruikt door het Kadaster om eigendomsrechten en andere zakelijke rechten vast te leggen. Het perceel maakt onderdeel uit van de kadastrale gemeente Ossendrecht.
Het perceel waarop Trambaan 39 staat heeft een oppervlakte van 2190 m². Dit is een zeer groot perceel. De perceeloppervlakte wordt geregistreerd door het Kadaster. Gedetailleerde informatie over de maten van dit perceel kunt u vinden in het rapport Kadastrale kaart met maatvoering van Trambaan 39.
De eigenaar van Trambaan 39 is op te vragen op deze pagina.
De informatie over dit adres is afkomstig uit officiële overheidsregistraties, voornamelijk de Basisregistratie Adressen en Gebouwen (BAG) en de Basisregistratie Kadaster (BRK). Deze gegevens worden beheerd door respectievelijk gemeenten en het Kadaster, en worden regelmatig bijgewerkt. Energielabelgegevens komen uit de database van de Rijksdienst voor Ondernemend Nederland (RVO).
