
Trambaan 81 is gelegen in de plaats Ossendrecht, de gemeente Woensdrecht en de provincie Noord-Brabant. Het verblijfsobject is 139 m² groot en bevindt zich op een perceel met een oppervlakte van 1425 m². Gemiddeld hebben adressen in Nederland een oppervlakte van 119 m². De oppervlakte van het adres is klein vergeleken met de andere objecten in de straat. De oppervlakte van het kleinste object in de straat bedraagt 5 m², terwijl het grootste object 541 m² groot is. Trambaan 81 bevindt zich in een pand uit het jaar 1913. Daarmee behoort het tot de groep relatief oude panden in Nederland die gebouwd zijn vóór 1965. Het bouwjaar is oud vergeleken met dat van de andere panden in de straat. Het oudste bouwjaar is er 1901 en de nieuwste is 2022. Het verblijfsobject heeft de volgende gebruiksdoelen: 'woonfunctie'.
Deze woning is voor het laatst verkocht op 1 oktober 2023. Meer informatie over deze transactie? Bestel het Woningtransactierapport om de verkoopprijs en andere informatie te zien.
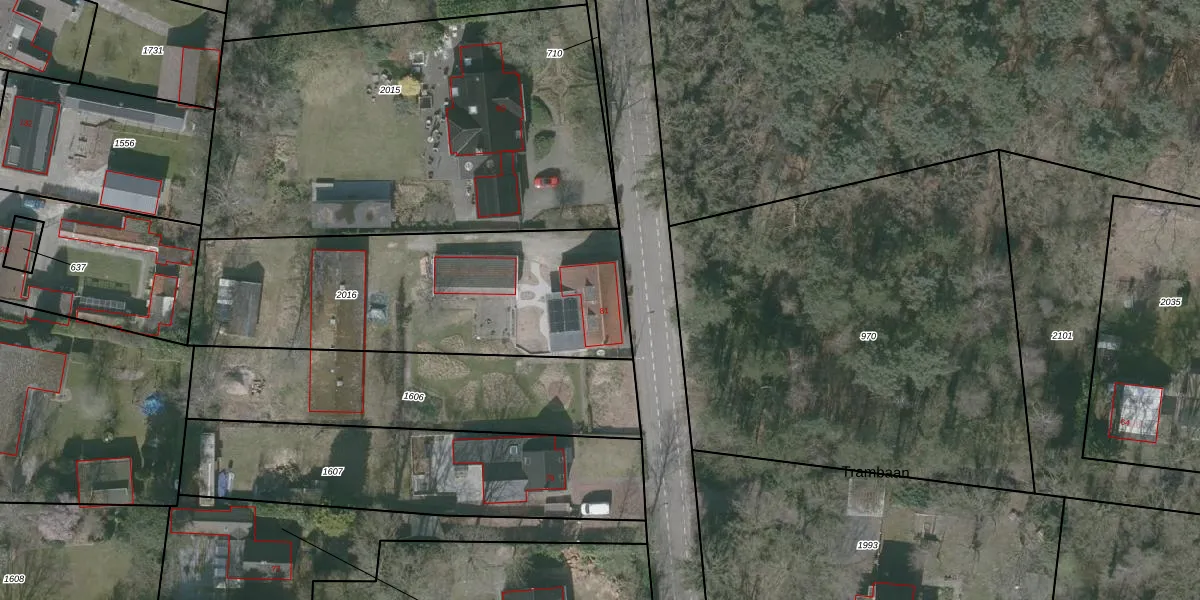
Het adres is gelegen op perceel 2016 in de sectie B en de kadastrale gemeente Ossendrecht. De kadastrale aanduiding is aldus OSD00-B-2016. Het perceel is kleiner dan gemiddeld in Ossendrecht. Het perceel is 1425 m² groot, terwijl het gemiddelde ligt op 5980,77 m². Het grootste perceel in de kadastrale gemeente is 1,07 km². Het kleinste perceel heeft een oppervlakte van 0 m². Dit is het enige adres dat aanwezig is op het perceel. De laatste wijziging in het de Basisregistratie Kadaster (BRK) was op 16-06-2005.
Het adres ligt in een gebouw van het type 'vrijstaande woning'. Bij de laatste meting is voor het adres het energielabel D geregistreerd. Het hoogste energielabel in de straat is A+++; het laagste is G. Het gemiddelde energielabel is er C. Het adres Trambaan 81 heeft als status: 'verblijfsobject in gebruik'. Het pand waarin dit adres ligt heeft als status: 'pand in gebruik'.
Trambaan 81 is een adres gelegen in de gemeente Woensdrecht, provincie Noord-Brabant. Dit adres is geregistreerd in de Basisregistratie Adressen en Gebouwen (BAG) met als unieke identificatie 0873010000449616.
Het pand op Trambaan 81 is gebouwd in 1913, wat betekent dat het 113 jaar oud is. Dit is een ouder pand. Het pand heeft mogelijk aanzienlijke renovaties nodig om aan de huidige standaarden te voldoen.
De woning op Trambaan 81 heeft een gebruiksoppervlakte van 139 m². Dit is gemiddeld vergeleken met de gemiddelde Nederlandse woning, die een oppervlakte heeft van ongeveer 119 m². De gebruiksoppervlakte is de maat die wordt gebruikt in de BAG-registratie, de landelijke registratie van de Nederlandse overheid.
Trambaan 81 heeft als functie: wonen. Deze gebruiksfunctie(s) zijn vastgelegd in de BAG-registratie en geven aan waarvoor het adres officieel mag worden gebruikt.
Trambaan 81 is gelegen op kadastraal perceel OSD00B2016. Deze kadastrale aanduiding is uniek en wordt gebruikt door het Kadaster om eigendomsrechten en andere zakelijke rechten vast te leggen. Het perceel maakt onderdeel uit van de kadastrale gemeente Ossendrecht.
Het perceel waarop Trambaan 81 staat heeft een oppervlakte van 1425 m². Dit is een zeer groot perceel. De perceeloppervlakte wordt geregistreerd door het Kadaster. Gedetailleerde informatie over de maten van dit perceel kunt u vinden in het rapport Kadastrale kaart met maatvoering van Trambaan 81.
De eigenaar van Trambaan 81 is op te vragen op deze pagina.
De informatie over dit adres is afkomstig uit officiële overheidsregistraties, voornamelijk de Basisregistratie Adressen en Gebouwen (BAG) en de Basisregistratie Kadaster (BRK). Deze gegevens worden beheerd door respectievelijk gemeenten en het Kadaster, en worden regelmatig bijgewerkt. Energielabelgegevens komen uit de database van de Rijksdienst voor Ondernemend Nederland (RVO).
