
Het adres Tilgrupweg 18 bevindt zich in de plaats Oude Willem, in de gemeente Oude Willem en de provincie Drenthe. Het perceel waarop het adres gelegen is heeft een oppervlakte van 965 m². Het verblijfsobject is met 59 m² relatief klein. De oppervlakte van het adres is klein vergeleken met de andere objecten in de straat. De oppervlakte van het kleinste object in de straat bedraagt 40 m², terwijl het grootste object 166 m² groot is. In het jaar 1990 is het pand waarin Tilgrupweg 18 ligt gebouwd. Dat is relatief recent: de meeste gebouwen in Nederland zijn gebouwd in de periode 1965-1984. Vergeleken met de andere panden in de straat is dit gebouw nieuw. Het vroegste bouwjaar is er 1969 en het laatste is 2010. De volgende gebruiksdoelen zijn geregistreerd voor dit adres: 'logiesfunctie'.
Deze woning is voor het laatst verkocht op 1 augustus 2007. Meer informatie over deze transactie? Bestel het Woningtransactierapport om de verkoopprijs en andere informatie te zien.
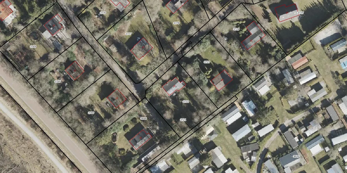
Het adres is gelegen op perceel 3722 in de sectie B en de kadastrale gemeente Diever. De kadastrale aanduiding is aldus DVR00-B-3722. Het perceel is 965 m² groot. Dat is kleiner dan de gemiddelde perceeloppervlakte in Diever, dat op 1,4 ha ligt. De grootste perceeloppervlakte in de kadastrale gemeente is 8,16 km². De kleinste oppervlakte bedraagt 0 m². Dit is het enige adres dat aanwezig is op het perceel. In de Basisregistratie Kadaster (BRK) werden de grenzen van het perceel geregistreerd op 04-01-2000.
Er is geen energielabel geregistreerd voor het adres. Het hoogste energielabel in de straat is B; het laagste is G. Het gemiddelde energielabel is er D. Het adres Tilgrupweg 18 heeft als status: 'verblijfsobject in gebruik'. Het pand waarin dit adres ligt heeft als status: 'pand in gebruik'.
Tilgrupweg 18 is een adres gelegen in de gemeente Westerveld, provincie Drenthe. Dit adres is geregistreerd in de Basisregistratie Adressen en Gebouwen (BAG) met als unieke identificatie 1701010000236853.
Het pand op Tilgrupweg 18 is gebouwd in 1990, wat betekent dat het 36 jaar oud is. Dit is een pand van middelbare leeftijd. Het pand is van gemiddelde leeftijd en zal waarschijnlijk verouderde elementen bevatten.
De woning op Tilgrupweg 18 heeft een gebruiksoppervlakte van 59 m². Dit is relatief klein vergeleken met de gemiddelde Nederlandse woning, die een oppervlakte heeft van ongeveer 119 m². De gebruiksoppervlakte is de maat die wordt gebruikt in de BAG-registratie, de landelijke registratie van de Nederlandse overheid.
Tilgrupweg 18 heeft als functie: logies/verblijf. Deze gebruiksfunctie(s) zijn vastgelegd in de BAG-registratie en geven aan waarvoor het adres officieel mag worden gebruikt.
Tilgrupweg 18 is gelegen op kadastraal perceel DVR00B3722. Deze kadastrale aanduiding is uniek en wordt gebruikt door het Kadaster om eigendomsrechten en andere zakelijke rechten vast te leggen. Het perceel maakt onderdeel uit van de kadastrale gemeente Diever.
Het perceel waarop Tilgrupweg 18 staat heeft een oppervlakte van 965 m². Dit is een groot perceel. De perceeloppervlakte wordt geregistreerd door het Kadaster. Gedetailleerde informatie over de maten van dit perceel kunt u vinden in het rapport Kadastrale kaart met maatvoering van Tilgrupweg 18.
De eigenaar van Tilgrupweg 18 is op te vragen op deze pagina.
De informatie over dit adres is afkomstig uit officiële overheidsregistraties, voornamelijk de Basisregistratie Adressen en Gebouwen (BAG) en de Basisregistratie Kadaster (BRK). Deze gegevens worden beheerd door respectievelijk gemeenten en het Kadaster, en worden regelmatig bijgewerkt. Energielabelgegevens komen uit de database van de Rijksdienst voor Ondernemend Nederland (RVO).
