
Jousterweg 51 is een adres in Oudehaske, dat zich bevindt binnen de gemeentegrenzen van Oudehaske en de grenzen van de provincie Friesland. De oppervlakte bedraagt 2304 m², waarmee het adres groter dan gemiddeld is. De grootte van het perceel waarop het adres ligt is 3630 m². In vergelijking met de andere adressen in de straat is de oppervlakte van dit object relatief groot. Het grootste verblijfsobject heeft een oppervlakte van 5530 m², de oppervlakte van het kleinste object bedraagt 44 m². In het jaar 1993 is het pand waarin Jousterweg 51 ligt gebouwd. Dat is relatief recent: de meeste gebouwen in Nederland zijn gebouwd in de periode 1965-1984. Veel andere gebouwen in de straat zijn ouder dan dit pand. Het oudste pand komt uit het jaar 1750 en het nieuwste uit 2023. Het verblijfsobject heeft de volgende gebruiksdoelen: 'industriefunctie'.
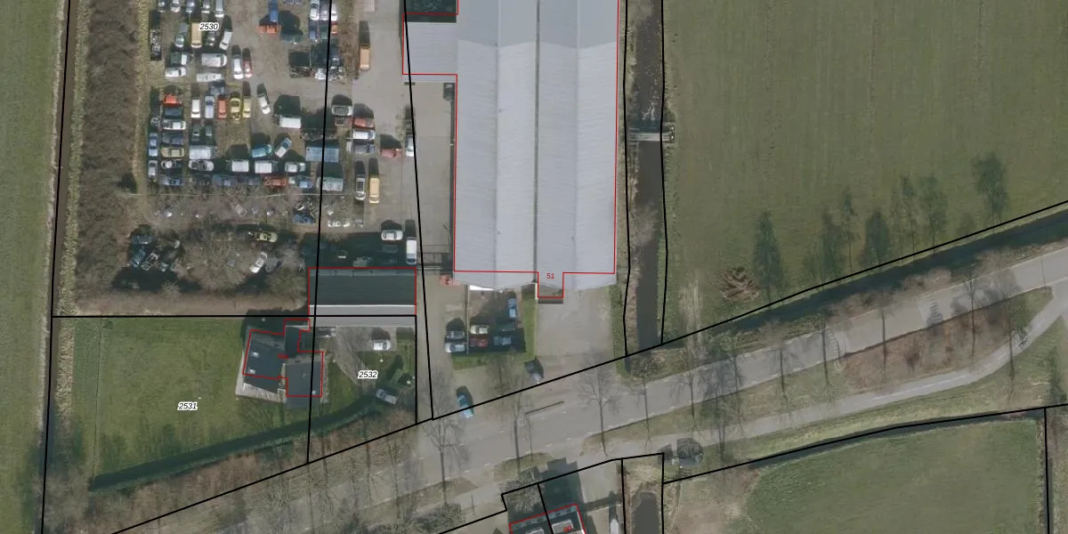
Het perceel waarop het adres ligt is NEK00-L-308. De afkorting 'NEK00' staat voor kadastrale gemeente Nijehaske. Het perceel is kleiner dan gemiddeld in Nijehaske. Het perceel is 3630 m² groot, terwijl het gemiddelde ligt op 9053,25 m². De grootste perceeloppervlakte in de kadastrale gemeente is 40,6 ha. De kleinste oppervlakte bedraagt 0 m². Er zijn geen andere adressen aanwezig op het perceel. De huidige grenzen van het perceel zijn digitaal in de Basisregistratie Kadaster (BRK) geregistreerd op 09-01-2009.
Er is geen energielabel geregistreerd voor het adres. Het hoogste energielabel in de straat is A+++; het laagste is G. Het gemiddelde energielabel is er C. Het adres Jousterweg 51 heeft als status: 'verblijfsobject in gebruik'. Het pand waarin dit adres ligt heeft als status: 'pand in gebruik'.
Jousterweg 51 is een adres gelegen in de gemeente De Fryske Marren, provincie Friesland. Dit adres is geregistreerd in de Basisregistratie Adressen en Gebouwen (BAG) met als unieke identificatie 0051010001258351.
Het pand op Jousterweg 51 is gebouwd in 1993, wat betekent dat het 33 jaar oud is. Dit is een pand van middelbare leeftijd. Het pand is van gemiddelde leeftijd en zal waarschijnlijk verouderde elementen bevatten.
De woning op Jousterweg 51 heeft een gebruiksoppervlakte van 2304 m². Dit is ruim vergeleken met de gemiddelde Nederlandse woning, die een oppervlakte heeft van ongeveer 119 m². De gebruiksoppervlakte is de maat die wordt gebruikt in de BAG-registratie, de landelijke registratie van de Nederlandse overheid.
Jousterweg 51 heeft als functie: industrie. Deze gebruiksfunctie(s) zijn vastgelegd in de BAG-registratie en geven aan waarvoor het adres officieel mag worden gebruikt.
Jousterweg 51 is gelegen op kadastraal perceel NEK00L308. Deze kadastrale aanduiding is uniek en wordt gebruikt door het Kadaster om eigendomsrechten en andere zakelijke rechten vast te leggen. Het perceel maakt onderdeel uit van de kadastrale gemeente Nijehaske.
Het perceel waarop Jousterweg 51 staat heeft een oppervlakte van 3630 m². Dit is een zeer groot perceel. De perceeloppervlakte wordt geregistreerd door het Kadaster. Gedetailleerde informatie over de maten van dit perceel kunt u vinden in het rapport Kadastrale kaart met maatvoering van Jousterweg 51.
De eigenaar van Jousterweg 51 is op te vragen op deze pagina.
De informatie over dit adres is afkomstig uit officiële overheidsregistraties, voornamelijk de Basisregistratie Adressen en Gebouwen (BAG) en de Basisregistratie Kadaster (BRK). Deze gegevens worden beheerd door respectievelijk gemeenten en het Kadaster, en worden regelmatig bijgewerkt. Energielabelgegevens komen uit de database van de Rijksdienst voor Ondernemend Nederland (RVO).
