
Bergstraat 4 is gelegen in de plaats Reek, de gemeente Maashorst en de provincie Noord-Brabant. De oppervlakte van het adres is 132 m². Dat is vergelijkbaar met het gemiddelde Nederlandse oppervlakte van 119 m². De oppervlakte van het perceel waarin het adres ligt is 4050 m². Er zijn geen kleinere objecten in deze straat. De gemiddelde oppervlakte is er 193 m². Het grootste verblijfsobject is 241 m². Het gebouw waarin Bergstraat 4 ligt komt uit het jaar 1953. Objecten die gebouwd zijn vóór 1965 classificeren we hier als oud. Dit pand is het meest recent exemplaar in de straat. Het oudste object komt er uit 1909 en het gemiddelde bouwjaar is 1931. De volgende gebruiksdoelen zijn geregistreerd voor dit adres: 'woonfunctie'.
Deze woning is voor het laatst verkocht op 1 juli 1997. Meer informatie over deze transactie? Bestel het Woningtransactierapport om de verkoopprijs en andere informatie te zien.
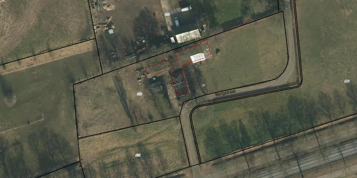
Het adres ligt op het perceel SCH03-L-172, dat zich in de kadastrale gemeente Schaijk bevindt. Het perceel is 4050 m² groot. Dat is kleiner dan de gemiddelde perceeloppervlakte in Schaijk, dat op 5972,12 m² ligt. Het kleinste perceel in de kadastrale gemeente is 0 m² groot. De grootste perceeloppervlakte is 1,17 km². Op het perceel bevinden zich geen andere adressen. De laatste wijziging in het de Basisregistratie Kadaster (BRK) was op 27-08-2007.
Het adres ligt in een gebouw van het type 'vrijstaande woning'. Bij de laatste meting is voor het adres het energielabel C geregistreerd. Het hoogste energielabel in de straat is C; het laagste is G. Het gemiddelde energielabel is er C. Het adres Bergstraat 4 heeft als status: 'verblijfsobject in gebruik'. Het pand waarin dit adres ligt heeft als status: 'pand in gebruik'.
Bergstraat 4 is een adres gelegen in de gemeente Maashorst, provincie Noord-Brabant. Dit adres is geregistreerd in de Basisregistratie Adressen en Gebouwen (BAG) met als unieke identificatie 1685010000000451.
Het pand op Bergstraat 4 is gebouwd in 1953, wat betekent dat het 73 jaar oud is. Dit is een ouder pand. Het pand heeft mogelijk aanzienlijke renovaties nodig om aan de huidige standaarden te voldoen.
De woning op Bergstraat 4 heeft een gebruiksoppervlakte van 132 m². Dit is gemiddeld vergeleken met de gemiddelde Nederlandse woning, die een oppervlakte heeft van ongeveer 119 m². De gebruiksoppervlakte is de maat die wordt gebruikt in de BAG-registratie, de landelijke registratie van de Nederlandse overheid.
Bergstraat 4 heeft als functie: wonen. Deze gebruiksfunctie(s) zijn vastgelegd in de BAG-registratie en geven aan waarvoor het adres officieel mag worden gebruikt.
Bergstraat 4 is gelegen op kadastraal perceel SCH03L172. Deze kadastrale aanduiding is uniek en wordt gebruikt door het Kadaster om eigendomsrechten en andere zakelijke rechten vast te leggen. Het perceel maakt onderdeel uit van de kadastrale gemeente Schaijk.
Het perceel waarop Bergstraat 4 staat heeft een oppervlakte van 4050 m². Dit is een zeer groot perceel. De perceeloppervlakte wordt geregistreerd door het Kadaster. Gedetailleerde informatie over de maten van dit perceel kunt u vinden in het rapport Kadastrale kaart met maatvoering van Bergstraat 4.
De eigenaar van Bergstraat 4 is op te vragen op deze pagina.
De informatie over dit adres is afkomstig uit officiële overheidsregistraties, voornamelijk de Basisregistratie Adressen en Gebouwen (BAG) en de Basisregistratie Kadaster (BRK). Deze gegevens worden beheerd door respectievelijk gemeenten en het Kadaster, en worden regelmatig bijgewerkt. Energielabelgegevens komen uit de database van de Rijksdienst voor Ondernemend Nederland (RVO).
