
Wagenmakerstraat 6-A is gelegen in de plaats Reek, de gemeente Maashorst en de provincie Noord-Brabant. De oppervlakte van het object bedraagt 34 m². Dat is klein vergeleken met het Nederlandse gemiddelde. Het perceel waarop het adres ligt is 957 m² groot. Er zijn geen kleinere objecten in deze straat. De gemiddelde oppervlakte is er 165 m². Het grootste verblijfsobject is 296 m². In het jaar 2025 is het pand waarin Wagenmakerstraat 6-A ligt gebouwd. Dat is relatief recent: de meeste gebouwen in Nederland zijn gebouwd in de periode 1965-1984. In de straat is dit het nieuwste pand en stamt het oudste object uit het jaar 2025. Het gemiddelde bouwjaar in de straat is 2025. Het verblijfsobject heeft de volgende gebruiksdoelen: 'woonfunctie'.
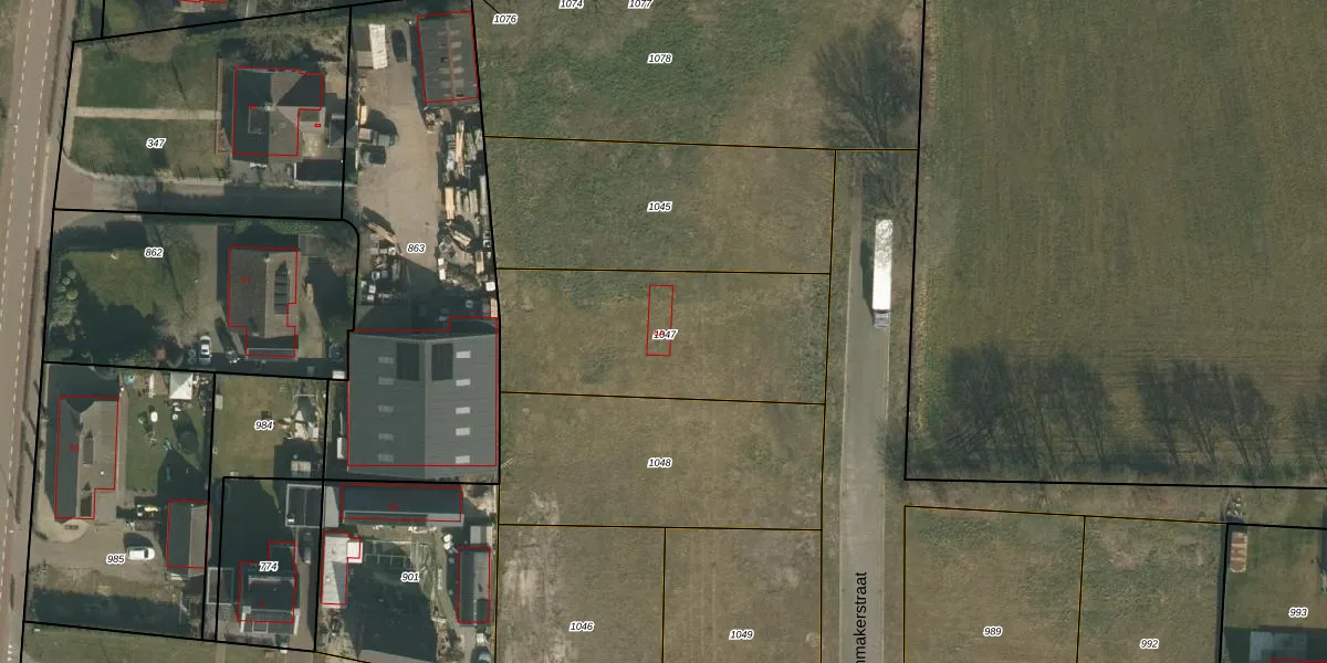
Het adres ligt op het perceel SCH03-L-1047, dat zich in de kadastrale gemeente Schaijk bevindt. Het perceel is kleiner dan gemiddeld in Schaijk. Het perceel is 957 m² groot, terwijl het gemiddelde ligt op 5972,12 m². De grootste perceeloppervlakte in de kadastrale gemeente is 1,17 km². De kleinste oppervlakte bedraagt 0 m². Op het perceel zijn 2 adressen aanwezig. De laatste wijziging in het de Basisregistratie Kadaster (BRK) was op 28-12-2023.
Er is geen energielabel geregistreerd voor het adres. Het hoogste energielabel in de straat is G; het laagste is G. Het gemiddelde energielabel is er G. Het adres Wagenmakerstraat 6-A heeft als status: 'verblijfsobject in gebruik (niet ingemeten)'. Het pand waarin dit adres ligt heeft als status: 'pand in gebruik (niet ingemeten)'.
Wagenmakerstraat 6-A is een adres gelegen in de gemeente Maashorst, provincie Noord-Brabant. Dit adres is geregistreerd in de Basisregistratie Adressen en Gebouwen (BAG) met als unieke identificatie 1991010000422658.
Het pand op Wagenmakerstraat 6-A is gebouwd in 2025, wat betekent dat het 1 jaar oud is. Dit is een vrij nieuw pand. Het pand is dus waarschijnlijk goed geïsoleerd, geluidsdicht en voldoet aan de huidige bouwstandaarden. Op korte termijn zijn er waarschijnlijk weinig onderhoudskosten.
De woning op Wagenmakerstraat 6-A heeft een gebruiksoppervlakte van 34 m². Dit is relatief klein vergeleken met de gemiddelde Nederlandse woning, die een oppervlakte heeft van ongeveer 119 m². De gebruiksoppervlakte is de maat die wordt gebruikt in de BAG-registratie, de landelijke registratie van de Nederlandse overheid.
Wagenmakerstraat 6-A heeft als functie: wonen. Deze gebruiksfunctie(s) zijn vastgelegd in de BAG-registratie en geven aan waarvoor het adres officieel mag worden gebruikt.
Wagenmakerstraat 6-A is gelegen op kadastraal perceel SCH03L1047. Deze kadastrale aanduiding is uniek en wordt gebruikt door het Kadaster om eigendomsrechten en andere zakelijke rechten vast te leggen. Het perceel maakt onderdeel uit van de kadastrale gemeente Schaijk.
Het perceel waarop Wagenmakerstraat 6-A staat heeft een oppervlakte van 957 m². Dit is een groot perceel. De perceeloppervlakte wordt geregistreerd door het Kadaster. Gedetailleerde informatie over de maten van dit perceel kunt u vinden in het rapport Kadastrale kaart met maatvoering van Wagenmakerstraat 6-A.
De eigenaar van Wagenmakerstraat 6-A is op te vragen op deze pagina.
De informatie over dit adres is afkomstig uit officiële overheidsregistraties, voornamelijk de Basisregistratie Adressen en Gebouwen (BAG) en de Basisregistratie Kadaster (BRK). Deze gegevens worden beheerd door respectievelijk gemeenten en het Kadaster, en worden regelmatig bijgewerkt. Energielabelgegevens komen uit de database van de Rijksdienst voor Ondernemend Nederland (RVO).
