
Koordesweg 3 is gelegen in de plaats Rekken, de gemeente Berkelland en de provincie Gelderland. De oppervlakte van het verblijfsobject is met 208 m² aan de grote kant. Het perceel heeft een oppervlakte van 620 m². Vergeleken met de andere verblijfsobjecten in de straat is dit object groot. De oppervlakte van het grootste object in de straat is 218 m², die van het kleinste bedraagt 175 m². Koordesweg 3 bevindt zich in een pand uit het jaar 1920. Daarmee behoort het tot de groep relatief oude panden in Nederland die gebouwd zijn vóór 1965. Het nieuwste gebouw in de straat komt uit 1982 en het oudste uit 1875. Dit object is relatief oud. De volgende gebruiksdoelen zijn geregistreerd voor dit adres: 'woonfunctie'.
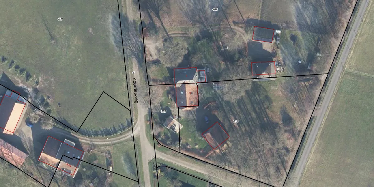
Het adres is gelegen op perceel 252 in de sectie O en de kadastrale gemeente Eibergen. De kadastrale aanduiding is aldus EBG02-O-252. Het perceel is 620 m² groot. Dat is kleiner dan de gemiddelde perceeloppervlakte in Eibergen, dat op 8443,37 m² ligt. Het grootste perceel in de kadastrale gemeente is 33,1 ha. Het kleinste perceel heeft een oppervlakte van 1 m². Op het perceel bevinden zich geen andere adressen. De laatste wijziging in het de Basisregistratie Kadaster (BRK) was op 03-07-2000.
Er is geen energielabel geregistreerd voor het adres. Het hoogste energielabel in de straat is D; het laagste is G. Het gemiddelde energielabel is er D. Het adres Koordesweg 3 heeft als status: 'verblijfsobject in gebruik'. Het pand waarin dit adres ligt heeft als status: 'pand in gebruik'.
Koordesweg 3 is een adres gelegen in de gemeente Berkelland, provincie Gelderland. Dit adres is geregistreerd in de Basisregistratie Adressen en Gebouwen (BAG) met als unieke identificatie 1859010000839667.
Het pand op Koordesweg 3 is gebouwd in 1920, wat betekent dat het 106 jaar oud is. Dit is een ouder pand. Het pand heeft mogelijk aanzienlijke renovaties nodig om aan de huidige standaarden te voldoen.
De woning op Koordesweg 3 heeft een gebruiksoppervlakte van 208 m². Dit is ruim vergeleken met de gemiddelde Nederlandse woning, die een oppervlakte heeft van ongeveer 119 m². De gebruiksoppervlakte is de maat die wordt gebruikt in de BAG-registratie, de landelijke registratie van de Nederlandse overheid.
Koordesweg 3 heeft als functie: wonen. Deze gebruiksfunctie(s) zijn vastgelegd in de BAG-registratie en geven aan waarvoor het adres officieel mag worden gebruikt.
Koordesweg 3 is gelegen op kadastraal perceel EBG02O252. Deze kadastrale aanduiding is uniek en wordt gebruikt door het Kadaster om eigendomsrechten en andere zakelijke rechten vast te leggen. Het perceel maakt onderdeel uit van de kadastrale gemeente Eibergen.
Het perceel waarop Koordesweg 3 staat heeft een oppervlakte van 620 m². Dit is een groot perceel. De perceeloppervlakte wordt geregistreerd door het Kadaster. Gedetailleerde informatie over de maten van dit perceel kunt u vinden in het rapport Kadastrale kaart met maatvoering van Koordesweg 3.
De eigenaar van Koordesweg 3 is op te vragen op deze pagina.
De informatie over dit adres is afkomstig uit officiële overheidsregistraties, voornamelijk de Basisregistratie Adressen en Gebouwen (BAG) en de Basisregistratie Kadaster (BRK). Deze gegevens worden beheerd door respectievelijk gemeenten en het Kadaster, en worden regelmatig bijgewerkt. Energielabelgegevens komen uit de database van de Rijksdienst voor Ondernemend Nederland (RVO).
