
Stokweg 17 is een adres in Rhenen, dat zich bevindt binnen de gemeentegrenzen van Rhenen en de grenzen van de provincie Utrecht. De oppervlakte van het object bedraagt 74 m². Dat is klein vergeleken met het Nederlandse gemiddelde. Het perceel waarop het adres ligt is 508 m² groot. Het object is klein ten opzichte van de andere adressen in de straat. Het grootste verblijfsobject is 1018 m² groot en het kleinste is 2 m². Het adres Stokweg 17 ligt in een relatief oud pand uit het jaar 1958. Panden van vóór het jaar 1965 hebben we hier geclassificeerd als oud. In de straat komt het nieuwste gebouw uit het jaar 2012 en het oudste uit 1852. Het bouwjaar van dit object is relatief oud. De volgende gebruiksdoelen zijn geregistreerd voor dit adres: 'logiesfunctie'.
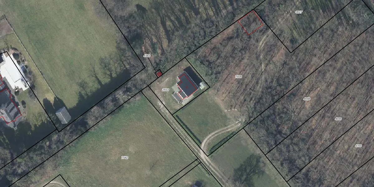
Het perceel waarop het adres ligt is RNN01-H-2933. De afkorting 'RNN01' staat voor kadastrale gemeente Rhenen. Het perceel is 508 m² groot. Dat is kleiner dan de gemiddelde perceeloppervlakte in Rhenen, dat op 4294,49 m² ligt. De grootste perceeloppervlakte in de kadastrale gemeente is 1,05 km². De kleinste oppervlakte bedraagt 0 m². Er zijn geen andere adressen aanwezig op het perceel. De huidige grenzen van het perceel zijn digitaal in de Basisregistratie Kadaster (BRK) geregistreerd op 15-12-2011.
Er is geen energielabel geregistreerd voor het adres. Het hoogste energielabel in de straat is A; het laagste is G. Het gemiddelde energielabel is er C. Het adres Stokweg 17 heeft als status: 'verblijfsobject in gebruik'. Het pand waarin dit adres ligt heeft als status: 'pand in gebruik'.
Stokweg 17 is een adres gelegen in de gemeente Rhenen, provincie Utrecht. Dit adres is geregistreerd in de Basisregistratie Adressen en Gebouwen (BAG) met als unieke identificatie 0340010000348030.
Het pand op Stokweg 17 is gebouwd in 1958, wat betekent dat het 68 jaar oud is. Dit is een ouder pand. Het pand heeft mogelijk aanzienlijke renovaties nodig om aan de huidige standaarden te voldoen.
De woning op Stokweg 17 heeft een gebruiksoppervlakte van 74 m². Dit is relatief klein vergeleken met de gemiddelde Nederlandse woning, die een oppervlakte heeft van ongeveer 119 m². De gebruiksoppervlakte is de maat die wordt gebruikt in de BAG-registratie, de landelijke registratie van de Nederlandse overheid.
Stokweg 17 heeft als functie: logies/verblijf. Deze gebruiksfunctie(s) zijn vastgelegd in de BAG-registratie en geven aan waarvoor het adres officieel mag worden gebruikt.
Stokweg 17 is gelegen op kadastraal perceel RNN01H2933. Deze kadastrale aanduiding is uniek en wordt gebruikt door het Kadaster om eigendomsrechten en andere zakelijke rechten vast te leggen. Het perceel maakt onderdeel uit van de kadastrale gemeente Rhenen.
Het perceel waarop Stokweg 17 staat heeft een oppervlakte van 508 m². Dit is een groot perceel. De perceeloppervlakte wordt geregistreerd door het Kadaster. Gedetailleerde informatie over de maten van dit perceel kunt u vinden in het rapport Kadastrale kaart met maatvoering van Stokweg 17.
De eigenaar van Stokweg 17 is op te vragen op deze pagina.
De informatie over dit adres is afkomstig uit officiële overheidsregistraties, voornamelijk de Basisregistratie Adressen en Gebouwen (BAG) en de Basisregistratie Kadaster (BRK). Deze gegevens worden beheerd door respectievelijk gemeenten en het Kadaster, en worden regelmatig bijgewerkt. Energielabelgegevens komen uit de database van de Rijksdienst voor Ondernemend Nederland (RVO).
