
Herenweg 8 is een adres in Rijnsaterwoude, dat zich bevindt binnen de gemeentegrenzen van Rijnsaterwoude en de grenzen van de provincie Zuid-Holland. De oppervlakte van het verblijfsobject is met 476 m² aan de grote kant. Het perceel heeft een oppervlakte van 3090 m². In vergelijking met de andere adressen in de straat is de oppervlakte van dit object relatief groot. Het grootste verblijfsobject heeft een oppervlakte van 4759 m², de oppervlakte van het kleinste object bedraagt 5 m². Het gebouw waarin Herenweg 8 ligt komt uit het jaar 1680. Objecten die gebouwd zijn vóór 1965 classificeren we hier als oud. Gemiddeld zijn de gebouwen in de straat gebouwd in 1966. Dit is het oudste pand in de straat. Het meest recente komt uit het jaar 2025. Het verblijfsobject heeft de volgende gebruiksdoelen: 'woonfunctie' en 'industriefunctie'.
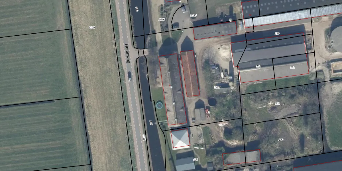
Het perceel waarop het adres ligt is RST00-A-1428. De afkorting 'RST00' staat voor kadastrale gemeente Rijnsaterwoude. Het perceel is kleiner dan gemiddeld in Rijnsaterwoude. Het perceel is 3090 m² groot, terwijl het gemiddelde ligt op 7316,36 m². Het kleinste perceel in de kadastrale gemeente is 3 m² groot. De grootste perceeloppervlakte is 79,0 ha. Op het perceel bevinden zich geen andere adressen. De huidige grenzen van het perceel zijn digitaal in de Basisregistratie Kadaster (BRK) geregistreerd op 16-10-2002.
Er is geen energielabel geregistreerd voor het adres. Het hoogste energielabel in de straat is A++++; het laagste is G. Het gemiddelde energielabel is er B. Het adres Herenweg 8 heeft als status: 'verblijfsobject in gebruik'. Het pand waarin dit adres ligt heeft als status: 'pand in gebruik'.
Herenweg 8 is een adres gelegen in de gemeente Kaag en Braassem, provincie Zuid-Holland. Dit adres is geregistreerd in de Basisregistratie Adressen en Gebouwen (BAG) met als unieke identificatie 1884010000010003.
Het pand op Herenweg 8 is gebouwd in 1680, wat betekent dat het 346 jaar oud is. Dit is een ouder pand. Het pand heeft mogelijk aanzienlijke renovaties nodig om aan de huidige standaarden te voldoen.
De woning op Herenweg 8 heeft een gebruiksoppervlakte van 476 m². Dit is ruim vergeleken met de gemiddelde Nederlandse woning, die een oppervlakte heeft van ongeveer 119 m². De gebruiksoppervlakte is de maat die wordt gebruikt in de BAG-registratie, de landelijke registratie van de Nederlandse overheid.
Herenweg 8 heeft als functie: wonen en industrie. Deze gebruiksfunctie(s) zijn vastgelegd in de BAG-registratie en geven aan waarvoor het adres officieel mag worden gebruikt.
Herenweg 8 is gelegen op kadastraal perceel RST00A1428. Deze kadastrale aanduiding is uniek en wordt gebruikt door het Kadaster om eigendomsrechten en andere zakelijke rechten vast te leggen. Het perceel maakt onderdeel uit van de kadastrale gemeente Rijnsaterwoude.
Het perceel waarop Herenweg 8 staat heeft een oppervlakte van 3090 m². Dit is een zeer groot perceel. De perceeloppervlakte wordt geregistreerd door het Kadaster. Gedetailleerde informatie over de maten van dit perceel kunt u vinden in het rapport Kadastrale kaart met maatvoering van Herenweg 8.
De eigenaar van Herenweg 8 is op te vragen op deze pagina.
De informatie over dit adres is afkomstig uit officiële overheidsregistraties, voornamelijk de Basisregistratie Adressen en Gebouwen (BAG) en de Basisregistratie Kadaster (BRK). Deze gegevens worden beheerd door respectievelijk gemeenten en het Kadaster, en worden regelmatig bijgewerkt. Energielabelgegevens komen uit de database van de Rijksdienst voor Ondernemend Nederland (RVO).
