
Het adres Marderleane 35 bevindt zich in de plaats Rijs, in de gemeente Rijs en de provincie Friesland. Het object heeft een oppervlakte van 220 m², wat relatief groot is. Het perceel waarop het adres ligt is 1838 m² groot. De oppervlakte van dit adres is groot vergeleken met de oppervlaktes van andere adressen in de straat. De kleinste oppervlakte bedraagt er 15 m², de grootste 4442 m². De meeste Nederlandse gebouwen zijn gebouwd in de periode 1965-1984. Zo ook het pand waarin Marderleane 35 ligt, dat gebouwd is in 1972. Het bouwjaar is oud vergeleken met dat van de andere panden in de straat. Het oudste bouwjaar is er 1872 en de nieuwste is 2024. Het verblijfsobject heeft de volgende gebruiksdoelen: 'woonfunctie'.
Deze woning is voor het laatst verkocht op 1 oktober 2023. Meer informatie over deze transactie? Bestel het Woningtransactierapport om de verkoopprijs en andere informatie te zien.
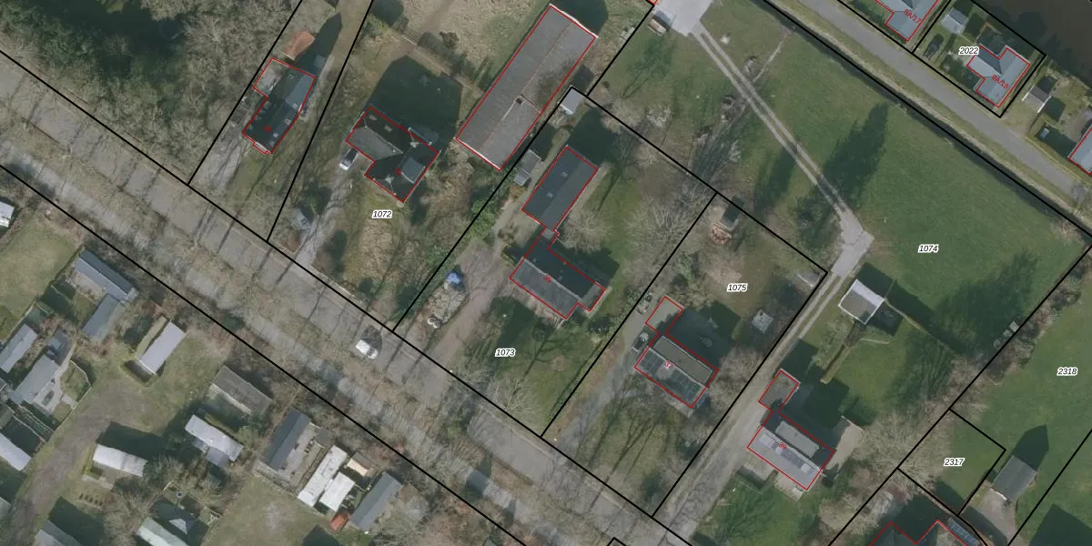
Het adres ligt op het perceel BAL00-L-1073, dat zich in de kadastrale gemeente Balk bevindt. Het perceel is kleiner dan gemiddeld in Balk. Het perceel is 1838 m² groot, terwijl het gemiddelde ligt op 2,0 ha. De grootste perceeloppervlakte in de kadastrale gemeente is 62,29 km². De kleinste oppervlakte bedraagt 0 m². Dit is het enige adres dat aanwezig is op het perceel. In de Basisregistratie Kadaster (BRK) werden de grenzen van het perceel geregistreerd op 15-01-1998.
Het adres ligt in een gebouw van het type 'vrijstaande woning'. Bij de laatste meting is voor het adres het energielabel B geregistreerd. Het hoogste energielabel in de straat is A; het laagste is G. Het gemiddelde energielabel is er C. Het adres Marderleane 35 heeft als status: 'verblijfsobject in gebruik'. Het pand waarin dit adres ligt heeft als status: 'pand in gebruik'.
Marderleane 35 is een adres gelegen in de gemeente De Fryske Marren, provincie Friesland. Dit adres is geregistreerd in de Basisregistratie Adressen en Gebouwen (BAG) met als unieke identificatie 0653010000155674.
Het pand op Marderleane 35 is gebouwd in 1972, wat betekent dat het 54 jaar oud is. Dit is een ouder pand. Het pand heeft mogelijk aanzienlijke renovaties nodig om aan de huidige standaarden te voldoen.
De woning op Marderleane 35 heeft een gebruiksoppervlakte van 220 m². Dit is ruim vergeleken met de gemiddelde Nederlandse woning, die een oppervlakte heeft van ongeveer 119 m². De gebruiksoppervlakte is de maat die wordt gebruikt in de BAG-registratie, de landelijke registratie van de Nederlandse overheid.
Marderleane 35 heeft als functie: wonen. Deze gebruiksfunctie(s) zijn vastgelegd in de BAG-registratie en geven aan waarvoor het adres officieel mag worden gebruikt.
Marderleane 35 is gelegen op kadastraal perceel BAL00L1073. Deze kadastrale aanduiding is uniek en wordt gebruikt door het Kadaster om eigendomsrechten en andere zakelijke rechten vast te leggen. Het perceel maakt onderdeel uit van de kadastrale gemeente Balk.
Het perceel waarop Marderleane 35 staat heeft een oppervlakte van 1838 m². Dit is een zeer groot perceel. De perceeloppervlakte wordt geregistreerd door het Kadaster. Gedetailleerde informatie over de maten van dit perceel kunt u vinden in het rapport Kadastrale kaart met maatvoering van Marderleane 35.
De eigenaar van Marderleane 35 is op te vragen op deze pagina.
De informatie over dit adres is afkomstig uit officiële overheidsregistraties, voornamelijk de Basisregistratie Adressen en Gebouwen (BAG) en de Basisregistratie Kadaster (BRK). Deze gegevens worden beheerd door respectievelijk gemeenten en het Kadaster, en worden regelmatig bijgewerkt. Energielabelgegevens komen uit de database van de Rijksdienst voor Ondernemend Nederland (RVO).
