
Middelweg 56 is een adres in Rockanje, dat zich bevindt binnen de gemeentegrenzen van Rockanje en de grenzen van de provincie Zuid-Holland. De oppervlakte van het verblijfsobject is met 159 m² aan de grote kant. Het perceel heeft een oppervlakte van 2340 m². Het adres is klein vergeleken met andere objecten in de straat. Het grootste object in de straat heeft een oppervlakte van 724 m², het kleinste is 45 m² groot. Het gebouw waarin Middelweg 56 ligt komt uit het jaar 1957. Objecten die gebouwd zijn vóór 1965 classificeren we hier als oud. Het nieuwste gebouw in de straat komt uit 2022 en het oudste uit 1912. Dit object is relatief oud. Voor het verblijfsobject gelden deze gebruiksdoelen: 'woonfunctie'.
Deze woning is voor het laatst verkocht op 1 december 2019. Meer informatie over deze transactie? Bestel het Woningtransactierapport om de verkoopprijs en andere informatie te zien.
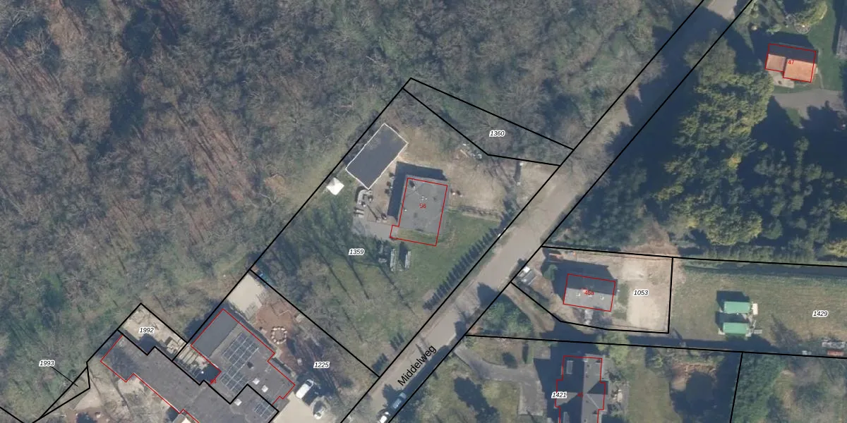
Het adres ligt op het perceel WVN00-B-1359, dat zich in de kadastrale gemeente Westvoorne bevindt. De gemiddelde perceelgrootte in Westvoorne is 2,0 ha. Dit perceel is kleiner: de perceeloppervlakte bedraagt 2340 m². Het kleinste perceel in de kadastrale gemeente is 1 m² groot. De grootste perceeloppervlakte is 18,03 km². Op het perceel bevinden zich geen andere adressen. De huidige grenzen van het perceel zijn digitaal in de Basisregistratie Kadaster (BRK) geregistreerd op 20-07-2020.
Het adres ligt in een gebouw van het type 'vrijstaande woning'. Bij de laatste meting is voor het adres het energielabel E geregistreerd. Het hoogste energielabel in de straat is A++++; het laagste is G. Het gemiddelde energielabel is er C. Het adres Middelweg 56 heeft als status: 'verbouwing verblijfsobject'. Het pand waarin dit adres ligt heeft als status: 'verbouwing pand'.
Middelweg 56 is een adres gelegen in de gemeente Voorne aan Zee, provincie Zuid-Holland. Dit adres is geregistreerd in de Basisregistratie Adressen en Gebouwen (BAG) met als unieke identificatie 0614010000003312.
Het pand op Middelweg 56 is gebouwd in 1957, wat betekent dat het 69 jaar oud is. Dit is een ouder pand. Het pand heeft mogelijk aanzienlijke renovaties nodig om aan de huidige standaarden te voldoen.
De woning op Middelweg 56 heeft een gebruiksoppervlakte van 159 m². Dit is ruim vergeleken met de gemiddelde Nederlandse woning, die een oppervlakte heeft van ongeveer 119 m². De gebruiksoppervlakte is de maat die wordt gebruikt in de BAG-registratie, de landelijke registratie van de Nederlandse overheid.
Middelweg 56 heeft als functie: wonen. Deze gebruiksfunctie(s) zijn vastgelegd in de BAG-registratie en geven aan waarvoor het adres officieel mag worden gebruikt.
Middelweg 56 is gelegen op kadastraal perceel WVN00B1359. Deze kadastrale aanduiding is uniek en wordt gebruikt door het Kadaster om eigendomsrechten en andere zakelijke rechten vast te leggen. Het perceel maakt onderdeel uit van de kadastrale gemeente Westvoorne.
Het perceel waarop Middelweg 56 staat heeft een oppervlakte van 2340 m². Dit is een zeer groot perceel. De perceeloppervlakte wordt geregistreerd door het Kadaster. Gedetailleerde informatie over de maten van dit perceel kunt u vinden in het rapport Kadastrale kaart met maatvoering van Middelweg 56.
De eigenaar van Middelweg 56 is op te vragen op deze pagina.
De informatie over dit adres is afkomstig uit officiële overheidsregistraties, voornamelijk de Basisregistratie Adressen en Gebouwen (BAG) en de Basisregistratie Kadaster (BRK). Deze gegevens worden beheerd door respectievelijk gemeenten en het Kadaster, en worden regelmatig bijgewerkt. Energielabelgegevens komen uit de database van de Rijksdienst voor Ondernemend Nederland (RVO).
