
Hellemonsdreef 17 is een adres in Roosendaal, dat zich bevindt binnen de gemeentegrenzen van Roosendaal en de grenzen van de provincie Noord-Brabant. De oppervlakte van het adres is 118 m². Dat is vergelijkbaar met het gemiddelde Nederlandse oppervlakte van 119 m². De oppervlakte van het perceel waarin het adres ligt is 2,7 ha. In de straat is dit het kleinste object. Het grootste verblijfsobject heeft een oppervlakte van 460 m². De gemiddelde grootte is er 244 m². Hellemonsdreef 17 ligt in een gebouw uit het jaar 1993. Daarmee behoort het tot de groep panden van na 1984, die we als relatief nieuw bestempelen. Dit object is relatief nieuw in de straat. Het nieuwste gebouw komt er uit het jaar 2004 en het oudste uit het jaar 1955. Het verblijfsobject heeft de volgende gebruiksdoelen: 'woonfunctie'.
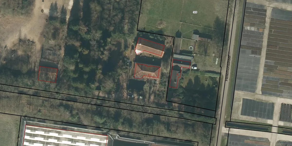
Het perceel waarop het adres ligt is RSD00-S-310. De afkorting 'RSD00' staat voor kadastrale gemeente Roosendaal en Nispen. De gemiddelde perceeloppervlakte in de kadastrale gemeente Roosendaal en Nispen is 1872,92 m². Dit perceel is met zijn 2,7 ha dus groter dan gemiddeld. Het grootste perceel in de kadastrale gemeente is 29,8 ha. Het kleinste perceel heeft een oppervlakte van 0 m². Op het perceel bevinden zich geen andere adressen. De huidige grenzen van het perceel zijn digitaal in de Basisregistratie Kadaster (BRK) geregistreerd op 28-10-2009.
Er is geen energielabel geregistreerd voor het adres. Het hoogste energielabel in de straat is G; het laagste is G. Het gemiddelde energielabel is er G. Het adres Hellemonsdreef 17 heeft als status: 'verblijfsobject in gebruik'. Het pand waarin dit adres ligt heeft als status: 'pand in gebruik'.
Hellemonsdreef 17 is een adres gelegen in de gemeente Roosendaal, provincie Noord-Brabant. Dit adres is geregistreerd in de Basisregistratie Adressen en Gebouwen (BAG) met als unieke identificatie 1674010000043008.
Het pand op Hellemonsdreef 17 is gebouwd in 1993, wat betekent dat het 33 jaar oud is. Dit is een pand van middelbare leeftijd. Het pand is van gemiddelde leeftijd en zal waarschijnlijk verouderde elementen bevatten.
De woning op Hellemonsdreef 17 heeft een gebruiksoppervlakte van 118 m². Dit is onder het gemiddelde vergeleken met de gemiddelde Nederlandse woning, die een oppervlakte heeft van ongeveer 119 m². De gebruiksoppervlakte is de maat die wordt gebruikt in de BAG-registratie, de landelijke registratie van de Nederlandse overheid.
Hellemonsdreef 17 heeft als functie: wonen. Deze gebruiksfunctie(s) zijn vastgelegd in de BAG-registratie en geven aan waarvoor het adres officieel mag worden gebruikt.
Hellemonsdreef 17 is gelegen op kadastraal perceel RSD00S310. Deze kadastrale aanduiding is uniek en wordt gebruikt door het Kadaster om eigendomsrechten en andere zakelijke rechten vast te leggen. Het perceel maakt onderdeel uit van de kadastrale gemeente Roosendaal en Nispen.
Het perceel waarop Hellemonsdreef 17 staat heeft een oppervlakte van 2,7 ha. Dit is een zeer groot perceel. De perceeloppervlakte wordt geregistreerd door het Kadaster. Gedetailleerde informatie over de maten van dit perceel kunt u vinden in het rapport Kadastrale kaart met maatvoering van Hellemonsdreef 17.
De eigenaar van Hellemonsdreef 17 is op te vragen op deze pagina.
De informatie over dit adres is afkomstig uit officiële overheidsregistraties, voornamelijk de Basisregistratie Adressen en Gebouwen (BAG) en de Basisregistratie Kadaster (BRK). Deze gegevens worden beheerd door respectievelijk gemeenten en het Kadaster, en worden regelmatig bijgewerkt. Energielabelgegevens komen uit de database van de Rijksdienst voor Ondernemend Nederland (RVO).
