
Het adres Hoofdweg 262-15 bevindt zich in de plaats Rotterdam, in de gemeente Rotterdam en de provincie Zuid-Holland. Het perceel waarop het adres gelegen is heeft een oppervlakte van 6080 m². Het verblijfsobject is met 14 m² relatief klein. Het object is klein ten opzichte van de andere adressen in de straat. Het grootste verblijfsobject is 3757 m² groot en het kleinste is 5 m². Hoofdweg 262-15 ligt in een gebouw uit het jaar 2025. Daarmee behoort het tot de groep panden van na 1984, die we als relatief nieuw bestempelen. Vergeleken met de andere panden in de straat is dit gebouw nieuw. Het vroegste bouwjaar is er 1890 en het laatste is 2026. Voor het verblijfsobject gelden deze gebruiksdoelen: 'woonfunctie'.
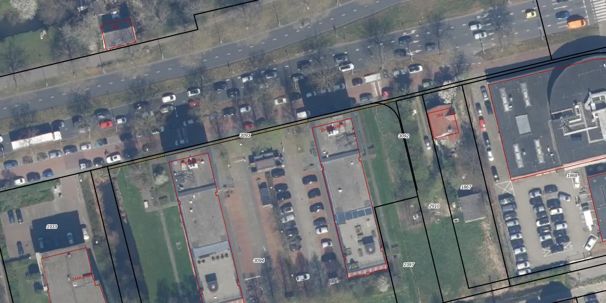
Het perceel waarop het adres ligt is KLG00-K-3094. De afkorting 'KLG00' staat voor kadastrale gemeente Kralingen. Het perceel is met 6080 m² relatief groot. Het gemiddelde ligt in de kadastrale gemeente Kralingen op 1359,43 m². Het grootste perceel in de kadastrale gemeente is 1,32 km². Het kleinste perceel heeft een oppervlakte van 0 m². Er zijn 311 adressen aanwezig op het perceel. In de Basisregistratie Kadaster (BRK) werden de grenzen van het perceel geregistreerd op 16-01-2026.
Er is geen energielabel geregistreerd voor het adres. Het hoogste energielabel in de straat is A+; het laagste is G. Het gemiddelde energielabel is er B. Het adres Hoofdweg 262-15 heeft als status: 'verblijfsobject gevormd'. Het pand waarin dit adres ligt heeft als status: 'bouw gestart'.
Hoofdweg 262-15 is een adres gelegen in de gemeente Rotterdam, provincie Zuid-Holland. Dit adres is geregistreerd in de Basisregistratie Adressen en Gebouwen (BAG) met als unieke identificatie 0599010110044281.
Het pand op Hoofdweg 262-15 is gebouwd in 2025, wat betekent dat het 1 jaar oud is. Dit is een vrij nieuw pand. Het pand is dus waarschijnlijk goed geïsoleerd, geluidsdicht en voldoet aan de huidige bouwstandaarden. Op korte termijn zijn er waarschijnlijk weinig onderhoudskosten.
De woning op Hoofdweg 262-15 heeft een gebruiksoppervlakte van 14 m². Dit is relatief klein vergeleken met de gemiddelde Nederlandse woning, die een oppervlakte heeft van ongeveer 119 m². De gebruiksoppervlakte is de maat die wordt gebruikt in de BAG-registratie, de landelijke registratie van de Nederlandse overheid.
Hoofdweg 262-15 heeft als functie: wonen. Deze gebruiksfunctie(s) zijn vastgelegd in de BAG-registratie en geven aan waarvoor het adres officieel mag worden gebruikt.
Hoofdweg 262-15 is gelegen op kadastraal perceel KLG00K3094. Deze kadastrale aanduiding is uniek en wordt gebruikt door het Kadaster om eigendomsrechten en andere zakelijke rechten vast te leggen. Het perceel maakt onderdeel uit van de kadastrale gemeente Kralingen.
Het perceel waarop Hoofdweg 262-15 staat heeft een oppervlakte van 6080 m². Dit is een zeer groot perceel. De perceeloppervlakte wordt geregistreerd door het Kadaster. Gedetailleerde informatie over de maten van dit perceel kunt u vinden in het rapport Kadastrale kaart met maatvoering van Hoofdweg 262-15.
De eigenaar van Hoofdweg 262-15 is op te vragen op deze pagina.
De informatie over dit adres is afkomstig uit officiële overheidsregistraties, voornamelijk de Basisregistratie Adressen en Gebouwen (BAG) en de Basisregistratie Kadaster (BRK). Deze gegevens worden beheerd door respectievelijk gemeenten en het Kadaster, en worden regelmatig bijgewerkt. Energielabelgegevens komen uit de database van de Rijksdienst voor Ondernemend Nederland (RVO).
