
Het adres Lemsterweg 32 bevindt zich in de plaats Rutten, in de gemeente Rutten en de provincie Flevoland. De oppervlakte van het adres is 147 m². Dat is vergelijkbaar met het gemiddelde Nederlandse oppervlakte van 119 m². De oppervlakte van het perceel waarin het adres ligt is 1180 m². De oppervlakte van het adres is klein vergeleken met de andere objecten in de straat. De oppervlakte van het kleinste object in de straat bedraagt 2 m², terwijl het grootste object 2261 m² groot is. Het gebouw waarin Lemsterweg 32 ligt komt uit het jaar 1954. Objecten die gebouwd zijn vóór 1965 classificeren we hier als oud. Het nieuwste gebouw in de straat komt uit 2024 en het oudste uit 1951. Dit object is relatief oud. De volgende gebruiksdoelen zijn geregistreerd voor dit adres: 'woonfunctie' en 'industriefunctie'.
Deze woning is voor het laatst verkocht op 1 april 1998. Meer informatie over deze transactie? Bestel het Woningtransactierapport om de verkoopprijs en andere informatie te zien.
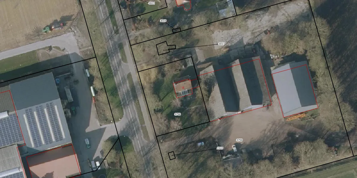
Het adres is gelegen op perceel 3758 in de sectie F en de kadastrale gemeente Noordoostpolder. De kadastrale aanduiding is aldus NOP00-F-3758. Het perceel is 1180 m² groot. Dat is kleiner dan de gemiddelde perceeloppervlakte in Noordoostpolder, dat op 2,1 ha ligt. Het kleinste perceel in de kadastrale gemeente is 0 m² groot. De grootste perceeloppervlakte is 47,42 km². Op het perceel bevinden zich geen andere adressen. In de Basisregistratie Kadaster (BRK) werden de grenzen van het perceel geregistreerd op 18-02-2026.
Er is geen energielabel geregistreerd voor het adres. Het hoogste energielabel in de straat is A+; het laagste is G. Het gemiddelde energielabel is er C. Het adres Lemsterweg 32 heeft als status: 'verblijfsobject in gebruik'. Het pand waarin dit adres ligt heeft als status: 'pand in gebruik'.
Lemsterweg 32 is een adres gelegen in de gemeente Noordoostpolder, provincie Flevoland. Dit adres is geregistreerd in de Basisregistratie Adressen en Gebouwen (BAG) met als unieke identificatie 0171010000027034.
Het pand op Lemsterweg 32 is gebouwd in 1954, wat betekent dat het 72 jaar oud is. Dit is een ouder pand. Het pand heeft mogelijk aanzienlijke renovaties nodig om aan de huidige standaarden te voldoen.
De woning op Lemsterweg 32 heeft een gebruiksoppervlakte van 147 m². Dit is gemiddeld vergeleken met de gemiddelde Nederlandse woning, die een oppervlakte heeft van ongeveer 119 m². De gebruiksoppervlakte is de maat die wordt gebruikt in de BAG-registratie, de landelijke registratie van de Nederlandse overheid.
Lemsterweg 32 heeft als functie: wonen en industrie. Deze gebruiksfunctie(s) zijn vastgelegd in de BAG-registratie en geven aan waarvoor het adres officieel mag worden gebruikt.
Lemsterweg 32 is gelegen op kadastraal perceel NOP00F3758. Deze kadastrale aanduiding is uniek en wordt gebruikt door het Kadaster om eigendomsrechten en andere zakelijke rechten vast te leggen. Het perceel maakt onderdeel uit van de kadastrale gemeente Noordoostpolder.
Het perceel waarop Lemsterweg 32 staat heeft een oppervlakte van 1180 m². Dit is een zeer groot perceel. De perceeloppervlakte wordt geregistreerd door het Kadaster. Gedetailleerde informatie over de maten van dit perceel kunt u vinden in het rapport Kadastrale kaart met maatvoering van Lemsterweg 32.
De eigenaar van Lemsterweg 32 is op te vragen op deze pagina.
De informatie over dit adres is afkomstig uit officiële overheidsregistraties, voornamelijk de Basisregistratie Adressen en Gebouwen (BAG) en de Basisregistratie Kadaster (BRK). Deze gegevens worden beheerd door respectievelijk gemeenten en het Kadaster, en worden regelmatig bijgewerkt. Energielabelgegevens komen uit de database van de Rijksdienst voor Ondernemend Nederland (RVO).
