
Nieuwlandsweg 8 is gelegen in de plaats Ryptsjerk, de gemeente Tytsjerksteradiel en de provincie Friesland. Het object heeft een oppervlakte van 191 m², wat relatief groot is. Het perceel waarop het adres ligt is 4215 m² groot. Het object is klein ten opzichte van de andere adressen in de straat. Het grootste verblijfsobject is 1092 m² groot en het kleinste is 61 m². Het gebouw waarin Nieuwlandsweg 8 ligt komt uit het jaar 1886. Objecten die gebouwd zijn vóór 1965 classificeren we hier als oud. Het bouwjaar is oud vergeleken met dat van de andere panden in de straat. Het oudste bouwjaar is er 1850 en de nieuwste is 2025. De volgende gebruiksdoelen zijn geregistreerd voor dit adres: 'woonfunctie'.
Deze woning is voor het laatst verkocht op 1 april 2019. Meer informatie over deze transactie? Bestel het Woningtransactierapport om de verkoopprijs en andere informatie te zien.
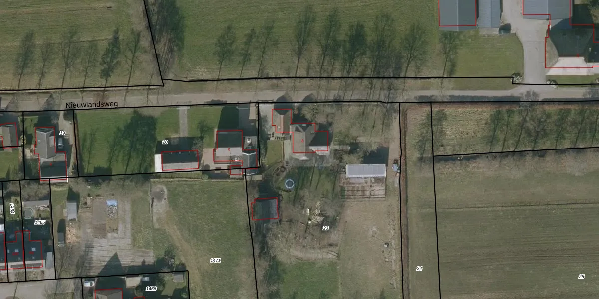
Het perceel waarop het adres ligt is HDG00-H-23. De afkorting 'HDG00' staat voor kadastrale gemeente Hardegarijp. Het perceel is 4215 m² groot. Dat is kleiner dan de gemiddelde perceeloppervlakte in Hardegarijp, dat op 6479,79 m² ligt. Het kleinste perceel in de kadastrale gemeente is 0 m² groot. De grootste perceeloppervlakte is 36,3 ha. Dit is het enige adres dat aanwezig is op het perceel. De laatste wijziging in het de Basisregistratie Kadaster (BRK) was op 26-09-2003.
Het adres ligt in een gebouw van het type 'vrijstaande woning'. Bij de laatste meting is voor het adres het energielabel G geregistreerd. Het hoogste energielabel in de straat is C; het laagste is G. Het gemiddelde energielabel is er F. Het adres Nieuwlandsweg 8 heeft als status: 'verblijfsobject in gebruik'. Het pand waarin dit adres ligt heeft als status: 'pand in gebruik'.
Nieuwlandsweg 8 is een adres gelegen in de gemeente Tytsjerksteradiel, provincie Friesland. Dit adres is geregistreerd in de Basisregistratie Adressen en Gebouwen (BAG) met als unieke identificatie 0737010000010775.
Het pand op Nieuwlandsweg 8 is gebouwd in 1886, wat betekent dat het 140 jaar oud is. Dit is een ouder pand. Het pand heeft mogelijk aanzienlijke renovaties nodig om aan de huidige standaarden te voldoen.
De woning op Nieuwlandsweg 8 heeft een gebruiksoppervlakte van 191 m². Dit is ruim vergeleken met de gemiddelde Nederlandse woning, die een oppervlakte heeft van ongeveer 119 m². De gebruiksoppervlakte is de maat die wordt gebruikt in de BAG-registratie, de landelijke registratie van de Nederlandse overheid.
Nieuwlandsweg 8 heeft als functie: wonen. Deze gebruiksfunctie(s) zijn vastgelegd in de BAG-registratie en geven aan waarvoor het adres officieel mag worden gebruikt.
Nieuwlandsweg 8 is gelegen op kadastraal perceel HDG00H23. Deze kadastrale aanduiding is uniek en wordt gebruikt door het Kadaster om eigendomsrechten en andere zakelijke rechten vast te leggen. Het perceel maakt onderdeel uit van de kadastrale gemeente Hardegarijp.
Het perceel waarop Nieuwlandsweg 8 staat heeft een oppervlakte van 4215 m². Dit is een zeer groot perceel. De perceeloppervlakte wordt geregistreerd door het Kadaster. Gedetailleerde informatie over de maten van dit perceel kunt u vinden in het rapport Kadastrale kaart met maatvoering van Nieuwlandsweg 8.
De eigenaar van Nieuwlandsweg 8 is op te vragen op deze pagina.
De informatie over dit adres is afkomstig uit officiële overheidsregistraties, voornamelijk de Basisregistratie Adressen en Gebouwen (BAG) en de Basisregistratie Kadaster (BRK). Deze gegevens worden beheerd door respectievelijk gemeenten en het Kadaster, en worden regelmatig bijgewerkt. Energielabelgegevens komen uit de database van de Rijksdienst voor Ondernemend Nederland (RVO).
