
Spijkerstraat 2 is gelegen in de plaats Schaijk, de gemeente Maashorst en de provincie Noord-Brabant. De oppervlakte bedraagt 291 m², waarmee het adres groter dan gemiddeld is. De grootte van het perceel waarop het adres ligt is 3115 m². Dit is het adres met de grootste oppervlakte van alle adressen in de straat. Gemiddeld hebben de objecten in de straat een oppervlakte van 174 m². De kleinste oppervlakte is er 10 m². Spijkerstraat 2 ligt in een gebouw uit het jaar 2013. Daarmee behoort het tot de groep panden van na 1984, die we als relatief nieuw bestempelen. In de straat is dit het nieuwste pand en stamt het oudste object uit het jaar 1983. Het gemiddelde bouwjaar in de straat is 2003. De volgende gebruiksdoelen zijn geregistreerd voor dit adres: 'woonfunctie'.
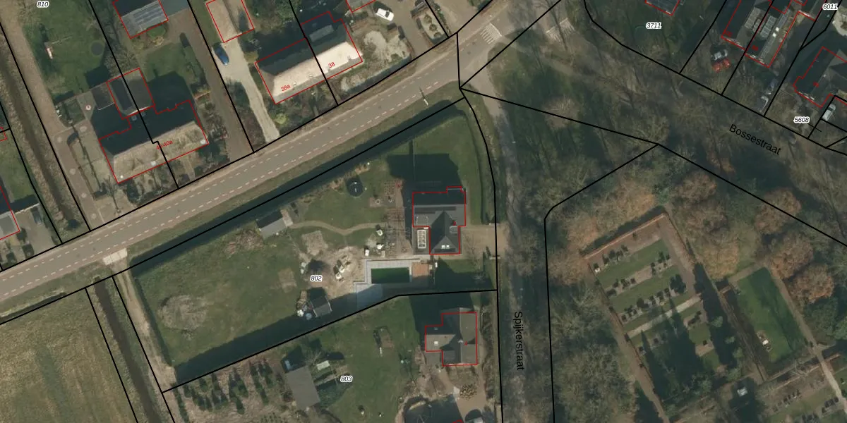
Het adres ligt op het perceel SCH03-H-802, dat zich in de kadastrale gemeente Schaijk bevindt. Het perceel is 3115 m² groot. Dat is kleiner dan de gemiddelde perceeloppervlakte in Schaijk, dat op 5968,64 m² ligt. Het grootste perceel in de kadastrale gemeente is 1,17 km². Het kleinste perceel heeft een oppervlakte van 0 m². Er zijn geen andere adressen aanwezig op het perceel. De laatste wijziging in het de Basisregistratie Kadaster (BRK) was op 08-08-2014.
Er is geen energielabel geregistreerd voor het adres. Het hoogste energielabel in de straat is G; het laagste is G. Het gemiddelde energielabel is er G. Het adres Spijkerstraat 2 heeft als status: 'verblijfsobject in gebruik'. Het pand waarin dit adres ligt heeft als status: 'pand in gebruik'.
Spijkerstraat 2 is een adres gelegen in de gemeente Maashorst, provincie Noord-Brabant. Dit adres is geregistreerd in de Basisregistratie Adressen en Gebouwen (BAG) met als unieke identificatie 1685010000006875.
Het pand op Spijkerstraat 2 is gebouwd in 2013, wat betekent dat het 13 jaar oud is. Dit is een relatief modern pand. Ten opzichte van de nationale woningvoorraad is het pand relatief modern, maar er kunnen enkele verouderde elementen zijn die aandacht nodig hebben.
De woning op Spijkerstraat 2 heeft een gebruiksoppervlakte van 291 m². Dit is ruim vergeleken met de gemiddelde Nederlandse woning, die een oppervlakte heeft van ongeveer 119 m². De gebruiksoppervlakte is de maat die wordt gebruikt in de BAG-registratie, de landelijke registratie van de Nederlandse overheid.
Spijkerstraat 2 heeft als functie: wonen. Deze gebruiksfunctie(s) zijn vastgelegd in de BAG-registratie en geven aan waarvoor het adres officieel mag worden gebruikt.
Spijkerstraat 2 is gelegen op kadastraal perceel SCH03H802. Deze kadastrale aanduiding is uniek en wordt gebruikt door het Kadaster om eigendomsrechten en andere zakelijke rechten vast te leggen. Het perceel maakt onderdeel uit van de kadastrale gemeente Schaijk.
Het perceel waarop Spijkerstraat 2 staat heeft een oppervlakte van 3115 m². Dit is een zeer groot perceel. De perceeloppervlakte wordt geregistreerd door het Kadaster. Gedetailleerde informatie over de maten van dit perceel kunt u vinden in het rapport Kadastrale kaart met maatvoering van Spijkerstraat 2.
De eigenaar van Spijkerstraat 2 is op te vragen op deze pagina.
De informatie over dit adres is afkomstig uit officiële overheidsregistraties, voornamelijk de Basisregistratie Adressen en Gebouwen (BAG) en de Basisregistratie Kadaster (BRK). Deze gegevens worden beheerd door respectievelijk gemeenten en het Kadaster, en worden regelmatig bijgewerkt. Energielabelgegevens komen uit de database van de Rijksdienst voor Ondernemend Nederland (RVO).
