
Het adres Kooipad 1-F bevindt zich in de plaats Schiermonnikoog, in de gemeente Schiermonnikoog en de provincie Friesland. Het verblijfsobject is vergeleken met het Nederlandse gemiddelde aan de kleine kant: de oppervlakte is 35 m². Het perceel waarop het adres zich bevindt heeft een oppervlakte van 8,7 ha. Dit is het kleinste object van de straat. De gemiddelde oppervlakte van verblijfsobjecten is er 225 m². De grootste oppervlakte in de straat is 1162 m². Het pand waarin Kooipad 1-F ligt is gebouwd in het jaar 1996. Panden die gebouwd zijn na het jaar 1984 noemen we hier relatief nieuw. Dit object is relatief nieuw in de straat. Het nieuwste gebouw komt er uit het jaar 2013 en het oudste uit het jaar 1850. De volgende gebruiksdoelen zijn geregistreerd voor dit adres: 'logiesfunctie'.
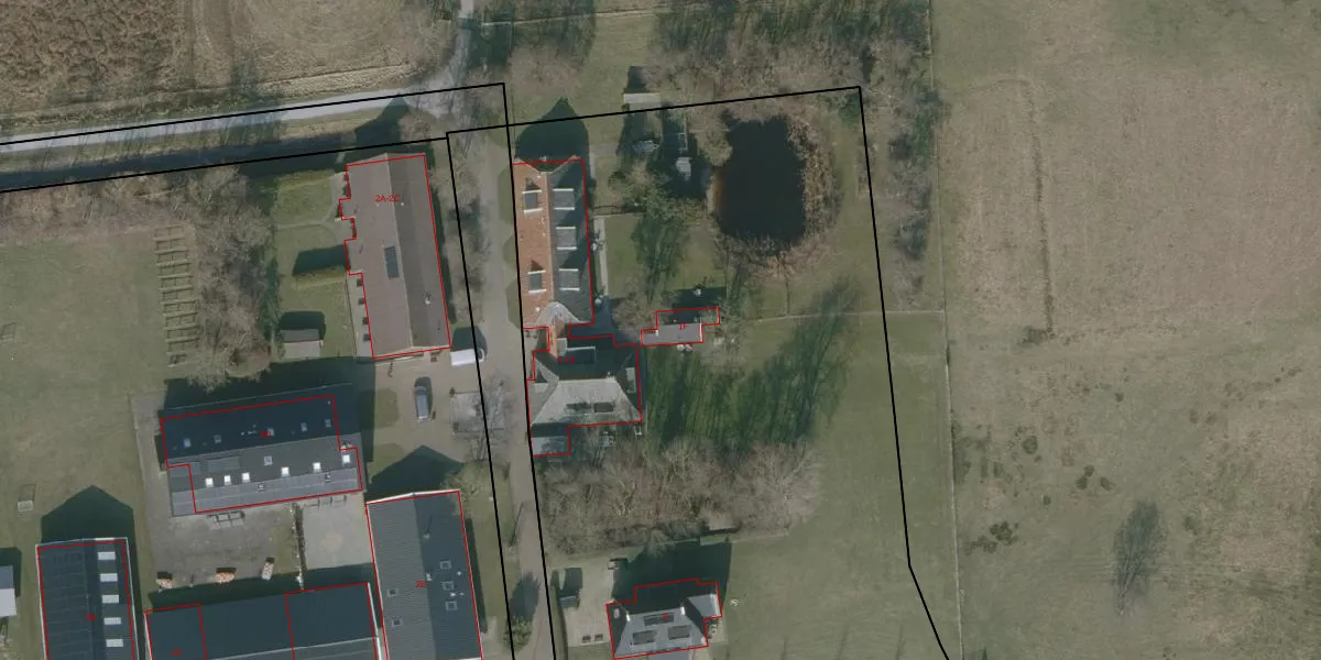
Het adres is gelegen op perceel 2784 in de sectie B en de kadastrale gemeente Schiermonnikoog. De kadastrale aanduiding is aldus SMN01-B-2784. Het perceel is 8,7 ha groot. Dat is kleiner dan de gemiddelde perceeloppervlakte in Schiermonnikoog, dat op 11,8 ha ligt. Het kleinste perceel in de kadastrale gemeente is 1 m² groot. De grootste perceeloppervlakte is 55,54 km². Op het perceel liggen in totaal 8 adressen. In de Basisregistratie Kadaster (BRK) werden de grenzen van het perceel geregistreerd op 08-01-2001.
Er is geen energielabel geregistreerd voor het adres. Het hoogste energielabel in de straat is G; het laagste is G. Het gemiddelde energielabel is er G. Het adres Kooipad 1-F heeft als status: 'verblijfsobject in gebruik'. Het pand waarin dit adres ligt heeft als status: 'pand in gebruik'.
Kooipad 1-F is een adres gelegen in de gemeente Schiermonnikoog, provincie Friesland. Dit adres is geregistreerd in de Basisregistratie Adressen en Gebouwen (BAG) met als unieke identificatie 0088010000200487.
Het pand op Kooipad 1-F is gebouwd in 1996, wat betekent dat het 30 jaar oud is. Dit is een pand van middelbare leeftijd. Het pand is van gemiddelde leeftijd en zal waarschijnlijk verouderde elementen bevatten.
De woning op Kooipad 1-F heeft een gebruiksoppervlakte van 35 m². Dit is relatief klein vergeleken met de gemiddelde Nederlandse woning, die een oppervlakte heeft van ongeveer 119 m². De gebruiksoppervlakte is de maat die wordt gebruikt in de BAG-registratie, de landelijke registratie van de Nederlandse overheid.
Kooipad 1-F heeft als functie: logies/verblijf. Deze gebruiksfunctie(s) zijn vastgelegd in de BAG-registratie en geven aan waarvoor het adres officieel mag worden gebruikt.
Kooipad 1-F is gelegen op kadastraal perceel SMN01B2784. Deze kadastrale aanduiding is uniek en wordt gebruikt door het Kadaster om eigendomsrechten en andere zakelijke rechten vast te leggen. Het perceel maakt onderdeel uit van de kadastrale gemeente Schiermonnikoog.
Het perceel waarop Kooipad 1-F staat heeft een oppervlakte van 8,7 ha. Dit is een zeer groot perceel. De perceeloppervlakte wordt geregistreerd door het Kadaster. Gedetailleerde informatie over de maten van dit perceel kunt u vinden in het rapport Kadastrale kaart met maatvoering van Kooipad 1-F.
De eigenaar van Kooipad 1-F is op te vragen op deze pagina.
De informatie over dit adres is afkomstig uit officiële overheidsregistraties, voornamelijk de Basisregistratie Adressen en Gebouwen (BAG) en de Basisregistratie Kadaster (BRK). Deze gegevens worden beheerd door respectievelijk gemeenten en het Kadaster, en worden regelmatig bijgewerkt. Energielabelgegevens komen uit de database van de Rijksdienst voor Ondernemend Nederland (RVO).
