
Het adres Hardekamp 8 bevindt zich in de plaats Schijndel, in de gemeente Schijndel en de provincie Noord-Brabant. Het object heeft een oppervlakte van 414 m², wat relatief groot is. Het perceel waarop het adres ligt is 1,1 ha groot. Dit is het adres met de grootste oppervlakte van alle adressen in de straat. Gemiddeld hebben de objecten in de straat een oppervlakte van 284 m². De kleinste oppervlakte is er 11 m². De meeste Nederlandse gebouwen zijn gebouwd in de periode 1965-1984. Zo ook het pand waarin Hardekamp 8 ligt, dat gebouwd is in 1969. Vergeleken met de andere panden in de straat is dit gebouw nieuw. Het vroegste bouwjaar is er 1905 en het laatste is 2025. Het verblijfsobject heeft de volgende gebruiksdoelen: 'woonfunctie'.
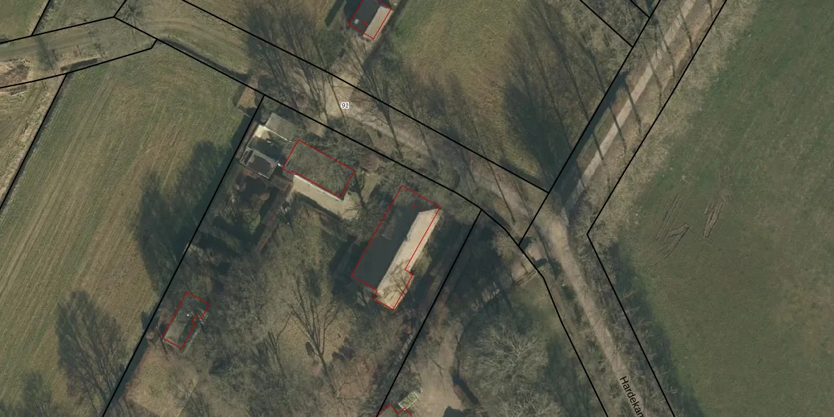
Het adres ligt op het perceel SDL00-O-150, dat zich in de kadastrale gemeente Schijndel bevindt. De gemiddelde perceeloppervlakte in de kadastrale gemeente Schijndel is 2928,71 m². Dit perceel is met zijn 1,1 ha dus groter dan gemiddeld. De grootste perceeloppervlakte in de kadastrale gemeente is 41,5 ha. De kleinste oppervlakte bedraagt 0 m². Dit is het enige adres dat aanwezig is op het perceel. In de Basisregistratie Kadaster (BRK) werden de grenzen van het perceel geregistreerd op 12-10-2015.
Er is geen energielabel geregistreerd voor het adres. Het hoogste energielabel in de straat is G; het laagste is G. Het gemiddelde energielabel is er G. Het adres Hardekamp 8 heeft als status: 'verblijfsobject in gebruik'. Het pand waarin dit adres ligt heeft als status: 'pand in gebruik'.
Hardekamp 8 is een adres gelegen in de gemeente Meierijstad, provincie Noord-Brabant. Dit adres is geregistreerd in de Basisregistratie Adressen en Gebouwen (BAG) met als unieke identificatie 0844010000103314.
Het pand op Hardekamp 8 is gebouwd in 1969, wat betekent dat het 57 jaar oud is. Dit is een ouder pand. Het pand heeft mogelijk aanzienlijke renovaties nodig om aan de huidige standaarden te voldoen.
De woning op Hardekamp 8 heeft een gebruiksoppervlakte van 414 m². Dit is ruim vergeleken met de gemiddelde Nederlandse woning, die een oppervlakte heeft van ongeveer 119 m². De gebruiksoppervlakte is de maat die wordt gebruikt in de BAG-registratie, de landelijke registratie van de Nederlandse overheid.
Hardekamp 8 heeft als functie: wonen. Deze gebruiksfunctie(s) zijn vastgelegd in de BAG-registratie en geven aan waarvoor het adres officieel mag worden gebruikt.
Hardekamp 8 is gelegen op kadastraal perceel SDL00O150. Deze kadastrale aanduiding is uniek en wordt gebruikt door het Kadaster om eigendomsrechten en andere zakelijke rechten vast te leggen. Het perceel maakt onderdeel uit van de kadastrale gemeente Schijndel.
Het perceel waarop Hardekamp 8 staat heeft een oppervlakte van 1,1 ha. Dit is een zeer groot perceel. De perceeloppervlakte wordt geregistreerd door het Kadaster. Gedetailleerde informatie over de maten van dit perceel kunt u vinden in het rapport Kadastrale kaart met maatvoering van Hardekamp 8.
De eigenaar van Hardekamp 8 is op te vragen op deze pagina
De informatie over dit adres is afkomstig uit officiële overheidsregistraties, voornamelijk de Basisregistratie Adressen en Gebouwen (BAG) en de Basisregistratie Kadaster (BRK). Deze gegevens worden beheerd door respectievelijk gemeenten en het Kadaster, en worden regelmatig bijgewerkt. Energielabelgegevens komen uit de database van de Rijksdienst voor Ondernemend Nederland (RVO).
