
Het adres Nagelbeek 87 bevindt zich in de plaats Schinnen, in de gemeente Schinnen en de provincie Limburg. De oppervlakte bedraagt 449 m², waarmee het adres groter dan gemiddeld is. De grootte van het perceel waarop het adres ligt is 4310 m². De oppervlakte van dit adres is groot vergeleken met de oppervlaktes van andere adressen in de straat. De kleinste oppervlakte bedraagt er 22 m², de grootste 793 m². De gemiddelde bouwperiode van gebouwen in Nederland ligt tussen de jaren 1965-1984. Dat geldt ook voor het bouwjaar van Nagelbeek 87: het is gebouwd in het jaar 1977. Veel andere gebouwen in de straat zijn ouder dan dit pand. Het oudste pand komt uit het jaar 1754 en het nieuwste uit 2010. Voor het verblijfsobject gelden deze gebruiksdoelen: 'woonfunctie' en 'kantoorfunctie'.
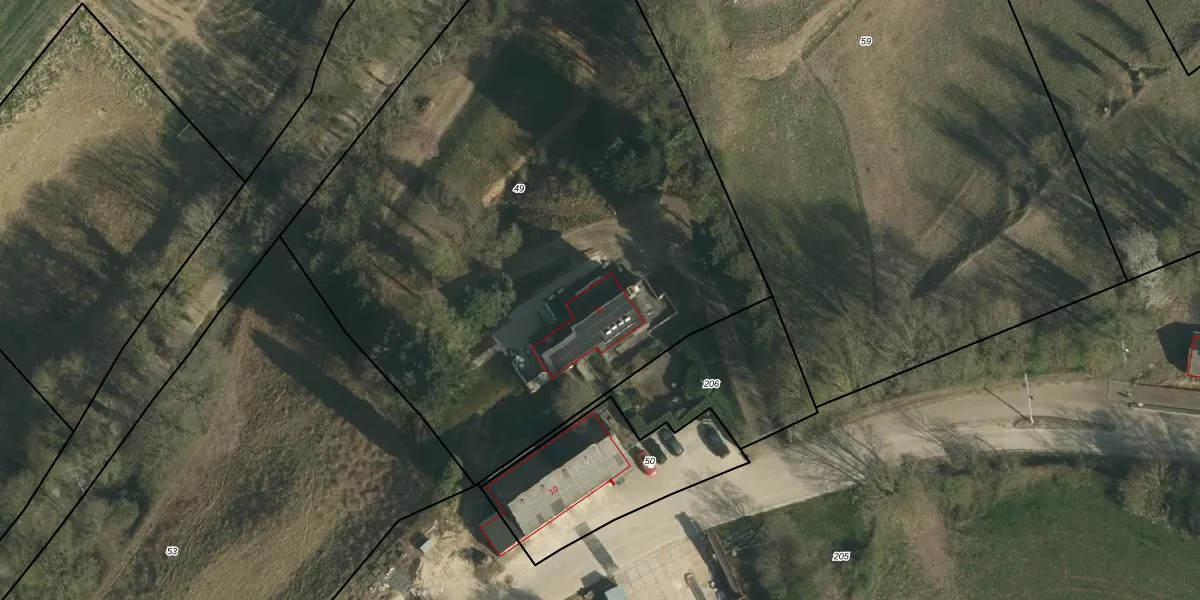
Het adres ligt op het perceel SNN00-K-49, dat zich in de kadastrale gemeente Schinnen bevindt. Het perceel is met 4310 m² relatief groot. Het gemiddelde ligt in de kadastrale gemeente Schinnen op 2770,88 m². Het kleinste perceel in de kadastrale gemeente is 0 m² groot. De grootste perceeloppervlakte is 22,4 ha. Er zijn geen andere adressen aanwezig op het perceel. In de Basisregistratie Kadaster (BRK) werden de grenzen van het perceel geregistreerd op 21-05-2012.
Er is geen energielabel geregistreerd voor het adres. Het hoogste energielabel in de straat is A+; het laagste is G. Het gemiddelde energielabel is er D. Het adres Nagelbeek 87 heeft als status: 'verblijfsobject in gebruik'. Het pand waarin dit adres ligt heeft als status: 'pand in gebruik'.
Nagelbeek 87 is een adres gelegen in de gemeente Beekdaelen, provincie Limburg. Dit adres is geregistreerd in de Basisregistratie Adressen en Gebouwen (BAG) met als unieke identificatie 0962010000217956.
Het pand op Nagelbeek 87 is gebouwd in 1977, wat betekent dat het 49 jaar oud is. Dit is een pand van middelbare leeftijd. Het pand is van gemiddelde leeftijd en zal waarschijnlijk verouderde elementen bevatten.
De woning op Nagelbeek 87 heeft een gebruiksoppervlakte van 449 m². Dit is ruim vergeleken met de gemiddelde Nederlandse woning, die een oppervlakte heeft van ongeveer 119 m². De gebruiksoppervlakte is de maat die wordt gebruikt in de BAG-registratie, de landelijke registratie van de Nederlandse overheid.
Nagelbeek 87 heeft als functie: wonen en kantoor. Deze gebruiksfunctie(s) zijn vastgelegd in de BAG-registratie en geven aan waarvoor het adres officieel mag worden gebruikt.
Nagelbeek 87 is gelegen op kadastraal perceel SNN00K49. Deze kadastrale aanduiding is uniek en wordt gebruikt door het Kadaster om eigendomsrechten en andere zakelijke rechten vast te leggen. Het perceel maakt onderdeel uit van de kadastrale gemeente Schinnen.
Het perceel waarop Nagelbeek 87 staat heeft een oppervlakte van 4310 m². Dit is een zeer groot perceel. De perceeloppervlakte wordt geregistreerd door het Kadaster. Gedetailleerde informatie over de maten van dit perceel kunt u vinden in het rapport Kadastrale kaart met maatvoering van Nagelbeek 87.
De eigenaar van Nagelbeek 87 is op te vragen op deze pagina.
De informatie over dit adres is afkomstig uit officiële overheidsregistraties, voornamelijk de Basisregistratie Adressen en Gebouwen (BAG) en de Basisregistratie Kadaster (BRK). Deze gegevens worden beheerd door respectievelijk gemeenten en het Kadaster, en worden regelmatig bijgewerkt. Energielabelgegevens komen uit de database van de Rijksdienst voor Ondernemend Nederland (RVO).
