
Het adres Borgweg 31 bevindt zich in de plaats Schipborg, in de gemeente Schipborg en de provincie Drenthe. De oppervlakte van het verblijfsobject is met 319 m² aan de grote kant. Het perceel heeft een oppervlakte van 3,6 ha. De oppervlakte van dit adres is groot vergeleken met de oppervlaktes van andere adressen in de straat. De kleinste oppervlakte bedraagt er 16 m², de grootste 1981 m². Borgweg 31 bevindt zich in een pand uit het jaar 1930. Daarmee behoort het tot de groep relatief oude panden in Nederland die gebouwd zijn vóór 1965. Het nieuwste gebouw in de straat komt uit 2025 en het oudste uit 1900. Dit object is relatief oud. De volgende gebruiksdoelen zijn geregistreerd voor dit adres: 'woonfunctie'.
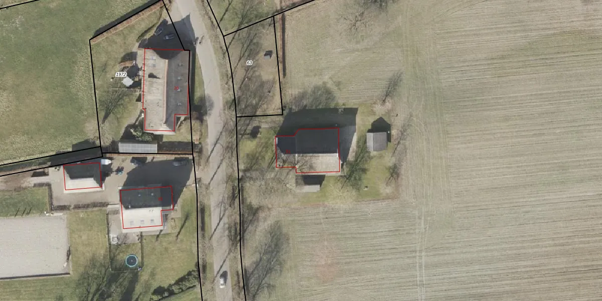
Het adres ligt op het perceel ALO00-P-2033, dat zich in de kadastrale gemeente Anloo bevindt. De oppervlakte van het perceel is 3,6 ha. Dat is groter dan gemiddeld in Anloo, waar de gemiddelde perceeloppervlakte op 1,0 ha ligt. Het grootste perceel in de kadastrale gemeente is 92,8 ha. Het kleinste perceel heeft een oppervlakte van 1 m². Op het perceel bevinden zich geen andere adressen. In de Basisregistratie Kadaster (BRK) werden de grenzen van het perceel geregistreerd op 21-07-2003.
Er is geen energielabel geregistreerd voor het adres. Het hoogste energielabel in de straat is A+; het laagste is G. Het gemiddelde energielabel is er C. Het adres Borgweg 31 heeft als status: 'verblijfsobject in gebruik'. Het pand waarin dit adres ligt heeft als status: 'pand in gebruik'.
Borgweg 31 is een adres gelegen in de gemeente Aa en Hunze, provincie Drenthe. Dit adres is geregistreerd in de Basisregistratie Adressen en Gebouwen (BAG) met als unieke identificatie 1680010000004042.
Het pand op Borgweg 31 is gebouwd in 1930, wat betekent dat het 96 jaar oud is. Dit is een ouder pand. Het pand heeft mogelijk aanzienlijke renovaties nodig om aan de huidige standaarden te voldoen.
De woning op Borgweg 31 heeft een gebruiksoppervlakte van 319 m². Dit is ruim vergeleken met de gemiddelde Nederlandse woning, die een oppervlakte heeft van ongeveer 119 m². De gebruiksoppervlakte is de maat die wordt gebruikt in de BAG-registratie, de landelijke registratie van de Nederlandse overheid.
Borgweg 31 heeft als functie: wonen. Deze gebruiksfunctie(s) zijn vastgelegd in de BAG-registratie en geven aan waarvoor het adres officieel mag worden gebruikt.
Borgweg 31 is gelegen op kadastraal perceel ALO00P2033. Deze kadastrale aanduiding is uniek en wordt gebruikt door het Kadaster om eigendomsrechten en andere zakelijke rechten vast te leggen. Het perceel maakt onderdeel uit van de kadastrale gemeente Anloo.
Het perceel waarop Borgweg 31 staat heeft een oppervlakte van 3,6 ha. Dit is een zeer groot perceel. De perceeloppervlakte wordt geregistreerd door het Kadaster. Gedetailleerde informatie over de maten van dit perceel kunt u vinden in het rapport Kadastrale kaart met maatvoering van Borgweg 31.
De eigenaar van Borgweg 31 is op te vragen op deze pagina.
De informatie over dit adres is afkomstig uit officiële overheidsregistraties, voornamelijk de Basisregistratie Adressen en Gebouwen (BAG) en de Basisregistratie Kadaster (BRK). Deze gegevens worden beheerd door respectievelijk gemeenten en het Kadaster, en worden regelmatig bijgewerkt. Energielabelgegevens komen uit de database van de Rijksdienst voor Ondernemend Nederland (RVO).
