
Het adres Westdorperstraat 29-a-6 bevindt zich in de plaats Schoonloo, in de gemeente Schoonloo en de provincie Drenthe. De oppervlakte van het object bedraagt 33 m². Dat is klein vergeleken met het Nederlandse gemiddelde. Het perceel waarop het adres ligt is 6,4 ha groot. Het object is klein ten opzichte van de andere adressen in de straat. Het grootste verblijfsobject is 1468 m² groot en het kleinste is 26 m². Westdorperstraat 29-a-6 ligt in een gebouw uit het jaar 1985. Daarmee behoort het tot de groep panden van na 1984, die we als relatief nieuw bestempelen. In de straat komt het nieuwste gebouw uit het jaar 2025 en het oudste uit 1929. Het bouwjaar van dit object is relatief oud. De volgende gebruiksdoelen zijn geregistreerd voor dit adres: 'logiesfunctie'.
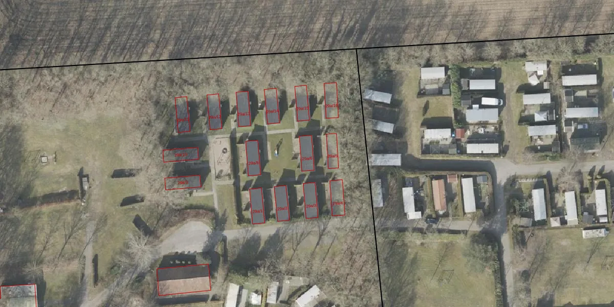
Het perceel waarop het adres ligt is RDE00-T-485. De afkorting 'RDE00' staat voor kadastrale gemeente Rolde. De oppervlakte van het perceel is 6,4 ha. Dat is groter dan gemiddeld in Rolde, waar de gemiddelde perceeloppervlakte op 1,3 ha ligt. Het grootste perceel in de kadastrale gemeente is 4,62 km². Het kleinste perceel heeft een oppervlakte van 0 m². Op het perceel zijn 18 adressen aanwezig. In de Basisregistratie Kadaster (BRK) werden de grenzen van het perceel geregistreerd op 12-07-2005.
Er is geen energielabel geregistreerd voor het adres. Het hoogste energielabel in de straat is B; het laagste is G. Het gemiddelde energielabel is er D. Het adres Westdorperstraat 29-a-6 heeft als status: 'verblijfsobject in gebruik'. Het pand waarin dit adres ligt heeft als status: 'pand in gebruik'.
Westdorperstraat 29-a-6 is een adres gelegen in de gemeente Aa en Hunze, provincie Drenthe. Dit adres is geregistreerd in de Basisregistratie Adressen en Gebouwen (BAG) met als unieke identificatie 1680010000013290.
Het pand op Westdorperstraat 29-a-6 is gebouwd in 1985, wat betekent dat het 41 jaar oud is. Dit is een pand van middelbare leeftijd. Het pand is van gemiddelde leeftijd en zal waarschijnlijk verouderde elementen bevatten.
De woning op Westdorperstraat 29-a-6 heeft een gebruiksoppervlakte van 33 m². Dit is relatief klein vergeleken met de gemiddelde Nederlandse woning, die een oppervlakte heeft van ongeveer 119 m². De gebruiksoppervlakte is de maat die wordt gebruikt in de BAG-registratie, de landelijke registratie van de Nederlandse overheid.
Westdorperstraat 29-a-6 heeft als functie: logies/verblijf. Deze gebruiksfunctie(s) zijn vastgelegd in de BAG-registratie en geven aan waarvoor het adres officieel mag worden gebruikt.
Westdorperstraat 29-a-6 is gelegen op kadastraal perceel RDE00T485. Deze kadastrale aanduiding is uniek en wordt gebruikt door het Kadaster om eigendomsrechten en andere zakelijke rechten vast te leggen. Het perceel maakt onderdeel uit van de kadastrale gemeente Rolde.
Het perceel waarop Westdorperstraat 29-a-6 staat heeft een oppervlakte van 6,4 ha. Dit is een zeer groot perceel. De perceeloppervlakte wordt geregistreerd door het Kadaster. Gedetailleerde informatie over de maten van dit perceel kunt u vinden in het rapport Kadastrale kaart met maatvoering van Westdorperstraat 29-a-6.
De eigenaar van Westdorperstraat 29-a-6 is op te vragen op deze pagina.
De informatie over dit adres is afkomstig uit officiële overheidsregistraties, voornamelijk de Basisregistratie Adressen en Gebouwen (BAG) en de Basisregistratie Kadaster (BRK). Deze gegevens worden beheerd door respectievelijk gemeenten en het Kadaster, en worden regelmatig bijgewerkt. Energielabelgegevens komen uit de database van de Rijksdienst voor Ondernemend Nederland (RVO).
