
Dorpsstraat 6-e is een adres in Sellingen, dat zich bevindt binnen de gemeentegrenzen van Sellingen en de grenzen van de provincie Groningen. Het verblijfsobject is vergeleken met het Nederlandse gemiddelde aan de kleine kant: de oppervlakte is 30 m². Het perceel waarop het adres zich bevindt heeft een oppervlakte van 4490 m². In de straat is dit het kleinste object. Het grootste verblijfsobject heeft een oppervlakte van 1995 m². De gemiddelde grootte is er 185 m². In Nederland komt het grootste deel van de gebouwen uit de periode 1965-1984. Ook het bouwjaar van Dorpsstraat 6-e is afkomstig uit die periode: het betreft namelijk een pand uit 1978. Dit object is relatief nieuw in de straat. Het nieuwste gebouw komt er uit het jaar 2025 en het oudste uit het jaar 1905. De volgende gebruiksdoelen zijn geregistreerd voor dit adres: 'woonfunctie'.
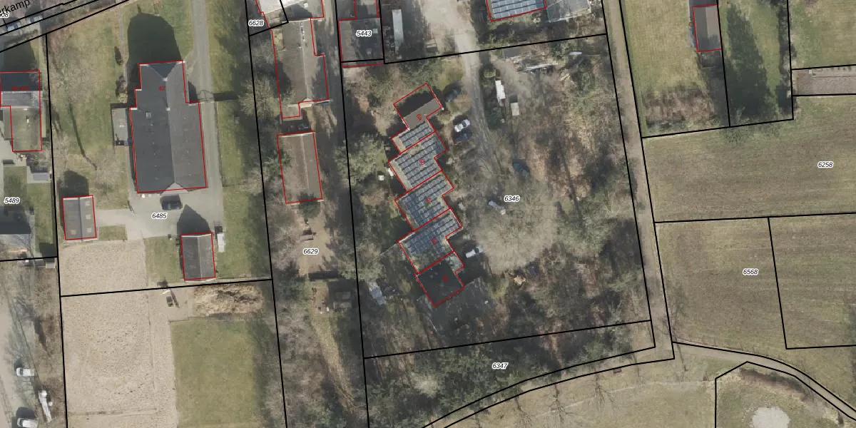
Het perceel waarop het adres ligt is VWD02-F-6346. De afkorting 'VWD02' staat voor kadastrale gemeente Vlagtwedde. Het perceel is 4490 m² groot. Dat is kleiner dan de gemiddelde perceeloppervlakte in Vlagtwedde, dat op 1,2 ha ligt. Het grootste perceel in de kadastrale gemeente is 1,11 km². Het kleinste perceel heeft een oppervlakte van 0 m². Op het perceel liggen in totaal 21 adressen. De huidige grenzen van het perceel zijn digitaal in de Basisregistratie Kadaster (BRK) geregistreerd op 12-10-2007.
Er is geen energielabel geregistreerd voor het adres. Het hoogste energielabel in de straat is A+++; het laagste is G. Het gemiddelde energielabel is er E. Het adres Dorpsstraat 6-e heeft als status: 'verblijfsobject in gebruik'. Het pand waarin dit adres ligt heeft als status: 'pand in gebruik'.
Dorpsstraat 6-e is een adres gelegen in de gemeente Westerwolde, provincie Groningen. Dit adres is geregistreerd in de Basisregistratie Adressen en Gebouwen (BAG) met als unieke identificatie 1950010000100737.
Het pand op Dorpsstraat 6-e is gebouwd in 1978, wat betekent dat het 48 jaar oud is. Dit is een pand van middelbare leeftijd. Het pand is van gemiddelde leeftijd en zal waarschijnlijk verouderde elementen bevatten.
De woning op Dorpsstraat 6-e heeft een gebruiksoppervlakte van 30 m². Dit is relatief klein vergeleken met de gemiddelde Nederlandse woning, die een oppervlakte heeft van ongeveer 119 m². De gebruiksoppervlakte is de maat die wordt gebruikt in de BAG-registratie, de landelijke registratie van de Nederlandse overheid.
Dorpsstraat 6-e heeft als functie: wonen. Deze gebruiksfunctie(s) zijn vastgelegd in de BAG-registratie en geven aan waarvoor het adres officieel mag worden gebruikt.
Dorpsstraat 6-e is gelegen op kadastraal perceel VWD02F6346. Deze kadastrale aanduiding is uniek en wordt gebruikt door het Kadaster om eigendomsrechten en andere zakelijke rechten vast te leggen. Het perceel maakt onderdeel uit van de kadastrale gemeente Vlagtwedde.
Het perceel waarop Dorpsstraat 6-e staat heeft een oppervlakte van 4490 m². Dit is een zeer groot perceel. De perceeloppervlakte wordt geregistreerd door het Kadaster. Gedetailleerde informatie over de maten van dit perceel kunt u vinden in het rapport Kadastrale kaart met maatvoering van Dorpsstraat 6-e.
De eigenaar van Dorpsstraat 6-e is op te vragen op deze pagina.
De informatie over dit adres is afkomstig uit officiële overheidsregistraties, voornamelijk de Basisregistratie Adressen en Gebouwen (BAG) en de Basisregistratie Kadaster (BRK). Deze gegevens worden beheerd door respectievelijk gemeenten en het Kadaster, en worden regelmatig bijgewerkt. Energielabelgegevens komen uit de database van de Rijksdienst voor Ondernemend Nederland (RVO).
