
Het adres Dorpsstraat 8-h bevindt zich in de plaats Sellingen, in de gemeente Sellingen en de provincie Groningen. Het perceel waarop het adres gelegen is heeft een oppervlakte van 4490 m². Het verblijfsobject is met 77 m² relatief klein. Het object is klein ten opzichte van de andere adressen in de straat. Het grootste verblijfsobject is 1995 m² groot en het kleinste is 30 m². Dorpsstraat 8-h ligt in een gebouw uit het jaar 2025. Daarmee behoort het tot de groep panden van na 1984, die we als relatief nieuw bestempelen. Het gemiddelde bouwjaar in de straat is 1959 en dat van het oudste pand is 1905. Dit is het nieuwste object in de straat. De volgende gebruiksdoelen zijn geregistreerd voor dit adres: 'woonfunctie'.
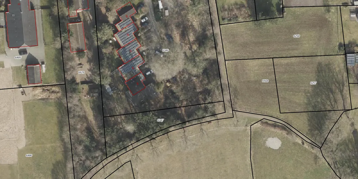
Het perceel waarop het adres ligt is VWD02-F-6346. De afkorting 'VWD02' staat voor kadastrale gemeente Vlagtwedde. Het perceel is 4490 m² groot. Dat is kleiner dan de gemiddelde perceeloppervlakte in Vlagtwedde, dat op 1,2 ha ligt. Het grootste perceel in de kadastrale gemeente is 1,11 km². Het kleinste perceel heeft een oppervlakte van 0 m². Er zijn 21 adressen aanwezig op het perceel. In de Basisregistratie Kadaster (BRK) werden de grenzen van het perceel geregistreerd op 12-10-2007.
Er is geen energielabel geregistreerd voor het adres. Het hoogste energielabel in de straat is A+++; het laagste is G. Het gemiddelde energielabel is er E. Het adres Dorpsstraat 8-h heeft als status: 'verblijfsobject gevormd'. Het pand waarin dit adres ligt heeft als status: 'bouwvergunning verleend'.
Dorpsstraat 8-h is een adres gelegen in de gemeente Westerwolde, provincie Groningen. Dit adres is geregistreerd in de Basisregistratie Adressen en Gebouwen (BAG) met als unieke identificatie 1950010000100721.
Het pand op Dorpsstraat 8-h is gebouwd in 2025, wat betekent dat het 1 jaar oud is. Dit is een vrij nieuw pand. Het pand is dus waarschijnlijk goed geïsoleerd, geluidsdicht en voldoet aan de huidige bouwstandaarden. Op korte termijn zijn er waarschijnlijk weinig onderhoudskosten.
De woning op Dorpsstraat 8-h heeft een gebruiksoppervlakte van 77 m². Dit is onder het gemiddelde vergeleken met de gemiddelde Nederlandse woning, die een oppervlakte heeft van ongeveer 119 m². De gebruiksoppervlakte is de maat die wordt gebruikt in de BAG-registratie, de landelijke registratie van de Nederlandse overheid.
Dorpsstraat 8-h heeft als functie: wonen. Deze gebruiksfunctie(s) zijn vastgelegd in de BAG-registratie en geven aan waarvoor het adres officieel mag worden gebruikt.
Dorpsstraat 8-h is gelegen op kadastraal perceel VWD02F6346. Deze kadastrale aanduiding is uniek en wordt gebruikt door het Kadaster om eigendomsrechten en andere zakelijke rechten vast te leggen. Het perceel maakt onderdeel uit van de kadastrale gemeente Vlagtwedde.
Het perceel waarop Dorpsstraat 8-h staat heeft een oppervlakte van 4490 m². Dit is een zeer groot perceel. De perceeloppervlakte wordt geregistreerd door het Kadaster. Gedetailleerde informatie over de maten van dit perceel kunt u vinden in het rapport Kadastrale kaart met maatvoering van Dorpsstraat 8-h.
De eigenaar van Dorpsstraat 8-h is op te vragen op deze pagina.
De informatie over dit adres is afkomstig uit officiële overheidsregistraties, voornamelijk de Basisregistratie Adressen en Gebouwen (BAG) en de Basisregistratie Kadaster (BRK). Deze gegevens worden beheerd door respectievelijk gemeenten en het Kadaster, en worden regelmatig bijgewerkt. Energielabelgegevens komen uit de database van de Rijksdienst voor Ondernemend Nederland (RVO).
