
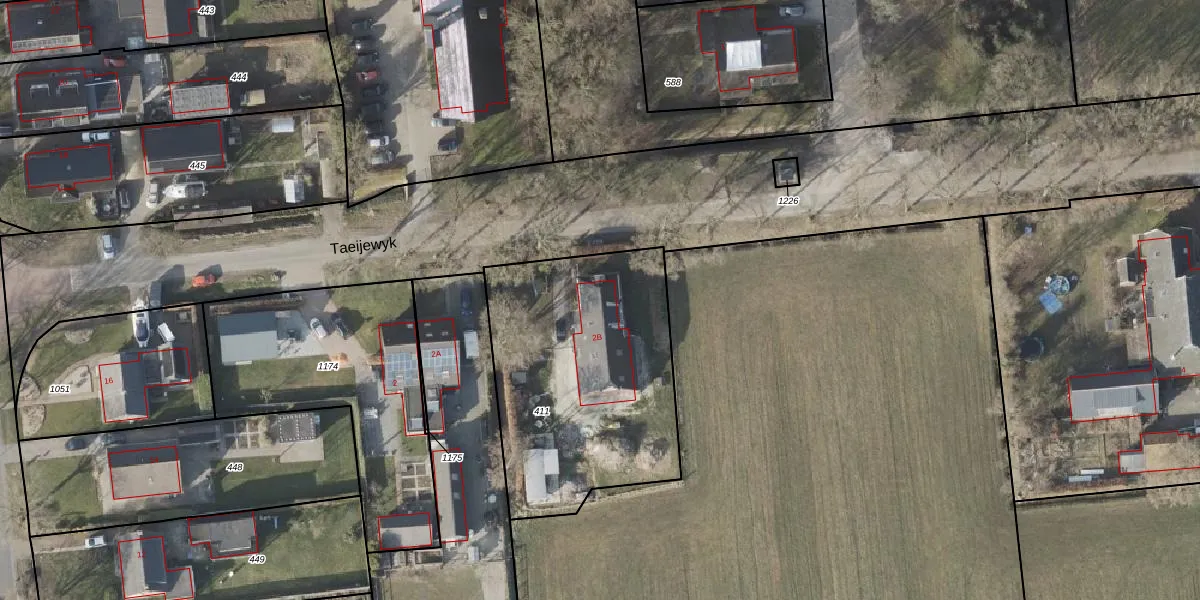
Taeijewyk 2-B is gelegen in de plaats Siegerswoude, de gemeente Opsterland en de provincie Friesland. De oppervlakte bedraagt 207 m², waarmee het adres groter dan gemiddeld is. De grootte van het perceel waarop het adres ligt is 1220 m². De oppervlakte van het adres is klein vergeleken met de andere objecten in de straat. De oppervlakte van het kleinste object in de straat bedraagt 90 m², terwijl het grootste object 887 m² groot is. Het adres Taeijewyk 2-B ligt in een relatief oud pand uit het jaar 1910. Panden van vóór het jaar 1965 hebben we hier geclassificeerd als oud. Dit is het oudste object in de straat. Het nieuwste pand komt uit 1975 en het gemiddelde bouwjaar in de straat is 1925. Het verblijfsobject heeft de volgende gebruiksdoelen: 'woonfunctie'.
Deze woning is voor het laatst verkocht op 1 oktober 2014. Meer informatie over deze transactie? Bestel het Woningtransactierapport om de verkoopprijs en andere informatie te zien.
Het adres is gelegen op perceel 411 in de sectie G en de kadastrale gemeente Ureterp. De kadastrale aanduiding is aldus URT00-G-411. Het perceel is kleiner dan gemiddeld in Ureterp. Het perceel is 1220 m² groot, terwijl het gemiddelde ligt op 8886,33 m². De grootste perceeloppervlakte in de kadastrale gemeente is 27,7 ha. De kleinste oppervlakte bedraagt 1 m². Er zijn geen andere adressen aanwezig op het perceel. De laatste wijziging in het de Basisregistratie Kadaster (BRK) was op 04-12-2002.
Het adres ligt in een gebouw van het type 'vrijstaande woning'. Bij de laatste meting is voor het adres het energielabel B geregistreerd. Het hoogste energielabel in de straat is A; het laagste is G. Het gemiddelde energielabel is er D. Het adres Taeijewyk 2-B heeft als status: 'verblijfsobject in gebruik'. Het pand waarin dit adres ligt heeft als status: 'pand in gebruik'.
Taeijewyk 2-B is een adres gelegen in de gemeente Opsterland, provincie Friesland. Dit adres is geregistreerd in de Basisregistratie Adressen en Gebouwen (BAG) met als unieke identificatie 0086010000385058.
Het pand op Taeijewyk 2-B is gebouwd in 1910, wat betekent dat het 116 jaar oud is. Dit is een ouder pand. Het pand heeft mogelijk aanzienlijke renovaties nodig om aan de huidige standaarden te voldoen.
De woning op Taeijewyk 2-B heeft een gebruiksoppervlakte van 207 m². Dit is ruim vergeleken met de gemiddelde Nederlandse woning, die een oppervlakte heeft van ongeveer 119 m². De gebruiksoppervlakte is de maat die wordt gebruikt in de BAG-registratie, de landelijke registratie van de Nederlandse overheid.
Taeijewyk 2-B heeft als functie: wonen. Deze gebruiksfunctie(s) zijn vastgelegd in de BAG-registratie en geven aan waarvoor het adres officieel mag worden gebruikt.
Taeijewyk 2-B is gelegen op kadastraal perceel URT00G411. Deze kadastrale aanduiding is uniek en wordt gebruikt door het Kadaster om eigendomsrechten en andere zakelijke rechten vast te leggen. Het perceel maakt onderdeel uit van de kadastrale gemeente Ureterp.
Het perceel waarop Taeijewyk 2-B staat heeft een oppervlakte van 1220 m². Dit is een zeer groot perceel. De perceeloppervlakte wordt geregistreerd door het Kadaster. Gedetailleerde informatie over de maten van dit perceel kunt u vinden in het rapport Kadastrale kaart met maatvoering van Taeijewyk 2-B.
De eigenaar van Taeijewyk 2-B is op te vragen op deze pagina.
De informatie over dit adres is afkomstig uit officiële overheidsregistraties, voornamelijk de Basisregistratie Adressen en Gebouwen (BAG) en de Basisregistratie Kadaster (BRK). Deze gegevens worden beheerd door respectievelijk gemeenten en het Kadaster, en worden regelmatig bijgewerkt. Energielabelgegevens komen uit de database van de Rijksdienst voor Ondernemend Nederland (RVO).
