
Leeuwte 30 is een adres in Sint Jansklooster, dat zich bevindt binnen de gemeentegrenzen van Sint Jansklooster en de grenzen van de provincie Overijssel. De oppervlakte van het verblijfsobject is met 376 m² aan de grote kant. Het perceel heeft een oppervlakte van 1905 m². De oppervlakte van dit adres is groot vergeleken met de oppervlaktes van andere adressen in de straat. De kleinste oppervlakte bedraagt er 4 m², de grootste 1153 m². Het adres Leeuwte 30 ligt in een relatief oud pand uit het jaar 1906. Panden van vóór het jaar 1965 hebben we hier geclassificeerd als oud. Het nieuwste gebouw in de straat komt uit 2026 en het oudste uit 1667. Dit object is relatief oud. Het verblijfsobject heeft de volgende gebruiksdoelen: 'woonfunctie'.
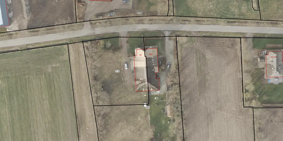
Het adres ligt op het perceel VLH00-N-578, dat zich in de kadastrale gemeente Vollenhove bevindt. Het perceel is kleiner dan gemiddeld in Vollenhove. Het perceel is 1905 m² groot, terwijl het gemiddelde ligt op 7934,78 m². De grootste perceeloppervlakte in de kadastrale gemeente is 1,97 km². De kleinste oppervlakte bedraagt 0 m². Op het perceel bevinden zich geen andere adressen. De huidige grenzen van het perceel zijn digitaal in de Basisregistratie Kadaster (BRK) geregistreerd op 10-12-2022.
Er is geen energielabel geregistreerd voor het adres. Het hoogste energielabel in de straat is A+++; het laagste is G. Het gemiddelde energielabel is er C. Het adres Leeuwte 30 heeft als status: 'verblijfsobject in gebruik'. Het pand waarin dit adres ligt heeft als status: 'pand in gebruik'.
Leeuwte 30 is een adres gelegen in de gemeente Steenwijkerland, provincie Overijssel. Dit adres is geregistreerd in de Basisregistratie Adressen en Gebouwen (BAG) met als unieke identificatie 1708010000003551.
Het pand op Leeuwte 30 is gebouwd in 1906, wat betekent dat het 120 jaar oud is. Dit is een ouder pand. Het pand heeft mogelijk aanzienlijke renovaties nodig om aan de huidige standaarden te voldoen.
De woning op Leeuwte 30 heeft een gebruiksoppervlakte van 376 m². Dit is ruim vergeleken met de gemiddelde Nederlandse woning, die een oppervlakte heeft van ongeveer 119 m². De gebruiksoppervlakte is de maat die wordt gebruikt in de BAG-registratie, de landelijke registratie van de Nederlandse overheid.
Leeuwte 30 heeft als functie: wonen. Deze gebruiksfunctie(s) zijn vastgelegd in de BAG-registratie en geven aan waarvoor het adres officieel mag worden gebruikt.
Leeuwte 30 is gelegen op kadastraal perceel VLH00N578. Deze kadastrale aanduiding is uniek en wordt gebruikt door het Kadaster om eigendomsrechten en andere zakelijke rechten vast te leggen. Het perceel maakt onderdeel uit van de kadastrale gemeente Vollenhove.
Het perceel waarop Leeuwte 30 staat heeft een oppervlakte van 1905 m². Dit is een zeer groot perceel. De perceeloppervlakte wordt geregistreerd door het Kadaster. Gedetailleerde informatie over de maten van dit perceel kunt u vinden in het rapport Kadastrale kaart met maatvoering van Leeuwte 30.
De eigenaar van Leeuwte 30 is op te vragen op deze pagina.
De informatie over dit adres is afkomstig uit officiële overheidsregistraties, voornamelijk de Basisregistratie Adressen en Gebouwen (BAG) en de Basisregistratie Kadaster (BRK). Deze gegevens worden beheerd door respectievelijk gemeenten en het Kadaster, en worden regelmatig bijgewerkt. Energielabelgegevens komen uit de database van de Rijksdienst voor Ondernemend Nederland (RVO).
