
Kleine Steeg 11 is gelegen in de plaats Sittard, de gemeente Sittard-Geleen en de provincie Limburg. Het verblijfsobject is vergeleken met het Nederlandse gemiddelde aan de kleine kant: de oppervlakte is 78 m². Het perceel waarop het adres zich bevindt heeft een oppervlakte van 4710 m². Het adres is klein vergeleken met andere objecten in de straat. Het grootste object in de straat heeft een oppervlakte van 1,7 ha, het kleinste is 12 m² groot. Kleine Steeg 11 bevindt zich in een pand uit het jaar 1957. Daarmee behoort het tot de groep relatief oude panden in Nederland die gebouwd zijn vóór 1965. Het nieuwste gebouw in de straat komt uit 1993 en het oudste uit 1934. Dit object is relatief oud. Voor het verblijfsobject gelden deze gebruiksdoelen: 'woonfunctie'.
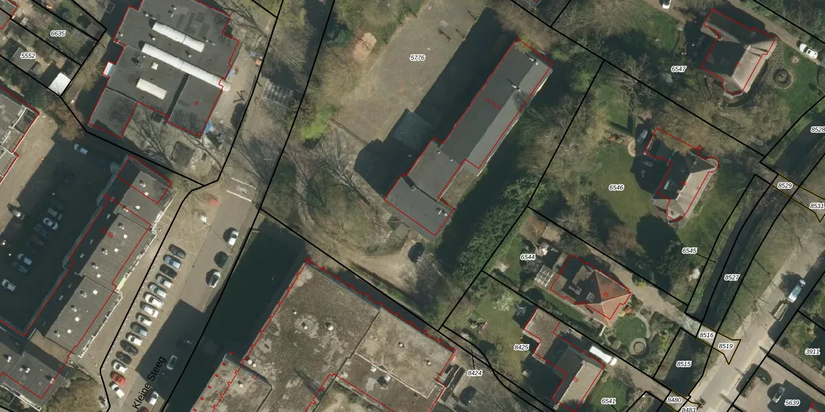
Het adres ligt op het perceel STD00-D-5776, dat zich in de kadastrale gemeente Sittard bevindt. Het perceel is met 4710 m² relatief groot. Het gemiddelde ligt in de kadastrale gemeente Sittard op 1471,94 m². Het grootste perceel in de kadastrale gemeente is 30,7 ha. Het kleinste perceel heeft een oppervlakte van 0 m². Op het perceel liggen in totaal 14 adressen. De laatste wijziging in het de Basisregistratie Kadaster (BRK) was op 25-03-2021.
Er is geen energielabel geregistreerd voor het adres. Het hoogste energielabel in de straat is A; het laagste is G. Het gemiddelde energielabel is er C. Het adres Kleine Steeg 11 heeft als status: 'verblijfsobject in gebruik'. Het pand waarin dit adres ligt heeft als status: 'pand in gebruik'.
Kleine Steeg 11 is een adres gelegen in de gemeente Sittard-Geleen, provincie Limburg. Dit adres is geregistreerd in de Basisregistratie Adressen en Gebouwen (BAG) met als unieke identificatie 1883011313156361.
Het pand op Kleine Steeg 11 is gebouwd in 1957, wat betekent dat het 69 jaar oud is. Dit is een ouder pand. Het pand heeft mogelijk aanzienlijke renovaties nodig om aan de huidige standaarden te voldoen.
De woning op Kleine Steeg 11 heeft een gebruiksoppervlakte van 78 m². Dit is onder het gemiddelde vergeleken met de gemiddelde Nederlandse woning, die een oppervlakte heeft van ongeveer 119 m². De gebruiksoppervlakte is de maat die wordt gebruikt in de BAG-registratie, de landelijke registratie van de Nederlandse overheid.
Kleine Steeg 11 heeft als functie: wonen. Deze gebruiksfunctie(s) zijn vastgelegd in de BAG-registratie en geven aan waarvoor het adres officieel mag worden gebruikt.
Kleine Steeg 11 is gelegen op kadastraal perceel STD00D5776. Deze kadastrale aanduiding is uniek en wordt gebruikt door het Kadaster om eigendomsrechten en andere zakelijke rechten vast te leggen. Het perceel maakt onderdeel uit van de kadastrale gemeente Sittard.
Het perceel waarop Kleine Steeg 11 staat heeft een oppervlakte van 4710 m². Dit is een zeer groot perceel. De perceeloppervlakte wordt geregistreerd door het Kadaster. Gedetailleerde informatie over de maten van dit perceel kunt u vinden in het rapport Kadastrale kaart met maatvoering van Kleine Steeg 11.
De eigenaar van Kleine Steeg 11 is op te vragen op deze pagina.
De informatie over dit adres is afkomstig uit officiële overheidsregistraties, voornamelijk de Basisregistratie Adressen en Gebouwen (BAG) en de Basisregistratie Kadaster (BRK). Deze gegevens worden beheerd door respectievelijk gemeenten en het Kadaster, en worden regelmatig bijgewerkt. Energielabelgegevens komen uit de database van de Rijksdienst voor Ondernemend Nederland (RVO).
