
Rijksweg 110 is gelegen in de plaats Smilde, de gemeente Midden-Drenthe en de provincie Drenthe. De oppervlakte bedraagt 232 m², waarmee het adres groter dan gemiddeld is. De grootte van het perceel waarop het adres ligt is 2673 m². Het object is klein ten opzichte van de andere adressen in de straat. Het grootste verblijfsobject is 3887 m² groot en het kleinste is 8 m². Het gebouw waarin Rijksweg 110 ligt komt uit het jaar 1910. Objecten die gebouwd zijn vóór 1965 classificeren we hier als oud. In de straat komt het nieuwste gebouw uit het jaar 2022 en het oudste uit 1801. Het bouwjaar van dit object is relatief oud. Het verblijfsobject heeft de volgende gebruiksdoelen: 'woonfunctie'.
Deze woning is voor het laatst verkocht op 1 mei 1996. Meer informatie over deze transactie? Bestel het Woningtransactierapport om de verkoopprijs en andere informatie te zien.
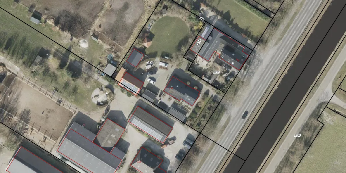
Het perceel waarop het adres ligt is SDE01-C-3060. De afkorting 'SDE01' staat voor kadastrale gemeente Smilde. Het perceel is kleiner dan gemiddeld in Smilde. Het perceel is 2673 m² groot, terwijl het gemiddelde ligt op 8405,26 m². Het kleinste perceel in de kadastrale gemeente is 0 m² groot. De grootste perceeloppervlakte is 44,9 ha. Er zijn geen andere adressen aanwezig op het perceel. De laatste wijziging in het de Basisregistratie Kadaster (BRK) was op 10-03-2008.
Er is geen energielabel geregistreerd voor het adres. Het hoogste energielabel in de straat is A; het laagste is G. Het gemiddelde energielabel is er D. Het adres Rijksweg 110 heeft als status: 'verblijfsobject in gebruik'. Het pand waarin dit adres ligt heeft als status: 'pand in gebruik'.
Rijksweg 110 is een adres gelegen in de gemeente Midden-Drenthe, provincie Drenthe. Dit adres is geregistreerd in de Basisregistratie Adressen en Gebouwen (BAG) met als unieke identificatie 1731010000010371.
Het pand op Rijksweg 110 is gebouwd in 1910, wat betekent dat het 116 jaar oud is. Dit is een ouder pand. Het pand heeft mogelijk aanzienlijke renovaties nodig om aan de huidige standaarden te voldoen.
De woning op Rijksweg 110 heeft een gebruiksoppervlakte van 232 m². Dit is ruim vergeleken met de gemiddelde Nederlandse woning, die een oppervlakte heeft van ongeveer 119 m². De gebruiksoppervlakte is de maat die wordt gebruikt in de BAG-registratie, de landelijke registratie van de Nederlandse overheid.
Rijksweg 110 heeft als functie: wonen. Deze gebruiksfunctie(s) zijn vastgelegd in de BAG-registratie en geven aan waarvoor het adres officieel mag worden gebruikt.
Rijksweg 110 is gelegen op kadastraal perceel SDE01C3060. Deze kadastrale aanduiding is uniek en wordt gebruikt door het Kadaster om eigendomsrechten en andere zakelijke rechten vast te leggen. Het perceel maakt onderdeel uit van de kadastrale gemeente Smilde.
Het perceel waarop Rijksweg 110 staat heeft een oppervlakte van 2673 m². Dit is een zeer groot perceel. De perceeloppervlakte wordt geregistreerd door het Kadaster. Gedetailleerde informatie over de maten van dit perceel kunt u vinden in het rapport Kadastrale kaart met maatvoering van Rijksweg 110.
De eigenaar van Rijksweg 110 is op te vragen op deze pagina.
De informatie over dit adres is afkomstig uit officiële overheidsregistraties, voornamelijk de Basisregistratie Adressen en Gebouwen (BAG) en de Basisregistratie Kadaster (BRK). Deze gegevens worden beheerd door respectievelijk gemeenten en het Kadaster, en worden regelmatig bijgewerkt. Energielabelgegevens komen uit de database van de Rijksdienst voor Ondernemend Nederland (RVO).
