
't Winkel 27-a is een adres in Soerendonk, dat zich bevindt binnen de gemeentegrenzen van Soerendonk en de grenzen van de provincie Noord-Brabant. Het object heeft een oppervlakte van 604 m², wat relatief groot is. Het perceel waarop het adres ligt is 1495 m² groot. In vergelijking met de andere adressen in de straat is de oppervlakte van dit object relatief groot. Het grootste verblijfsobject heeft een oppervlakte van 1782 m², de oppervlakte van het kleinste object bedraagt 55 m². De meeste Nederlandse gebouwen zijn gebouwd in de periode 1965-1984. Zo ook het pand waarin 't Winkel 27-a ligt, dat gebouwd is in 1984. Vergeleken met de andere panden in de straat is dit gebouw nieuw. Het vroegste bouwjaar is er 1832 en het laatste is 2023. De volgende gebruiksdoelen zijn geregistreerd voor dit adres: 'industriefunctie'.
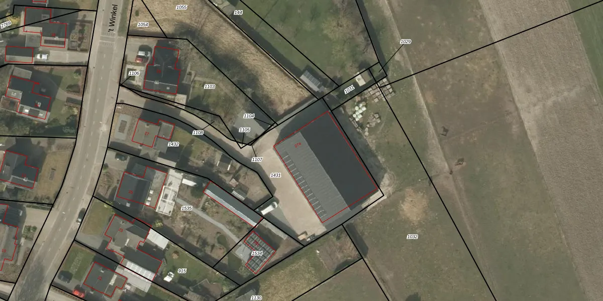
Het perceel waarop het adres ligt is MHZ00-G-1431. De afkorting 'MHZ00' staat voor kadastrale gemeente Maarheeze. Het perceel is 1495 m² groot. Dat is kleiner dan de gemiddelde perceeloppervlakte in Maarheeze, dat op 7509,09 m² ligt. De grootste perceeloppervlakte in de kadastrale gemeente is 1,89 km². De kleinste oppervlakte bedraagt 0 m². Dit is het enige adres dat aanwezig is op het perceel. De huidige grenzen van het perceel zijn digitaal in de Basisregistratie Kadaster (BRK) geregistreerd op 23-05-2023.
Er is geen energielabel geregistreerd voor het adres. Het hoogste energielabel in de straat is A; het laagste is G. Het gemiddelde energielabel is er D. Het adres 't Winkel 27-a heeft als status: 'verblijfsobject in gebruik'. Het pand waarin dit adres ligt heeft als status: 'pand in gebruik'.
't Winkel 27-a is een adres gelegen in de gemeente Cranendonck, provincie Noord-Brabant. Dit adres is geregistreerd in de Basisregistratie Adressen en Gebouwen (BAG) met als unieke identificatie 1706010000018311.
Het pand op 't Winkel 27-a is gebouwd in 1984, wat betekent dat het 42 jaar oud is. Dit is een pand van middelbare leeftijd. Het pand is van gemiddelde leeftijd en zal waarschijnlijk verouderde elementen bevatten.
De woning op 't Winkel 27-a heeft een gebruiksoppervlakte van 604 m². Dit is ruim vergeleken met de gemiddelde Nederlandse woning, die een oppervlakte heeft van ongeveer 119 m². De gebruiksoppervlakte is de maat die wordt gebruikt in de BAG-registratie, de landelijke registratie van de Nederlandse overheid.
't Winkel 27-a heeft als functie: industrie. Deze gebruiksfunctie(s) zijn vastgelegd in de BAG-registratie en geven aan waarvoor het adres officieel mag worden gebruikt.
't Winkel 27-a is gelegen op kadastraal perceel MHZ00G1431. Deze kadastrale aanduiding is uniek en wordt gebruikt door het Kadaster om eigendomsrechten en andere zakelijke rechten vast te leggen. Het perceel maakt onderdeel uit van de kadastrale gemeente Maarheeze.
Het perceel waarop 't Winkel 27-a staat heeft een oppervlakte van 1495 m². Dit is een zeer groot perceel. De perceeloppervlakte wordt geregistreerd door het Kadaster. Gedetailleerde informatie over de maten van dit perceel kunt u vinden in het rapport Kadastrale kaart met maatvoering van 't Winkel 27-a.
De eigenaar van 't Winkel 27-a is op te vragen op deze pagina.
De informatie over dit adres is afkomstig uit officiële overheidsregistraties, voornamelijk de Basisregistratie Adressen en Gebouwen (BAG) en de Basisregistratie Kadaster (BRK). Deze gegevens worden beheerd door respectievelijk gemeenten en het Kadaster, en worden regelmatig bijgewerkt. Energielabelgegevens komen uit de database van de Rijksdienst voor Ondernemend Nederland (RVO).
