
De Akkeren 33 is een adres in Soest, dat zich bevindt binnen de gemeentegrenzen van Soest en de grenzen van de provincie Utrecht. De oppervlakte van het adres is 100 m². Dat is vergelijkbaar met het gemiddelde Nederlandse oppervlakte van 119 m². De oppervlakte van het perceel waarin het adres ligt is 1359 m². De oppervlakte van dit adres is groot vergeleken met de oppervlaktes van andere adressen in de straat. De kleinste oppervlakte bedraagt er 17 m², de grootste 109 m². De meeste Nederlandse gebouwen zijn gebouwd in de periode 1965-1984. Zo ook het pand waarin De Akkeren 33 ligt, dat gebouwd is in 1971. Dit pand is het meest recent exemplaar in de straat. Het oudste object komt er uit 1969 en het gemiddelde bouwjaar is 1970. Voor het verblijfsobject gelden deze gebruiksdoelen: 'woonfunctie'.
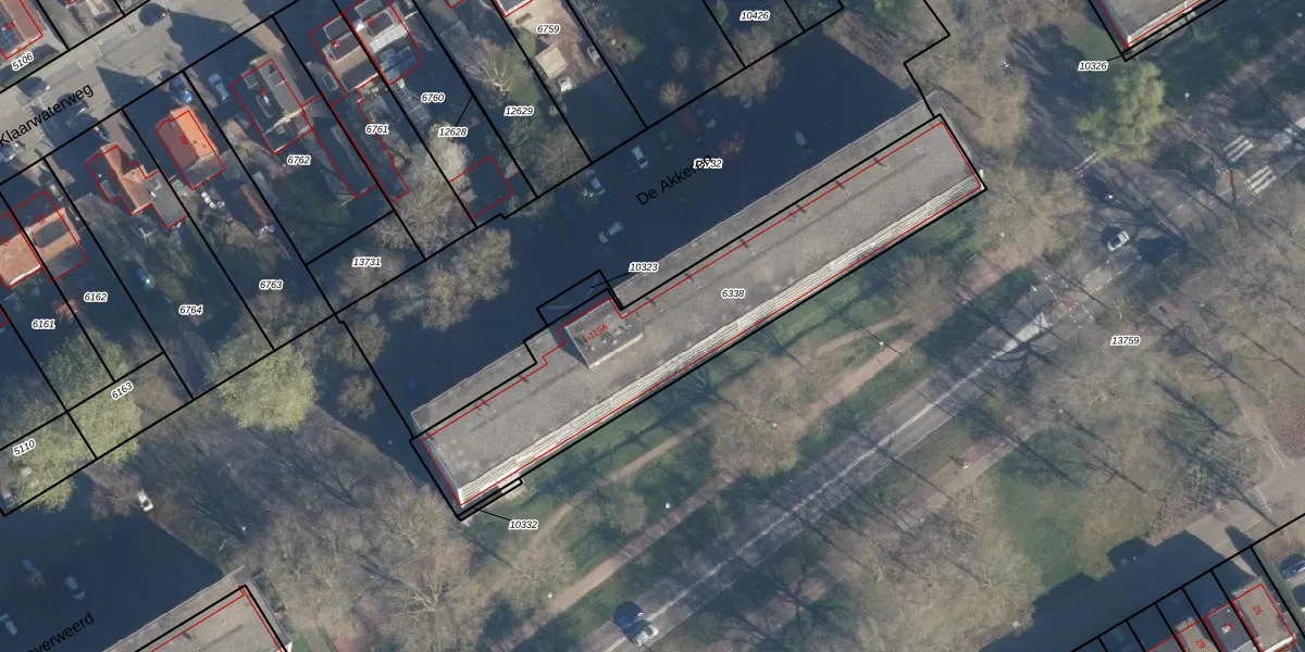
Het adres ligt op het perceel SOE00-G-6338, dat zich in de kadastrale gemeente Soest bevindt. De gemiddelde perceelgrootte in Soest is 2250,27 m². Dit perceel is kleiner: de perceeloppervlakte bedraagt 1359 m². De grootste perceeloppervlakte in de kadastrale gemeente is 1,42 km². De kleinste oppervlakte bedraagt 0 m². Op het perceel liggen in totaal 76 adressen. De huidige grenzen van het perceel zijn digitaal in de Basisregistratie Kadaster (BRK) geregistreerd op 21-11-2008.
Het adres ligt in een gebouw van het type 'appartement met het subtype tussenmidden'. Bij de laatste meting is voor het adres het energielabel B geregistreerd. Het hoogste energielabel in de straat is A; het laagste is G. Het gemiddelde energielabel is er C. Het adres De Akkeren 33 heeft als status: 'verblijfsobject in gebruik'. Het pand waarin dit adres ligt heeft als status: 'pand in gebruik'.
De Akkeren 33 is een adres gelegen in de gemeente Soest, provincie Utrecht. Dit adres is geregistreerd in de Basisregistratie Adressen en Gebouwen (BAG) met als unieke identificatie 0342010000005829.
Het pand op De Akkeren 33 is gebouwd in 1971, wat betekent dat het 55 jaar oud is. Dit is een ouder pand. Het pand heeft mogelijk aanzienlijke renovaties nodig om aan de huidige standaarden te voldoen.
De woning op De Akkeren 33 heeft een gebruiksoppervlakte van 100 m². Dit is onder het gemiddelde vergeleken met de gemiddelde Nederlandse woning, die een oppervlakte heeft van ongeveer 119 m². De gebruiksoppervlakte is de maat die wordt gebruikt in de BAG-registratie, de landelijke registratie van de Nederlandse overheid.
De Akkeren 33 heeft als functie: wonen. Deze gebruiksfunctie(s) zijn vastgelegd in de BAG-registratie en geven aan waarvoor het adres officieel mag worden gebruikt.
De Akkeren 33 is gelegen op kadastraal perceel SOE00G6338. Deze kadastrale aanduiding is uniek en wordt gebruikt door het Kadaster om eigendomsrechten en andere zakelijke rechten vast te leggen. Het perceel maakt onderdeel uit van de kadastrale gemeente Soest.
Het perceel waarop De Akkeren 33 staat heeft een oppervlakte van 1359 m². Dit is een zeer groot perceel. De perceeloppervlakte wordt geregistreerd door het Kadaster. Gedetailleerde informatie over de maten van dit perceel kunt u vinden in het rapport Kadastrale kaart met maatvoering van De Akkeren 33.
De eigenaar van De Akkeren 33 is op te vragen op deze pagina.
De informatie over dit adres is afkomstig uit officiële overheidsregistraties, voornamelijk de Basisregistratie Adressen en Gebouwen (BAG) en de Basisregistratie Kadaster (BRK). Deze gegevens worden beheerd door respectievelijk gemeenten en het Kadaster, en worden regelmatig bijgewerkt. Energielabelgegevens komen uit de database van de Rijksdienst voor Ondernemend Nederland (RVO).
