
Het adres Dorresteinweg 84 bevindt zich in de plaats Soest, in de gemeente Soest en de provincie Utrecht. De oppervlakte van het adres is 117 m². Dat is vergelijkbaar met het gemiddelde Nederlandse oppervlakte van 119 m². De oppervlakte van het perceel waarin het adres ligt is 1430 m². Het adres is klein vergeleken met andere objecten in de straat. Het grootste object in de straat heeft een oppervlakte van 6075 m², het kleinste is 3 m² groot. Het adres Dorresteinweg 84 ligt in een relatief oud pand uit het jaar 1920. Panden van vóór het jaar 1965 hebben we hier geclassificeerd als oud. Gemiddeld zijn de gebouwen in de straat gebouwd in 1982. Dit is het oudste pand in de straat. Het meest recente komt uit het jaar 2025. Voor het verblijfsobject gelden deze gebruiksdoelen: 'woonfunctie'.
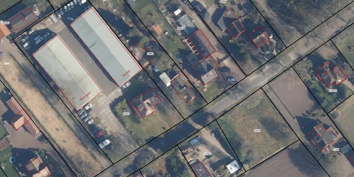
Het adres ligt op het perceel SOE00-G-2881, dat zich in de kadastrale gemeente Soest bevindt. De gemiddelde perceelgrootte in Soest is 2253,32 m². Dit perceel is kleiner: de perceeloppervlakte bedraagt 1430 m². De grootste perceeloppervlakte in de kadastrale gemeente is 1,42 km². De kleinste oppervlakte bedraagt 0 m². Op het perceel bevinden zich geen andere adressen. In de Basisregistratie Kadaster (BRK) werden de grenzen van het perceel geregistreerd op 27-01-2003.
Er is geen energielabel geregistreerd voor het adres. Het hoogste energielabel in de straat is A++++; het laagste is G. Het gemiddelde energielabel is er C. Het adres Dorresteinweg 84 heeft als status: 'verblijfsobject in gebruik'. Het pand waarin dit adres ligt heeft als status: 'pand in gebruik'.
Dorresteinweg 84 is een adres gelegen in de gemeente Soest, provincie Utrecht. Dit adres is geregistreerd in de Basisregistratie Adressen en Gebouwen (BAG) met als unieke identificatie 0342010000005561.
Het pand op Dorresteinweg 84 is gebouwd in 1920, wat betekent dat het 106 jaar oud is. Dit is een ouder pand. Het pand heeft mogelijk aanzienlijke renovaties nodig om aan de huidige standaarden te voldoen.
De woning op Dorresteinweg 84 heeft een gebruiksoppervlakte van 117 m². Dit is onder het gemiddelde vergeleken met de gemiddelde Nederlandse woning, die een oppervlakte heeft van ongeveer 119 m². De gebruiksoppervlakte is de maat die wordt gebruikt in de BAG-registratie, de landelijke registratie van de Nederlandse overheid.
Dorresteinweg 84 heeft als functie: wonen. Deze gebruiksfunctie(s) zijn vastgelegd in de BAG-registratie en geven aan waarvoor het adres officieel mag worden gebruikt.
Dorresteinweg 84 is gelegen op kadastraal perceel SOE00G2881. Deze kadastrale aanduiding is uniek en wordt gebruikt door het Kadaster om eigendomsrechten en andere zakelijke rechten vast te leggen. Het perceel maakt onderdeel uit van de kadastrale gemeente Soest.
Het perceel waarop Dorresteinweg 84 staat heeft een oppervlakte van 1430 m². Dit is een zeer groot perceel. De perceeloppervlakte wordt geregistreerd door het Kadaster. Gedetailleerde informatie over de maten van dit perceel kunt u vinden in het rapport Kadastrale kaart met maatvoering van Dorresteinweg 84.
De eigenaar van Dorresteinweg 84 is op te vragen op deze pagina.
De informatie over dit adres is afkomstig uit officiële overheidsregistraties, voornamelijk de Basisregistratie Adressen en Gebouwen (BAG) en de Basisregistratie Kadaster (BRK). Deze gegevens worden beheerd door respectievelijk gemeenten en het Kadaster, en worden regelmatig bijgewerkt. Energielabelgegevens komen uit de database van de Rijksdienst voor Ondernemend Nederland (RVO).
