
Wiardi Beckmanstraat 196 is gelegen in de plaats Soest, de gemeente Soest en de provincie Utrecht. Het verblijfsobject is vergeleken met het Nederlandse gemiddelde aan de kleine kant: de oppervlakte is 97 m². Het perceel waarop het adres zich bevindt heeft een oppervlakte van 788 m². De oppervlakte van dit adres is groot vergeleken met de oppervlaktes van andere adressen in de straat. De kleinste oppervlakte bedraagt er 5 m², de grootste 2196 m². In Nederland komt het grootste deel van de gebouwen uit de periode 1965-1984. Ook het bouwjaar van Wiardi Beckmanstraat 196 is afkomstig uit die periode: het betreft namelijk een pand uit 1973. Het nieuwste gebouw in de straat komt uit 1974 en het oudste uit 1970. Dit object is relatief oud. Het verblijfsobject heeft de volgende gebruiksdoelen: 'woonfunctie'.
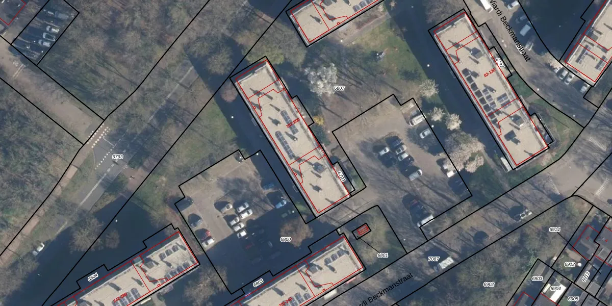
Het adres ligt op het perceel SOE00-G-6799, dat zich in de kadastrale gemeente Soest bevindt. Het perceel is kleiner dan gemiddeld in Soest. Het perceel is 788 m² groot, terwijl het gemiddelde ligt op 2250,48 m². Het grootste perceel in de kadastrale gemeente is 1,42 km². Het kleinste perceel heeft een oppervlakte van 0 m². Op het perceel liggen in totaal 20 adressen. De laatste wijziging in het de Basisregistratie Kadaster (BRK) was op 27-01-2003.
Het adres ligt in een gebouw van het type 'appartement met het subtype tussendak'. Bij de laatste meting is voor het adres het energielabel A geregistreerd. Het hoogste energielabel in de straat is A+++; het laagste is G. Het gemiddelde energielabel is er A. Het adres Wiardi Beckmanstraat 196 heeft als status: 'verblijfsobject in gebruik'. Het pand waarin dit adres ligt heeft als status: 'pand in gebruik'.
Wiardi Beckmanstraat 196 is een adres gelegen in de gemeente Soest, provincie Utrecht. Dit adres is geregistreerd in de Basisregistratie Adressen en Gebouwen (BAG) met als unieke identificatie 0342010000004172.
Het pand op Wiardi Beckmanstraat 196 is gebouwd in 1973, wat betekent dat het 53 jaar oud is. Dit is een ouder pand. Het pand heeft mogelijk aanzienlijke renovaties nodig om aan de huidige standaarden te voldoen.
De woning op Wiardi Beckmanstraat 196 heeft een gebruiksoppervlakte van 97 m². Dit is onder het gemiddelde vergeleken met de gemiddelde Nederlandse woning, die een oppervlakte heeft van ongeveer 119 m². De gebruiksoppervlakte is de maat die wordt gebruikt in de BAG-registratie, de landelijke registratie van de Nederlandse overheid.
Wiardi Beckmanstraat 196 heeft als functie: wonen. Deze gebruiksfunctie(s) zijn vastgelegd in de BAG-registratie en geven aan waarvoor het adres officieel mag worden gebruikt.
Wiardi Beckmanstraat 196 is gelegen op kadastraal perceel SOE00G6799. Deze kadastrale aanduiding is uniek en wordt gebruikt door het Kadaster om eigendomsrechten en andere zakelijke rechten vast te leggen. Het perceel maakt onderdeel uit van de kadastrale gemeente Soest.
Het perceel waarop Wiardi Beckmanstraat 196 staat heeft een oppervlakte van 788 m². Dit is een groot perceel. De perceeloppervlakte wordt geregistreerd door het Kadaster. Gedetailleerde informatie over de maten van dit perceel kunt u vinden in het rapport Kadastrale kaart met maatvoering van Wiardi Beckmanstraat 196.
De eigenaar van Wiardi Beckmanstraat 196 is op te vragen op deze pagina.
De informatie over dit adres is afkomstig uit officiële overheidsregistraties, voornamelijk de Basisregistratie Adressen en Gebouwen (BAG) en de Basisregistratie Kadaster (BRK). Deze gegevens worden beheerd door respectievelijk gemeenten en het Kadaster, en worden regelmatig bijgewerkt. Energielabelgegevens komen uit de database van de Rijksdienst voor Ondernemend Nederland (RVO).
