
Het adres Kanaaldijk-zuid 58 bevindt zich in de plaats Someren, in de gemeente Someren en de provincie Noord-Brabant. De oppervlakte van het adres is 136 m². Dat is vergelijkbaar met het gemiddelde Nederlandse oppervlakte van 119 m². De oppervlakte van het perceel waarin het adres ligt is 4410 m². Het object is klein ten opzichte van de andere adressen in de straat. Het grootste verblijfsobject is 4035 m² groot en het kleinste is 71 m². Kanaaldijk-zuid 58 ligt in een gebouw uit het jaar 1993. Daarmee behoort het tot de groep panden van na 1984, die we als relatief nieuw bestempelen. Dit object is relatief nieuw in de straat. Het nieuwste gebouw komt er uit het jaar 2022 en het oudste uit het jaar 1889. Het verblijfsobject heeft de volgende gebruiksdoelen: 'woonfunctie'.
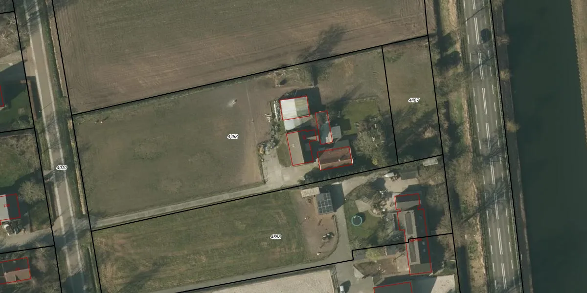
Het perceel waarop het adres ligt is SMR02-G-4488. De afkorting 'SMR02' staat voor kadastrale gemeente Someren. Het perceel is kleiner dan gemiddeld in Someren. Het perceel is 4410 m² groot, terwijl het gemiddelde ligt op 6121,88 m². Het grootste perceel in de kadastrale gemeente is 2,55 km². Het kleinste perceel heeft een oppervlakte van 0 m². Op het perceel bevinden zich geen andere adressen. In de Basisregistratie Kadaster (BRK) werden de grenzen van het perceel geregistreerd op 23-06-2003.
Er is geen energielabel geregistreerd voor het adres. Het hoogste energielabel in de straat is A++; het laagste is G. Het gemiddelde energielabel is er D. Het adres Kanaaldijk-zuid 58 heeft als status: 'verblijfsobject in gebruik'. Het pand waarin dit adres ligt heeft als status: 'pand in gebruik'.
Kanaaldijk-zuid 58 is een adres gelegen in de gemeente Someren, provincie Noord-Brabant. Dit adres is geregistreerd in de Basisregistratie Adressen en Gebouwen (BAG) met als unieke identificatie 0847010000002905.
Het pand op Kanaaldijk-zuid 58 is gebouwd in 1993, wat betekent dat het 33 jaar oud is. Dit is een pand van middelbare leeftijd. Het pand is van gemiddelde leeftijd en zal waarschijnlijk verouderde elementen bevatten.
De woning op Kanaaldijk-zuid 58 heeft een gebruiksoppervlakte van 136 m². Dit is gemiddeld vergeleken met de gemiddelde Nederlandse woning, die een oppervlakte heeft van ongeveer 119 m². De gebruiksoppervlakte is de maat die wordt gebruikt in de BAG-registratie, de landelijke registratie van de Nederlandse overheid.
Kanaaldijk-zuid 58 heeft als functie: wonen. Deze gebruiksfunctie(s) zijn vastgelegd in de BAG-registratie en geven aan waarvoor het adres officieel mag worden gebruikt.
Kanaaldijk-zuid 58 is gelegen op kadastraal perceel SMR02G4488. Deze kadastrale aanduiding is uniek en wordt gebruikt door het Kadaster om eigendomsrechten en andere zakelijke rechten vast te leggen. Het perceel maakt onderdeel uit van de kadastrale gemeente Someren.
Het perceel waarop Kanaaldijk-zuid 58 staat heeft een oppervlakte van 4410 m². Dit is een zeer groot perceel. De perceeloppervlakte wordt geregistreerd door het Kadaster. Gedetailleerde informatie over de maten van dit perceel kunt u vinden in het rapport Kadastrale kaart met maatvoering van Kanaaldijk-zuid 58.
De eigenaar van Kanaaldijk-zuid 58 is op te vragen op deze pagina.
De informatie over dit adres is afkomstig uit officiële overheidsregistraties, voornamelijk de Basisregistratie Adressen en Gebouwen (BAG) en de Basisregistratie Kadaster (BRK). Deze gegevens worden beheerd door respectievelijk gemeenten en het Kadaster, en worden regelmatig bijgewerkt. Energielabelgegevens komen uit de database van de Rijksdienst voor Ondernemend Nederland (RVO).
