
Spijkse Kweldijk 84 is een adres in Spijk, dat zich bevindt binnen de gemeentegrenzen van Spijk en de grenzen van de provincie Gelderland. Het perceel waarop het verblijfsobject staat is 783 m² groot. De oppervlakte van het adres is 122 m², wat zich rond het Nederlandse gemiddelde van 119 m² bevindt. Het adres is klein vergeleken met andere objecten in de straat. Het grootste object in de straat heeft een oppervlakte van 2327 m², het kleinste is 12 m² groot. Het adres Spijkse Kweldijk 84 ligt in een relatief oud pand uit het jaar 1930. Panden van vóór het jaar 1965 hebben we hier geclassificeerd als oud. In de straat komt het nieuwste gebouw uit het jaar 2025 en het oudste uit 1800. Het bouwjaar van dit object is relatief oud. Voor het verblijfsobject gelden deze gebruiksdoelen: 'woonfunctie'.
Deze woning is voor het laatst verkocht op 1 oktober 2020. Meer informatie over deze transactie? Bestel het Woningtransactierapport om de verkoopprijs en andere informatie te zien.
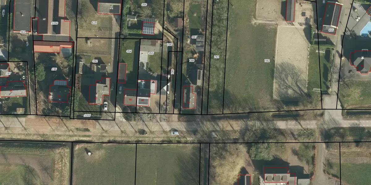
Het adres ligt op het perceel HKL00-E-997, dat zich in de kadastrale gemeente Heukelum bevindt. De gemiddelde perceelgrootte in Heukelum is 2616,34 m². Dit perceel is kleiner: de perceeloppervlakte bedraagt 783 m². De grootste perceeloppervlakte in de kadastrale gemeente is 36,0 ha. De kleinste oppervlakte bedraagt 0 m². Er zijn geen andere adressen aanwezig op het perceel. De huidige grenzen van het perceel zijn digitaal in de Basisregistratie Kadaster (BRK) geregistreerd op 26-10-2021.
Er is geen energielabel geregistreerd voor het adres. Het hoogste energielabel in de straat is A+++; het laagste is G. Het gemiddelde energielabel is er B. Het adres Spijkse Kweldijk 84 heeft als status: 'verblijfsobject in gebruik'. Het pand waarin dit adres ligt heeft als status: 'pand in gebruik'.
Spijkse Kweldijk 84 is een adres gelegen in de gemeente West Betuwe, provincie Gelderland. Dit adres is geregistreerd in de Basisregistratie Adressen en Gebouwen (BAG) met als unieke identificatie 0733010000004324.
Het pand op Spijkse Kweldijk 84 is gebouwd in 1930, wat betekent dat het 96 jaar oud is. Dit is een ouder pand. Het pand heeft mogelijk aanzienlijke renovaties nodig om aan de huidige standaarden te voldoen.
De woning op Spijkse Kweldijk 84 heeft een gebruiksoppervlakte van 122 m². Dit is gemiddeld vergeleken met de gemiddelde Nederlandse woning, die een oppervlakte heeft van ongeveer 119 m². De gebruiksoppervlakte is de maat die wordt gebruikt in de BAG-registratie, de landelijke registratie van de Nederlandse overheid.
Spijkse Kweldijk 84 heeft als functie: wonen. Deze gebruiksfunctie(s) zijn vastgelegd in de BAG-registratie en geven aan waarvoor het adres officieel mag worden gebruikt.
Spijkse Kweldijk 84 is gelegen op kadastraal perceel HKL00E997. Deze kadastrale aanduiding is uniek en wordt gebruikt door het Kadaster om eigendomsrechten en andere zakelijke rechten vast te leggen. Het perceel maakt onderdeel uit van de kadastrale gemeente Heukelum.
Het perceel waarop Spijkse Kweldijk 84 staat heeft een oppervlakte van 783 m². Dit is een groot perceel. De perceeloppervlakte wordt geregistreerd door het Kadaster. Gedetailleerde informatie over de maten van dit perceel kunt u vinden in het rapport Kadastrale kaart met maatvoering van Spijkse Kweldijk 84.
De eigenaar van Spijkse Kweldijk 84 is op te vragen op deze pagina.
De informatie over dit adres is afkomstig uit officiële overheidsregistraties, voornamelijk de Basisregistratie Adressen en Gebouwen (BAG) en de Basisregistratie Kadaster (BRK). Deze gegevens worden beheerd door respectievelijk gemeenten en het Kadaster, en worden regelmatig bijgewerkt. Energielabelgegevens komen uit de database van de Rijksdienst voor Ondernemend Nederland (RVO).
