
Bredasebaan 58 is een adres in Sprundel, dat zich bevindt binnen de gemeentegrenzen van Sprundel en de grenzen van de provincie Noord-Brabant. De oppervlakte bedraagt 208 m², waarmee het adres groter dan gemiddeld is. De grootte van het perceel waarop het adres ligt is 2405 m². De oppervlakte van dit adres is groot vergeleken met de oppervlaktes van andere adressen in de straat. De kleinste oppervlakte bedraagt er 18 m², de grootste 1461 m². In het jaar 1988 is het pand waarin Bredasebaan 58 ligt gebouwd. Dat is relatief recent: de meeste gebouwen in Nederland zijn gebouwd in de periode 1965-1984. Veel andere gebouwen in de straat zijn ouder dan dit pand. Het oudste pand komt uit het jaar 1860 en het nieuwste uit 2026. Het verblijfsobject heeft de volgende gebruiksdoelen: 'woonfunctie'.
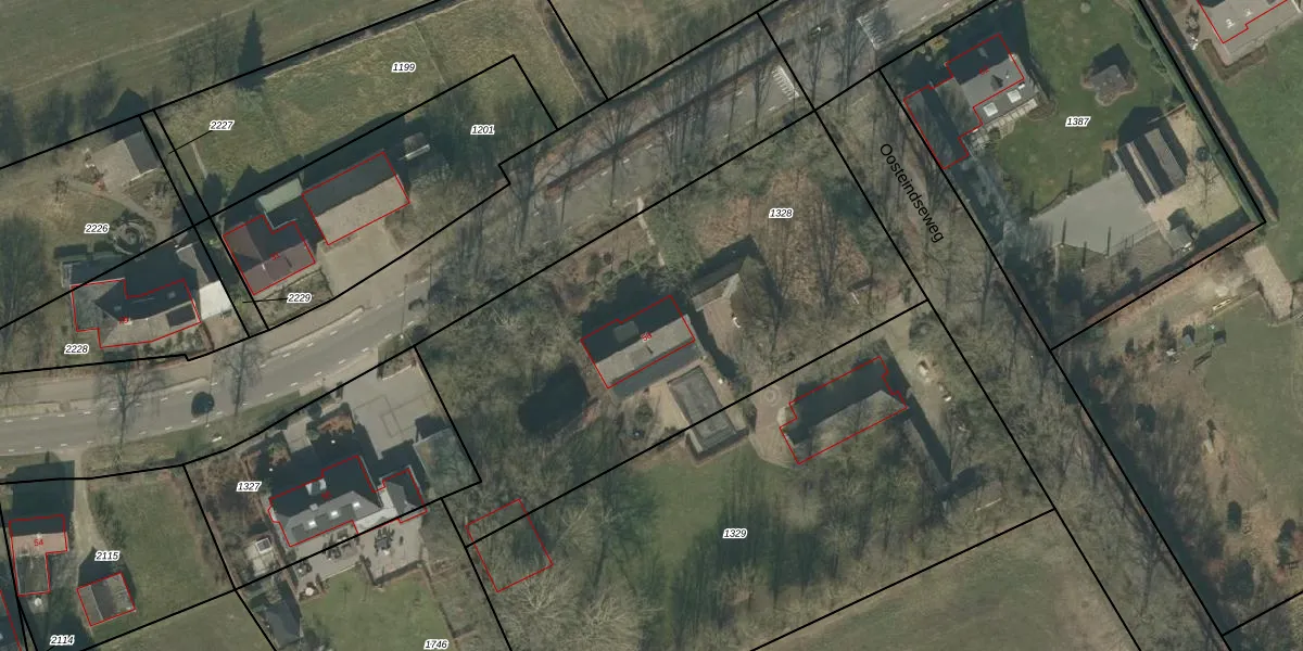
Het adres ligt op het perceel RPN00-T-1328, dat zich in de kadastrale gemeente Rucphen bevindt. Het perceel is kleiner dan gemiddeld in Rucphen. Het perceel is 2405 m² groot, terwijl het gemiddelde ligt op 4091,58 m². De grootste perceeloppervlakte in de kadastrale gemeente is 43,3 ha. De kleinste oppervlakte bedraagt 0 m². Er zijn geen andere adressen aanwezig op het perceel. De huidige grenzen van het perceel zijn digitaal in de Basisregistratie Kadaster (BRK) geregistreerd op 11-09-2009.
Er is geen energielabel geregistreerd voor het adres. Het hoogste energielabel in de straat is A++; het laagste is G. Het gemiddelde energielabel is er C. Het adres Bredasebaan 58 heeft als status: 'verblijfsobject in gebruik'. Het pand waarin dit adres ligt heeft als status: 'pand in gebruik'.
Bredasebaan 58 is een adres gelegen in de gemeente Rucphen, provincie Noord-Brabant. Dit adres is geregistreerd in de Basisregistratie Adressen en Gebouwen (BAG) met als unieke identificatie 0840010000307178.
Het pand op Bredasebaan 58 is gebouwd in 1988, wat betekent dat het 38 jaar oud is. Dit is een pand van middelbare leeftijd. Het pand is van gemiddelde leeftijd en zal waarschijnlijk verouderde elementen bevatten.
De woning op Bredasebaan 58 heeft een gebruiksoppervlakte van 208 m². Dit is ruim vergeleken met de gemiddelde Nederlandse woning, die een oppervlakte heeft van ongeveer 119 m². De gebruiksoppervlakte is de maat die wordt gebruikt in de BAG-registratie, de landelijke registratie van de Nederlandse overheid.
Bredasebaan 58 heeft als functie: wonen. Deze gebruiksfunctie(s) zijn vastgelegd in de BAG-registratie en geven aan waarvoor het adres officieel mag worden gebruikt.
Bredasebaan 58 is gelegen op kadastraal perceel RPN00T1328. Deze kadastrale aanduiding is uniek en wordt gebruikt door het Kadaster om eigendomsrechten en andere zakelijke rechten vast te leggen. Het perceel maakt onderdeel uit van de kadastrale gemeente Rucphen.
Het perceel waarop Bredasebaan 58 staat heeft een oppervlakte van 2405 m². Dit is een zeer groot perceel. De perceeloppervlakte wordt geregistreerd door het Kadaster. Gedetailleerde informatie over de maten van dit perceel kunt u vinden in het rapport Kadastrale kaart met maatvoering van Bredasebaan 58.
De eigenaar van Bredasebaan 58 is op te vragen op deze pagina.
De informatie over dit adres is afkomstig uit officiële overheidsregistraties, voornamelijk de Basisregistratie Adressen en Gebouwen (BAG) en de Basisregistratie Kadaster (BRK). Deze gegevens worden beheerd door respectievelijk gemeenten en het Kadaster, en worden regelmatig bijgewerkt. Energielabelgegevens komen uit de database van de Rijksdienst voor Ondernemend Nederland (RVO).
