
Kerkeheidestraat 26-D is een adres in Sprundel, dat zich bevindt binnen de gemeentegrenzen van Sprundel en de grenzen van de provincie Noord-Brabant. De oppervlakte bedraagt 258 m², waarmee het adres groter dan gemiddeld is. De grootte van het perceel waarop het adres ligt is 6031 m². Vergeleken met de andere verblijfsobjecten in de straat is dit object groot. De oppervlakte van het grootste object in de straat is 1250 m², die van het kleinste bedraagt 20 m². Kerkeheidestraat 26-D ligt in een gebouw uit het jaar 2022. Daarmee behoort het tot de groep panden van na 1984, die we als relatief nieuw bestempelen. Veel andere gebouwen in de straat zijn ouder dan dit pand. Het oudste pand komt uit het jaar 1925 en het nieuwste uit 2025. Het verblijfsobject heeft de volgende gebruiksdoelen: 'industriefunctie'.
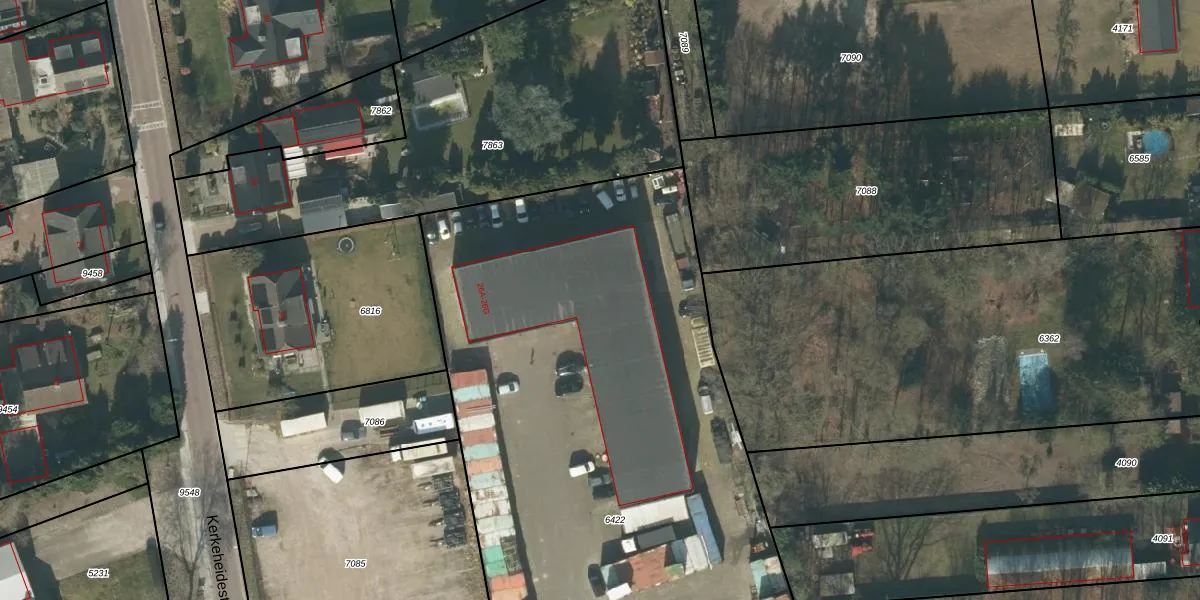
Het adres is gelegen op perceel 6422 in de sectie D en de kadastrale gemeente Rucphen. De kadastrale aanduiding is aldus RPN00-D-6422. De gemiddelde perceeloppervlakte in de kadastrale gemeente Rucphen is 4091,58 m². Dit perceel is met zijn 6031 m² dus groter dan gemiddeld. Het grootste perceel in de kadastrale gemeente is 43,3 ha. Het kleinste perceel heeft een oppervlakte van 0 m². Op het perceel zijn 8 adressen aanwezig. De huidige grenzen van het perceel zijn digitaal in de Basisregistratie Kadaster (BRK) geregistreerd op 13-04-2018.
Er is geen energielabel geregistreerd voor het adres. Het hoogste energielabel in de straat is A++++; het laagste is G. Het gemiddelde energielabel is er B. Het adres Kerkeheidestraat 26-D heeft als status: 'verblijfsobject in gebruik'. Het pand waarin dit adres ligt heeft als status: 'pand in gebruik'.
Kerkeheidestraat 26-D is een adres gelegen in de gemeente Rucphen, provincie Noord-Brabant. Dit adres is geregistreerd in de Basisregistratie Adressen en Gebouwen (BAG) met als unieke identificatie 0840010000322175.
Het pand op Kerkeheidestraat 26-D is gebouwd in 2022, wat betekent dat het 4 jaar oud is. Dit is een vrij nieuw pand. Het pand is dus waarschijnlijk goed geïsoleerd, geluidsdicht en voldoet aan de huidige bouwstandaarden. Op korte termijn zijn er waarschijnlijk weinig onderhoudskosten.
De woning op Kerkeheidestraat 26-D heeft een gebruiksoppervlakte van 258 m². Dit is ruim vergeleken met de gemiddelde Nederlandse woning, die een oppervlakte heeft van ongeveer 119 m². De gebruiksoppervlakte is de maat die wordt gebruikt in de BAG-registratie, de landelijke registratie van de Nederlandse overheid.
Kerkeheidestraat 26-D heeft als functie: industrie. Deze gebruiksfunctie(s) zijn vastgelegd in de BAG-registratie en geven aan waarvoor het adres officieel mag worden gebruikt.
Kerkeheidestraat 26-D is gelegen op kadastraal perceel RPN00D6422. Deze kadastrale aanduiding is uniek en wordt gebruikt door het Kadaster om eigendomsrechten en andere zakelijke rechten vast te leggen. Het perceel maakt onderdeel uit van de kadastrale gemeente Rucphen.
Het perceel waarop Kerkeheidestraat 26-D staat heeft een oppervlakte van 6031 m². Dit is een zeer groot perceel. De perceeloppervlakte wordt geregistreerd door het Kadaster. Gedetailleerde informatie over de maten van dit perceel kunt u vinden in het rapport Kadastrale kaart met maatvoering van Kerkeheidestraat 26-D.
De eigenaar van Kerkeheidestraat 26-D is op te vragen op deze pagina.
De informatie over dit adres is afkomstig uit officiële overheidsregistraties, voornamelijk de Basisregistratie Adressen en Gebouwen (BAG) en de Basisregistratie Kadaster (BRK). Deze gegevens worden beheerd door respectievelijk gemeenten en het Kadaster, en worden regelmatig bijgewerkt. Energielabelgegevens komen uit de database van de Rijksdienst voor Ondernemend Nederland (RVO).
