
Het adres Krommewijk 16 bevindt zich in de plaats Stadskanaal, in de gemeente Stadskanaal en de provincie Groningen. De oppervlakte bedraagt 262 m², waarmee het adres groter dan gemiddeld is. De grootte van het perceel waarop het adres ligt is 2687 m². In vergelijking met de andere adressen in de straat is de oppervlakte van dit object relatief groot. Het grootste verblijfsobject heeft een oppervlakte van 302 m², de oppervlakte van het kleinste object bedraagt 42 m². In het jaar 2004 is het pand waarin Krommewijk 16 ligt gebouwd. Dat is relatief recent: de meeste gebouwen in Nederland zijn gebouwd in de periode 1965-1984. Veel andere gebouwen in de straat zijn ouder dan dit pand. Het oudste pand komt uit het jaar 1910 en het nieuwste uit 2018. Voor het verblijfsobject gelden deze gebruiksdoelen: 'woonfunctie'.
Deze woning is voor het laatst verkocht op 1 december 2023. Meer informatie over deze transactie? Bestel het Woningtransactierapport om de verkoopprijs en andere informatie te zien.
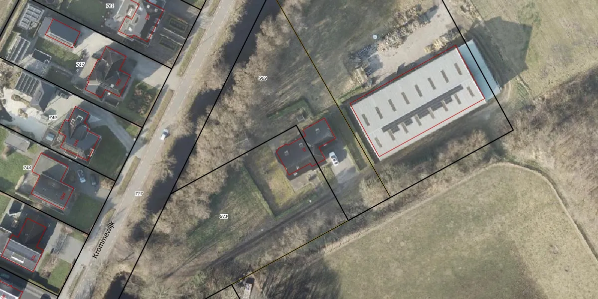
Het perceel waarop het adres ligt is OWD00-U-971. De afkorting 'OWD00' staat voor kadastrale gemeente Onstwedde. De gemiddelde perceelgrootte in Onstwedde is 6378,49 m². Dit perceel is kleiner: de perceeloppervlakte bedraagt 2687 m². De grootste perceeloppervlakte in de kadastrale gemeente is 1,07 km². De kleinste oppervlakte bedraagt 0 m². Er zijn geen andere adressen aanwezig op het perceel. In de Basisregistratie Kadaster (BRK) werden de grenzen van het perceel geregistreerd op 19-12-2025.
Er is geen energielabel geregistreerd voor het adres. Het hoogste energielabel in de straat is A+++; het laagste is G. Het gemiddelde energielabel is er A. Het adres Krommewijk 16 heeft als status: 'verblijfsobject in gebruik'. Het pand waarin dit adres ligt heeft als status: 'pand in gebruik'.
Krommewijk 16 is een adres gelegen in de gemeente Stadskanaal, provincie Groningen. Dit adres is geregistreerd in de Basisregistratie Adressen en Gebouwen (BAG) met als unieke identificatie 0037010000371449.
Het pand op Krommewijk 16 is gebouwd in 2004, wat betekent dat het 22 jaar oud is. Dit is een relatief modern pand. Ten opzichte van de nationale woningvoorraad is het pand relatief modern, maar er kunnen enkele verouderde elementen zijn die aandacht nodig hebben.
De woning op Krommewijk 16 heeft een gebruiksoppervlakte van 262 m². Dit is ruim vergeleken met de gemiddelde Nederlandse woning, die een oppervlakte heeft van ongeveer 119 m². De gebruiksoppervlakte is de maat die wordt gebruikt in de BAG-registratie, de landelijke registratie van de Nederlandse overheid.
Krommewijk 16 heeft als functie: wonen. Deze gebruiksfunctie(s) zijn vastgelegd in de BAG-registratie en geven aan waarvoor het adres officieel mag worden gebruikt.
Krommewijk 16 is gelegen op kadastraal perceel OWD00U971. Deze kadastrale aanduiding is uniek en wordt gebruikt door het Kadaster om eigendomsrechten en andere zakelijke rechten vast te leggen. Het perceel maakt onderdeel uit van de kadastrale gemeente Onstwedde.
Het perceel waarop Krommewijk 16 staat heeft een oppervlakte van 2687 m². Dit is een zeer groot perceel. De perceeloppervlakte wordt geregistreerd door het Kadaster. Gedetailleerde informatie over de maten van dit perceel kunt u vinden in het rapport Kadastrale kaart met maatvoering van Krommewijk 16.
De eigenaar van Krommewijk 16 is op te vragen op deze pagina.
De informatie over dit adres is afkomstig uit officiële overheidsregistraties, voornamelijk de Basisregistratie Adressen en Gebouwen (BAG) en de Basisregistratie Kadaster (BRK). Deze gegevens worden beheerd door respectievelijk gemeenten en het Kadaster, en worden regelmatig bijgewerkt. Energielabelgegevens komen uit de database van de Rijksdienst voor Ondernemend Nederland (RVO).
