
Toldijkseweg 5-A is een adres in Steenderen, dat zich bevindt binnen de gemeentegrenzen van Steenderen en de grenzen van de provincie Gelderland. Het perceel waarop het adres gelegen is heeft een oppervlakte van 970 m². Het verblijfsobject is met 73 m² relatief klein. Het adres is klein vergeleken met andere objecten in de straat. Het grootste object in de straat heeft een oppervlakte van 1040 m², het kleinste is 60 m² groot. Het adres Toldijkseweg 5-A ligt in een relatief oud pand uit het jaar 1953. Panden van vóór het jaar 1965 hebben we hier geclassificeerd als oud. Vergeleken met de andere panden in de straat is dit gebouw nieuw. Het vroegste bouwjaar is er 1845 en het laatste is 2024. Voor het verblijfsobject gelden deze gebruiksdoelen: 'woonfunctie'.
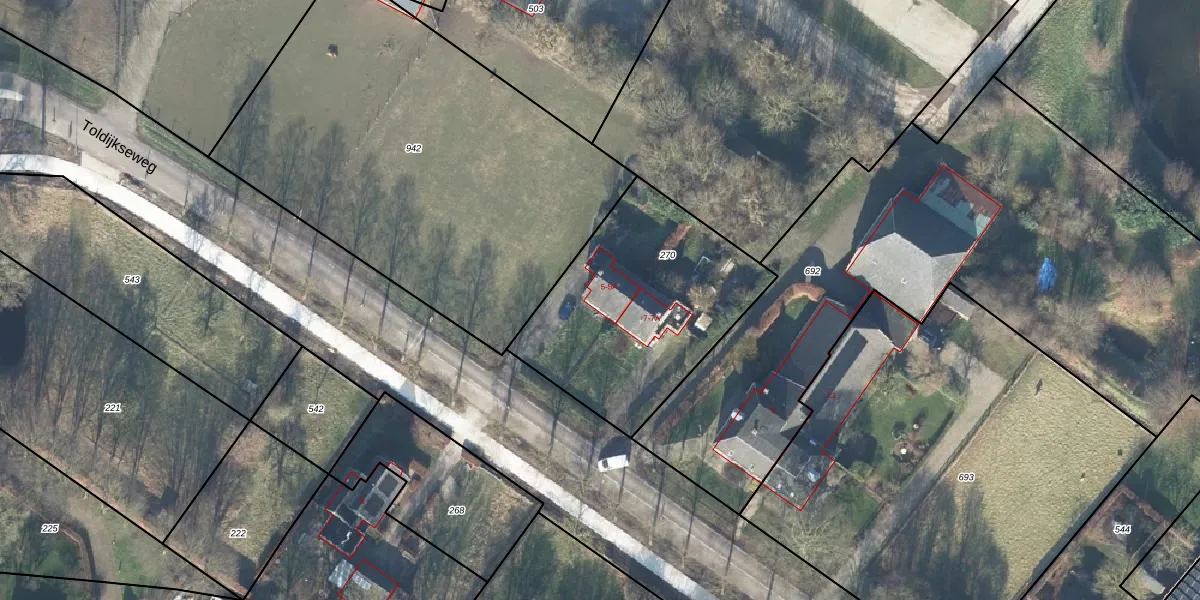
Het adres ligt op het perceel SDR00-V-270, dat zich in de kadastrale gemeente Steenderen bevindt. De gemiddelde perceelgrootte in Steenderen is 9231,74 m². Dit perceel is kleiner: de perceeloppervlakte bedraagt 970 m². De grootste perceeloppervlakte in de kadastrale gemeente is 32,6 ha. De kleinste oppervlakte bedraagt 0 m². Er zijn 4 adressen aanwezig op het perceel. De huidige grenzen van het perceel zijn digitaal in de Basisregistratie Kadaster (BRK) geregistreerd op 12-04-2005.
Het adres ligt in een gebouw van het type 'appartement met het subtype hoekvloer'. Bij de laatste meting is voor het adres het energielabel A+ geregistreerd. Het hoogste energielabel in de straat is A++; het laagste is G. Het gemiddelde energielabel is er D. Het adres Toldijkseweg 5-A heeft als status: 'verblijfsobject in gebruik'. Het pand waarin dit adres ligt heeft als status: 'pand in gebruik'.
Toldijkseweg 5-A is een adres gelegen in de gemeente Bronckhorst, provincie Gelderland. Dit adres is geregistreerd in de Basisregistratie Adressen en Gebouwen (BAG) met als unieke identificatie 1876010001008347.
Het pand op Toldijkseweg 5-A is gebouwd in 1953, wat betekent dat het 73 jaar oud is. Dit is een ouder pand. Het pand heeft mogelijk aanzienlijke renovaties nodig om aan de huidige standaarden te voldoen.
De woning op Toldijkseweg 5-A heeft een gebruiksoppervlakte van 73 m². Dit is relatief klein vergeleken met de gemiddelde Nederlandse woning, die een oppervlakte heeft van ongeveer 119 m². De gebruiksoppervlakte is de maat die wordt gebruikt in de BAG-registratie, de landelijke registratie van de Nederlandse overheid.
Toldijkseweg 5-A heeft als functie: wonen. Deze gebruiksfunctie(s) zijn vastgelegd in de BAG-registratie en geven aan waarvoor het adres officieel mag worden gebruikt.
Toldijkseweg 5-A is gelegen op kadastraal perceel SDR00V270. Deze kadastrale aanduiding is uniek en wordt gebruikt door het Kadaster om eigendomsrechten en andere zakelijke rechten vast te leggen. Het perceel maakt onderdeel uit van de kadastrale gemeente Steenderen.
Het perceel waarop Toldijkseweg 5-A staat heeft een oppervlakte van 970 m². Dit is een groot perceel. De perceeloppervlakte wordt geregistreerd door het Kadaster. Gedetailleerde informatie over de maten van dit perceel kunt u vinden in het rapport Kadastrale kaart met maatvoering van Toldijkseweg 5-A.
De eigenaar van Toldijkseweg 5-A is op te vragen op deze pagina.
De informatie over dit adres is afkomstig uit officiële overheidsregistraties, voornamelijk de Basisregistratie Adressen en Gebouwen (BAG) en de Basisregistratie Kadaster (BRK). Deze gegevens worden beheerd door respectievelijk gemeenten en het Kadaster, en worden regelmatig bijgewerkt. Energielabelgegevens komen uit de database van de Rijksdienst voor Ondernemend Nederland (RVO).
