
Gagelsweg 5 is gelegen in de plaats Steenwijk, de gemeente Steenwijkerland en de provincie Overijssel. Het verblijfsobject is vergeleken met het Nederlandse gemiddelde aan de kleine kant: de oppervlakte is 97 m². Het perceel waarop het adres zich bevindt heeft een oppervlakte van 941 m². Het adres is klein vergeleken met andere objecten in de straat. Het grootste object in de straat heeft een oppervlakte van 4902 m², het kleinste is 21 m² groot. De meeste Nederlandse gebouwen zijn gebouwd in de periode 1965-1984. Zo ook het pand waarin Gagelsweg 5 ligt, dat gebouwd is in 1965. Dit object is relatief nieuw in de straat. Het nieuwste gebouw komt er uit het jaar 2013 en het oudste uit het jaar 1934. Voor het verblijfsobject gelden deze gebruiksdoelen: 'woonfunctie'.
Deze woning is voor het laatst verkocht op 1 januari 2013. Meer informatie over deze transactie? Bestel het Woningtransactierapport om de verkoopprijs en andere informatie te zien.
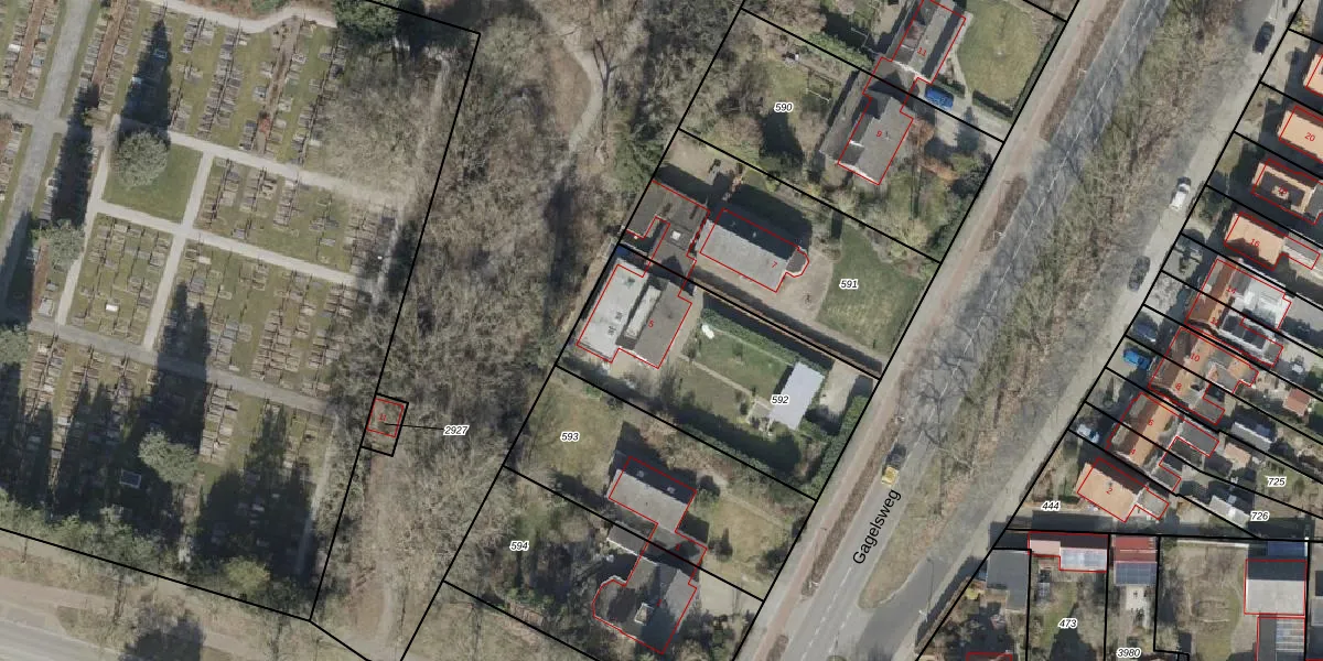
Het adres ligt op het perceel SWK01-B-592, dat zich in de kadastrale gemeente Steenwijk bevindt. De gemiddelde perceelgrootte in Steenwijk is 4991,22 m². Dit perceel is kleiner: de perceeloppervlakte bedraagt 941 m². De grootste perceeloppervlakte in de kadastrale gemeente is 2,01 km². De kleinste oppervlakte bedraagt 0 m². Op het perceel bevinden zich geen andere adressen. De laatste wijziging in het de Basisregistratie Kadaster (BRK) was op 28-01-2003.
Er is geen energielabel geregistreerd voor het adres. Het hoogste energielabel in de straat is A++; het laagste is G. Het gemiddelde energielabel is er E. Het adres Gagelsweg 5 heeft als status: 'verblijfsobject in gebruik'. Het pand waarin dit adres ligt heeft als status: 'pand in gebruik'.
Gagelsweg 5 is een adres gelegen in de gemeente Steenwijkerland, provincie Overijssel. Dit adres is geregistreerd in de Basisregistratie Adressen en Gebouwen (BAG) met als unieke identificatie 1708010000004284.
Het pand op Gagelsweg 5 is gebouwd in 1965, wat betekent dat het 61 jaar oud is. Dit is een ouder pand. Het pand heeft mogelijk aanzienlijke renovaties nodig om aan de huidige standaarden te voldoen.
De woning op Gagelsweg 5 heeft een gebruiksoppervlakte van 97 m². Dit is onder het gemiddelde vergeleken met de gemiddelde Nederlandse woning, die een oppervlakte heeft van ongeveer 119 m². De gebruiksoppervlakte is de maat die wordt gebruikt in de BAG-registratie, de landelijke registratie van de Nederlandse overheid.
Gagelsweg 5 heeft als functie: wonen. Deze gebruiksfunctie(s) zijn vastgelegd in de BAG-registratie en geven aan waarvoor het adres officieel mag worden gebruikt.
Gagelsweg 5 is gelegen op kadastraal perceel SWK01B592. Deze kadastrale aanduiding is uniek en wordt gebruikt door het Kadaster om eigendomsrechten en andere zakelijke rechten vast te leggen. Het perceel maakt onderdeel uit van de kadastrale gemeente Steenwijk.
Het perceel waarop Gagelsweg 5 staat heeft een oppervlakte van 941 m². Dit is een groot perceel. De perceeloppervlakte wordt geregistreerd door het Kadaster. Gedetailleerde informatie over de maten van dit perceel kunt u vinden in het rapport Kadastrale kaart met maatvoering van Gagelsweg 5.
De eigenaar van Gagelsweg 5 is op te vragen op deze pagina.
De informatie over dit adres is afkomstig uit officiële overheidsregistraties, voornamelijk de Basisregistratie Adressen en Gebouwen (BAG) en de Basisregistratie Kadaster (BRK). Deze gegevens worden beheerd door respectievelijk gemeenten en het Kadaster, en worden regelmatig bijgewerkt. Energielabelgegevens komen uit de database van de Rijksdienst voor Ondernemend Nederland (RVO).
