
Bosstraat 102-A is gelegen in de plaats Swalmen, de gemeente Roermond en de provincie Limburg. Het verblijfsobject is 109 m² groot en bevindt zich op een perceel met een oppervlakte van 1250 m². Gemiddeld hebben adressen in Nederland een oppervlakte van 119 m². Het adres is klein vergeleken met andere objecten in de straat. Het grootste object in de straat heeft een oppervlakte van 6,0 ha, het kleinste is 35 m² groot. Het gebouw waarin Bosstraat 102-A ligt komt uit het jaar 1964. Objecten die gebouwd zijn vóór 1965 classificeren we hier als oud. Vergeleken met de andere panden in de straat is dit gebouw nieuw. Het vroegste bouwjaar is er 1876 en het laatste is 2025. De volgende gebruiksdoelen zijn geregistreerd voor dit adres: 'woonfunctie'.
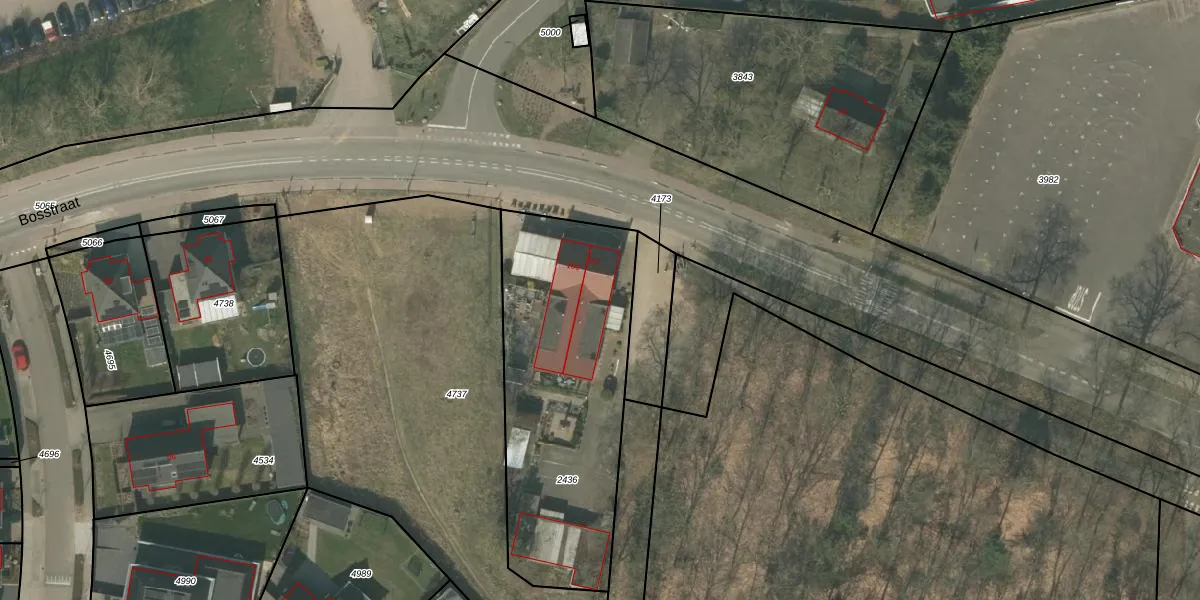
Het adres ligt op het perceel SMN02-B-2436, dat zich in de kadastrale gemeente Swalmen bevindt. Het perceel is 1250 m² groot. Dat is kleiner dan de gemiddelde perceeloppervlakte in Swalmen, dat op 3668,16 m² ligt. Het kleinste perceel in de kadastrale gemeente is 0 m² groot. De grootste perceeloppervlakte is 46,5 ha. Er zijn 3 adressen aanwezig op het perceel. De laatste wijziging in het de Basisregistratie Kadaster (BRK) was op 15-12-2009.
Er is geen energielabel geregistreerd voor het adres. Het hoogste energielabel in de straat is A++++; het laagste is G. Het gemiddelde energielabel is er B. Het adres Bosstraat 102-A heeft als status: 'verblijfsobject in gebruik'. Het pand waarin dit adres ligt heeft als status: 'pand in gebruik'.
Bosstraat 102-A is een adres gelegen in de gemeente Roermond, provincie Limburg. Dit adres is geregistreerd in de Basisregistratie Adressen en Gebouwen (BAG) met als unieke identificatie 0957010000306216.
Het pand op Bosstraat 102-A is gebouwd in 1964, wat betekent dat het 62 jaar oud is. Dit is een ouder pand. Het pand heeft mogelijk aanzienlijke renovaties nodig om aan de huidige standaarden te voldoen.
De woning op Bosstraat 102-A heeft een gebruiksoppervlakte van 109 m². Dit is onder het gemiddelde vergeleken met de gemiddelde Nederlandse woning, die een oppervlakte heeft van ongeveer 119 m². De gebruiksoppervlakte is de maat die wordt gebruikt in de BAG-registratie, de landelijke registratie van de Nederlandse overheid.
Bosstraat 102-A heeft als functie: wonen. Deze gebruiksfunctie(s) zijn vastgelegd in de BAG-registratie en geven aan waarvoor het adres officieel mag worden gebruikt.
Bosstraat 102-A is gelegen op kadastraal perceel SMN02B2436. Deze kadastrale aanduiding is uniek en wordt gebruikt door het Kadaster om eigendomsrechten en andere zakelijke rechten vast te leggen. Het perceel maakt onderdeel uit van de kadastrale gemeente Swalmen.
Het perceel waarop Bosstraat 102-A staat heeft een oppervlakte van 1250 m². Dit is een zeer groot perceel. De perceeloppervlakte wordt geregistreerd door het Kadaster. Gedetailleerde informatie over de maten van dit perceel kunt u vinden in het rapport Kadastrale kaart met maatvoering van Bosstraat 102-A.
De eigenaar van Bosstraat 102-A is op te vragen op deze pagina.
De informatie over dit adres is afkomstig uit officiële overheidsregistraties, voornamelijk de Basisregistratie Adressen en Gebouwen (BAG) en de Basisregistratie Kadaster (BRK). Deze gegevens worden beheerd door respectievelijk gemeenten en het Kadaster, en worden regelmatig bijgewerkt. Energielabelgegevens komen uit de database van de Rijksdienst voor Ondernemend Nederland (RVO).
