
Broekhuizerweg 15 is een adres in Swolgen, dat zich bevindt binnen de gemeentegrenzen van Swolgen en de grenzen van de provincie Limburg. De oppervlakte bedraagt 258 m², waarmee het adres groter dan gemiddeld is. De grootte van het perceel waarop het adres ligt is 1633 m². De oppervlakte van dit adres is groot vergeleken met de oppervlaktes van andere adressen in de straat. De kleinste oppervlakte bedraagt er 92 m², de grootste 499 m². De meeste Nederlandse gebouwen zijn gebouwd in de periode 1965-1984. Zo ook het pand waarin Broekhuizerweg 15 ligt, dat gebouwd is in 1978. Veel andere gebouwen in de straat zijn ouder dan dit pand. Het oudste pand komt uit het jaar 1899 en het nieuwste uit 2015. De volgende gebruiksdoelen zijn geregistreerd voor dit adres: 'woonfunctie'.
Deze woning is voor het laatst verkocht op 1 januari 1996. Meer informatie over deze transactie? Bestel het Woningtransactierapport om de verkoopprijs en andere informatie te zien.
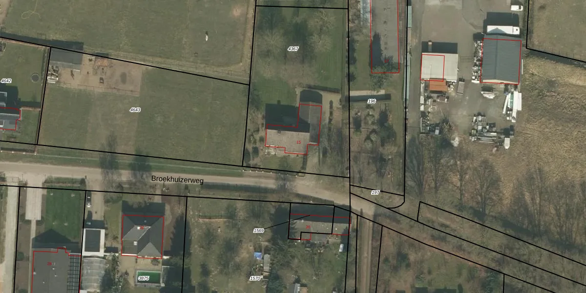
Het adres ligt op het perceel MLO02-B-4367, dat zich in de kadastrale gemeente Meerlo bevindt. Het perceel is 1633 m² groot. Dat is kleiner dan de gemiddelde perceeloppervlakte in Meerlo, dat op 5197,27 m² ligt. De grootste perceeloppervlakte in de kadastrale gemeente is 17,0 ha. De kleinste oppervlakte bedraagt 0 m². Er zijn geen andere adressen aanwezig op het perceel. De huidige grenzen van het perceel zijn digitaal in de Basisregistratie Kadaster (BRK) geregistreerd op 30-06-2011.
Er is geen energielabel geregistreerd voor het adres. Het hoogste energielabel in de straat is A+; het laagste is G. Het gemiddelde energielabel is er C. Het adres Broekhuizerweg 15 heeft als status: 'verblijfsobject in gebruik'. Het pand waarin dit adres ligt heeft als status: 'pand in gebruik'.
Broekhuizerweg 15 is een adres gelegen in de gemeente Horst aan de Maas, provincie Limburg. Dit adres is geregistreerd in de Basisregistratie Adressen en Gebouwen (BAG) met als unieke identificatie 1507012000000255.
Het pand op Broekhuizerweg 15 is gebouwd in 1978, wat betekent dat het 48 jaar oud is. Dit is een pand van middelbare leeftijd. Het pand is van gemiddelde leeftijd en zal waarschijnlijk verouderde elementen bevatten.
De woning op Broekhuizerweg 15 heeft een gebruiksoppervlakte van 258 m². Dit is ruim vergeleken met de gemiddelde Nederlandse woning, die een oppervlakte heeft van ongeveer 119 m². De gebruiksoppervlakte is de maat die wordt gebruikt in de BAG-registratie, de landelijke registratie van de Nederlandse overheid.
Broekhuizerweg 15 heeft als functie: wonen. Deze gebruiksfunctie(s) zijn vastgelegd in de BAG-registratie en geven aan waarvoor het adres officieel mag worden gebruikt.
Broekhuizerweg 15 is gelegen op kadastraal perceel MLO02B4367. Deze kadastrale aanduiding is uniek en wordt gebruikt door het Kadaster om eigendomsrechten en andere zakelijke rechten vast te leggen. Het perceel maakt onderdeel uit van de kadastrale gemeente Meerlo.
Het perceel waarop Broekhuizerweg 15 staat heeft een oppervlakte van 1633 m². Dit is een zeer groot perceel. De perceeloppervlakte wordt geregistreerd door het Kadaster. Gedetailleerde informatie over de maten van dit perceel kunt u vinden in het rapport Kadastrale kaart met maatvoering van Broekhuizerweg 15.
De eigenaar van Broekhuizerweg 15 is op te vragen op deze pagina.
De informatie over dit adres is afkomstig uit officiële overheidsregistraties, voornamelijk de Basisregistratie Adressen en Gebouwen (BAG) en de Basisregistratie Kadaster (BRK). Deze gegevens worden beheerd door respectievelijk gemeenten en het Kadaster, en worden regelmatig bijgewerkt. Energielabelgegevens komen uit de database van de Rijksdienst voor Ondernemend Nederland (RVO).
